TOP
|
特許
|
意匠
|
商標
特許ウォッチ
Twitter
他の特許を見る
10個以上の画像は省略されています。
公開番号
2025149949
公報種別
公開特許公報(A)
公開日
2025-10-08
出願番号
2025049378
出願日
2025-03-25
発明の名称
走査電子顕微鏡における固体電池のエアレス移送及び電気的試験
出願人
エフ イー アイ カンパニ
,
FEI COMPANY
代理人
弁理士法人ITOH
主分類
H01J
37/20 20060101AFI20251001BHJP(基本的電気素子)
要約
【課題】顕微鏡チャンバ内にサンプルを配置するための装置を提供する。
【解決手段】装置は、ベース部材と、ベース部材に結合されたサンプル支持アセンブリと、を含むサンプルキャリアを含み、サンプル支持アセンブリは、ホルダ受容部分内のサンプルを圧縮するように構成された対向する第1及び第2のホルダ部分を有するホルダを含み、ベース部材は、顕微鏡チャンバ内のサンプルステージに係合するように構成されている。方法は、顕微鏡チャンバ内にサンプルキャリアを固定することと、チャンバ内の電気的結合を少なくとも部分的に介して、サンプルを充電/放電することと、を含む。
【選択図】図2A
特許請求の範囲
【請求項1】
装置であって、
ベース部材と、前記ベース部材に結合されたサンプル支持アセンブリと、を含むサンプルキャリアを備え、前記サンプル支持アセンブリは、ホルダ受容部分内のサンプルを圧縮するように構成された対向する第1及び第2のホルダ部分を有するホルダを含み、前記ベース部材は、顕微鏡チャンバ内のサンプルステージに係合するように構成されている、装置。
続きを表示(約 820 文字)
【請求項2】
前記ベース部材は、前記サンプルステージに摺動可能に係合するように構成された摺動部材を含み、前記摺動部材は、前記サンプルキャリアを前記顕微鏡チャンバ内の摺動可能に係合された位置で停止させる停止部を含む、請求項1に記載の装置。
【請求項3】
前記第1及び第2のホルダ部分の各々は、それぞれのサンプル電極に係合するように前記サンプルに面する、第1のホルダ電気接点及び第2のホルダ電気接点をそれぞれ含む、請求項1に記載の装置。
【請求項4】
前記第1のホルダ部分は、前記サンプルに圧縮力を加える圧縮アクチュエータを含む、請求項3に記載の装置。
【請求項5】
前記圧縮アクチュエータは、圧電アクチュエータである、請求項4に記載の装置。
【請求項6】
前記第1及び第2のホルダ部分は、万力を備える、請求項1に記載の装置。
【請求項7】
前記サンプルキャリアは、前記ベース部材が前記顕微鏡チャンバ内で前記サンプルステージと係合された状態で前記サンプルステージに電気的に結合されるように構成された電気的係合部分を含む、請求項4に記載の装置。
【請求項8】
前記サンプルステージへの前記の電気的な結合は、前記電気的係合部分の接触面と前記サンプルステージの対応する嵌合接触面との間の摺動可能な接触を介する、請求項7に記載の装置。
【請求項9】
前記電気的係合部分は、前記サンプルステージへの前記の電気的な結合を提供するように構成された係合接触ピン又は受容孔を含む、請求項7に記載の装置。
【請求項10】
前記サンプルキャリアは、前記第1のホルダ部分の少なくとも一部を前記電気的係合部分に電気的に結合する、少なくとも1つの導電性経路を含む、請求項7に記載の装置。
(【請求項11】以降は省略されています)
発明の詳細な説明
【技術分野】
【0001】
本分野は、制御された環境におけるサンプル試験である。
続きを表示(約 2,800 文字)
【背景技術】
【0002】
多くの荷電粒子ビーム顕微鏡及び処理用途では、サンプルは、環境間のクリーンな搬送とともに、荷電粒子ビーム顕微鏡の真空制御チャンバとは別個の環境内での処理を必要とする。残念ながら、既存の解決策は、多くの場合、サンプルの清浄度又は他の必要とされるサンプル条件を維持することができず、又はそれらは、サンプルを処理又は試験するために骨の折れる又は非効率的なステップを必要とする。これらの問題は、電池及び電池関連サンプルにおいて特に顕著である。したがって、これらの欠点を改善する改良された技術及び装置が依然として必要とされている。
【発明の概要】
【0003】
開示される技術の態様によると、装置は、ベース部材と、ベース部材に結合されたサンプル支持アセンブリと、を含むサンプルキャリアを含み、サンプル支持アセンブリは、ホルダ受容部分内のサンプルを圧縮するように構成された対向する第1及び第2のホルダ部分を有するホルダを含み、ベース部材は、顕微鏡チャンバ内のサンプルステージに係合するように構成されている。
【0004】
開示される技術の別の態様によると、装置は、顕微鏡チャンバ内のステージに結合するベース部材を有し、ベース部材に結合された受容部分を有する支持体を含むサンプルキャリアレシーバを含み、受容部分は、ベース部材に対して斜角で延在する摺動マウントを含み、摺動マウントとの摺動可能な係合を通じて顕微鏡チャンバ内のサンプルステージに対してサンプルキャリアを受容して固定し、受容部分は、電気的係合部分を含み、電気的係合部分は、サンプルキャリアの電気的係合部分に結合し、サンプルキャリアからステージを通る導電性経路を提供する。
【0005】
開示される技術の別の態様によると、方法は、エアレス移送カプセルであって、エアレス移送カプセルは、サンプルキャリアを貯蔵する、エアレス移送カプセルを顕微鏡真空チャンバのエアレス移送カプセル移送ポートと係合させることと、真空チャンバ内に位置するサンプルステージに取り付けられたサンプルキャリアレシーバ内にサンプルキャリアを移動させることによって、サンプルキャリアをエアレス移送カプセルから顕微鏡真空チャンバ内に挿入することと、サンプルキャリア上の電気的係合部分とサンプルキャリアレシーバ上の電気的係合部分とを電気的に結合することと、を含む。
【0006】
開示される技術の更なる態様によると、方法は、サンプルキャリアであって、サンプルキャリアは、摺動部材と、摺動部材に結合されるサンプル支持アセンブリと、を含み、サンプル支持アセンブリは、ホルダ受容部分内のサンプルを圧縮するように構成された対向する第1及び第2のホルダ部分を有するホルダを含む、サンプルキャリアを、顕微鏡チャンバ内のサンプルステージに固定し、固定することは、摺動部材をサンプルステージに結合されるサンプルキャリアレシーバに摺動可能に係合し、サンプルキャリア及びサンプルキャリアレシーバのそれぞれの電気的係合部分を電気的に結合することと、電気的結合を少なくとも部分的に介してサンプルを充電及び/又は放電することと、を含む。
【0007】
開示される技術の前述及び他の目的、特徴、及び利点は、添付の図面を参照して進められる以下の詳細な説明からより明らかになるであろう。
【図面の簡単な説明】
【0008】
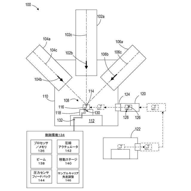
例示的な荷電粒子ビーム顕微鏡の概略図である。
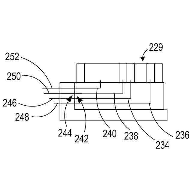
例示的なサンプルキャリア及びレシーバシステムの側面概略図である。
例示的なサンプルキャリア及びレシーバシステムの側面概略図である。
例示的なサンプルキャリア及びレシーバシステムの側面概略図である。
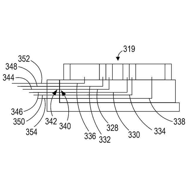
別の例示的なサンプルキャリア及びレシーバシステムの側面概略図である。
別の例示的なサンプルキャリア及びレシーバシステムの側面概略図である。
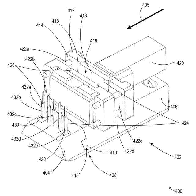
サンプルレシーバに係合されたサンプルキャリアの斜視図である。
角度付き構成を有するサンプルレシーバに係合された別のサンプルキャリアの斜視図である。
サンプルキャリアをエアレス移送カプセルから真空チャンバの中に移送する例示的な方法のフローチャートである。
電池サンプルを処理及び実験する例示的な方法のフローチャートである。
【発明を実施するための形態】
【0009】
代表的な例は、真空制御されたシャトル搬送システムを使用して、走査電子顕微鏡(scanning electron microscope、SEM)内の固体電池の電気的試験及び圧縮を可能にする。本明細書では、「真空制御」は、一般に、選択された種(空気、窒素、不活性ガスなど)に関してなど、内部容積内の真空のレベルを制御する能力を有するシステムを指す。圧電アクチュエータのような小さな圧縮要素が、真空制御シャトル搬送システムのシャトルの一部に組み込まれる。次いで、圧縮要素を使用して、例えば、いくつかの例では、同時SEM撮像中を含む、SEMの真空制御チャンバ内で電気的試験中の固体電池又はコインセルのサンプルを圧縮することができる。様々な例は、真空制御シャトル搬送システムを使用した固体電池サンプルのエアレス移送、SEMにおける電気的試験(例えば、充電及び放電サイクル)、固体電池サンプルの電極に作用する圧縮圧力の制御(例えば、MPaの単位で)、及び/又は同時SEM撮像を組み合わせることができる。例は、圧縮圧力及び充電/放電パラメータの変動に関する電池構造変化のSEM撮像を提供するために効果的であり得る。
【0010】
固体電池(solid-state battery、SSB)は、イオン搬送のために液体電解質に依存する現在の電池と比較して、増加した電力密度、低減されたサイズ、及び低減された重量をもたらすことができる、有望な新興技術である。SSBは、イオンが移動する媒体として動作するアノードとカソードとの間の固体セパレータを含む。加えて、アノード又はカソードのうちの1つ以上は、リチウム金属などの材料の固体連続層から形成されることができる。SSBの動作中、イオン搬送は、アノード上に追加の固体材料(例えば、リチウム金属)の蓄積をもたらす可能性がある。例えば、アノードの厚さは、充電中に数十ミクロンだけ変化し得る。SSB製造の重要な課題の1つは、層(例えば、アノード、セパレータ、及びカソード)間の良好な接触を確実にするために十分な封じ込めを有する一方で、充電及び放電中のアノード層のサイズの膨張及び収縮も可能にする電池構造を製造することである。
(【0011】以降は省略されています)
この特許をJ-PlatPat(特許庁公式サイト)で参照する
関連特許
APB株式会社
蓄電セル
28日前
東ソー株式会社
絶縁電線
1か月前
マクセル株式会社
電源装置
22日前
株式会社東芝
端子台
22日前
日新イオン機器株式会社
イオン源
1か月前
ローム株式会社
半導体装置
29日前
三菱電機株式会社
回路遮断器
9日前
株式会社GSユアサ
蓄電装置
23日前
株式会社GSユアサ
蓄電装置
1日前
株式会社GSユアサ
蓄電装置
23日前
富士電機株式会社
電磁接触器
1日前
株式会社GSユアサ
蓄電装置
15日前
株式会社ホロン
冷陰極電子源
1か月前
日新イオン機器株式会社
基板処理装置
25日前
日本特殊陶業株式会社
保持装置
1か月前
日本特殊陶業株式会社
保持装置
14日前
トヨタ自動車株式会社
蓄電装置
23日前
トヨタ自動車株式会社
冷却構造
1か月前
トヨタ自動車株式会社
バッテリ
28日前
北道電設株式会社
配電具カバー
28日前
トヨタ自動車株式会社
密閉型電池
24日前
トヨタ自動車株式会社
電池パック
1か月前
株式会社トクヤマ
シリコンエッチング液
1か月前
ローム株式会社
半導体モジュール
2日前
住友電装株式会社
コネクタ
1日前
日亜化学工業株式会社
半導体レーザ素子
25日前
矢崎総業株式会社
コネクタ
1日前
日本無線株式会社
レーダアンテナ
16日前
株式会社トクヤマ
シリコンエッチング液
1か月前
株式会社デンソー
電子装置
25日前
トヨタ自動車株式会社
電池パック
1か月前
ヒロセ電機株式会社
電気コネクタ
1日前
株式会社レゾナック
冷却器
9日前
甲神電機株式会社
変流器及び零相変流器
16日前
ローム株式会社
半導体装置
1か月前
住友電装株式会社
コネクタ
1か月前
続きを見る
他の特許を見る