TOP
|
特許
|
意匠
|
商標
特許ウォッチ
Twitter
他の特許を見る
公開番号
2025147702
公報種別
公開特許公報(A)
公開日
2025-10-07
出願番号
2024048086
出願日
2024-03-25
発明の名称
耐震用の固定具
出願人
株式会社枚方技研
代理人
個人
,
個人
,
個人
,
個人
主分類
A47B
97/00 20060101AFI20250930BHJP(家具;家庭用品または家庭用設備;コーヒーひき;香辛料ひき;真空掃除機一般)
要約
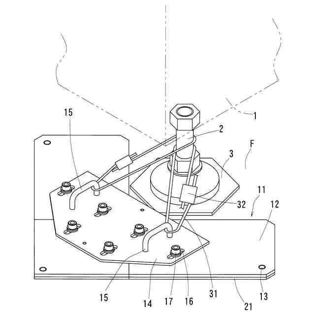
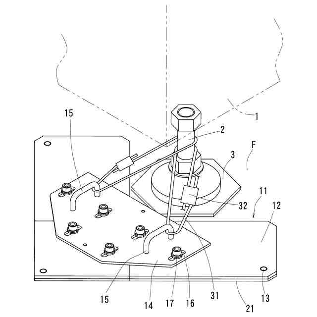
【課題】取り付けやすく安定性に優れた耐震用の固定具を提供する。
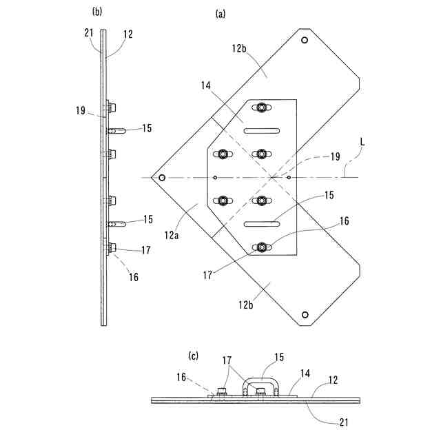
【解決手段】金属製の平板12と、平板12の下面に設けられた粘着弾性シート21と、平板12に対して固定された2つ以上の引掛部15と、を有する耐震用の固定具11を用いる。
【選択図】図1
特許請求の範囲
【請求項1】
金属製の平板と、
前記平板の下面に設けられた粘着弾性シートと、
前記平板に対して固定された、2つ以上の引掛部と、
を有する耐震用の固定具。
続きを表示(約 300 文字)
【請求項2】
前記平板が屈曲部を有し、前記引掛部のうちの2つは前記屈曲部を挟んで設けられている、請求項1に記載の耐震用の固定具。
【請求項3】
前記引掛部に掛けられたそれぞれ1本以上のワイヤーと、
前記ワイヤーの長さを調整する調整具と、
を有する請求項1又は2に記載の耐震用の固定具。
【請求項4】
対称線を有する、請求項3に記載の耐震用の固定具を用い、
固定する機器の脚部を前記対称線の延長線上に配置し、
2つ以上の前記引掛部から掛けられた合計2本以上となる前記ワイヤーを前記脚部に繋いで、前記機器を固定する、機器の固定方法。
発明の詳細な説明
【技術分野】
【0001】
この発明は、地震の際に家具や機器の転倒や位置ずれを防止する固定具に関する。
続きを表示(約 1,300 文字)
【背景技術】
【0002】
大地震の際には家具や大型機器などが倒れたり、大きく位置ずれを起こしたりすることがある。これを防ぐため、床や壁に取り付けた固定具にワイヤーの一端を引っ掛け、そのワイヤーを家具や機器の脚部に引っ掛けて固定することが、従来より多く行われている。例えば特許文献1には電算機などの機器をワイヤーとその長さを伸縮し得る緊締具によって下床に定着した基礎台に固定して耐震を実現することが提案されている。
【先行技術文献】
【特許文献】
【0003】
実開昭59-010429号公報
【発明の概要】
【発明が解決しようとする課題】
【0004】
しかしながら、特許文献1に記載のような固定具は床面への固定に大きな手間がかかり、一旦設置してしまうとその場所から動かすことが極めて難しくなってしまう。また、一つの固定具から固定すべき機器等へ延ばすワイヤーが一本であると、地震の揺れの方向次第では十分に固定しきれずに、機器が転倒しないまでも大きく揺れて位置がずれてしまう懸念があった。
【0005】
そこでこの発明は、取り付けやすく安定性に優れた耐震用の固定具を提供することを目的とする。
【課題を解決するための手段】
【0006】
この発明は、
金属製の平板と、
前記平板の下面に設けられた粘着弾性シートと、
前記平板に対して固定された、2つ以上の引掛部と、
を有する耐震用の固定具である第一の解決手段により上記の課題を解決したのである。
【0007】
また、この発明は第一の解決手段に加えて、
前記平板が屈曲部を有し、前記引掛部のうちの2つは前記屈曲部を挟んで設けられている、第二の解決手段を採用できる。
【0008】
さらに、この発明は第一又は第二の解決手段に加えて、
前記引掛部に掛けられたそれぞれ1本以上のワイヤーと、
前記ワイヤーの長さを調整する調整具と、
を有する第三の解決手段を採用できる。
【0009】
さらにこの発明は、対称線を有する第三の解決手段にかかる固定具を用い、
固定する機器の脚部を前記対称線の延長線上に配置し、
2つ以上の前記引掛部から掛けられた合計2本以上となる前記ワイヤーを前記脚部に繋いで、前記機器を固定する、機器の固定方法を選択できる。
【発明の効果】
【0010】
この発明にかかる固定具を用いると、床面に対する固定が粘着弾性シートによるので、床面に対して穴あけやねじ止めなどの不可逆的な作業を行わずに済み、不要になったときや位置変更をしたいときには床面から剥がして、取り付け直すこともできる。さらに、平板と床面との間に粘着弾性シートが介在することによって、微細な振動に対して防振効果も発揮できる。その上でワイヤーを介して固定すべき機器を繋ぎとめるため、固定具自身からの揺れが機器に影響を及ぼすことはほとんどなく、安全性が高い。
(【0011】以降は省略されています)
この特許をJ-PlatPat(特許庁公式サイト)で参照する
関連特許
株式会社枚方技研
方向付き楽器固定具
15日前
個人
箸
1か月前
個人
家具
4か月前
個人
椅子
3か月前
個人
自助箸
7か月前
個人
掃除機
8か月前
個人
体洗い具
10か月前
個人
ソファー
2か月前
個人
屋外用箒
7か月前
個人
ハンガー
7か月前
個人
耳拭き棒
11か月前
個人
多用途紐
1か月前
個人
枕
8か月前
個人
掃除道具
8か月前
個人
掃除用具
3か月前
個人
枕
5か月前
個人
省煙消臭器
8か月前
個人
開閉トング
6か月前
個人
物品
3か月前
個人
掃除シート
9か月前
個人
片手代替具
11か月前
個人
組立式棚板
7か月前
個人
シャワー装置
6か月前
個人
中身のない枕
7か月前
個人
バターナイフ
1か月前
個人
洗面台
10か月前
個人
転倒防止装置
5か月前
個人
ゴミ袋保持枠
7か月前
個人
経典表示装置
4か月前
個人
受け皿
5か月前
個人
紙コップ 蓋
2か月前
個人
靴ベラ
2か月前
個人
組立家具
9か月前
個人
首支持具
3か月前
個人
コーヒー抽出器
4か月前
個人
汚水漏れ防止具
10か月前
続きを見る
他の特許を見る