TOP
|
特許
|
意匠
|
商標
特許ウォッチ
Twitter
他の特許を見る
10個以上の画像は省略されています。
公開番号
2025147397
公報種別
公開特許公報(A)
公開日
2025-10-07
出願番号
2024047630
出願日
2024-03-25
発明の名称
微粒子サンプリング装置
出願人
パナソニックIPマネジメント株式会社
代理人
個人
,
個人
主分類
C12M
1/26 20060101AFI20250930BHJP(生化学;ビール;酒精;ぶどう酒;酢;微生物学;酵素学;突然変異または遺伝子工学)
要約
【課題】捕集液の汚染を抑制した微粒子サンプリング装置を提供する。
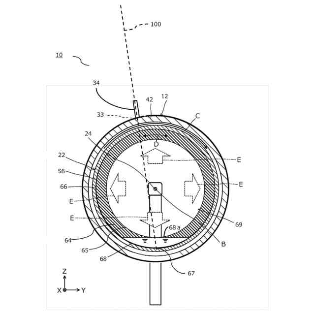
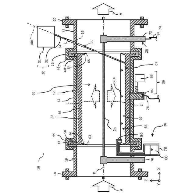
【解決手段】微粒子を液体中にサンプリングする微粒子サンプリング装置10であって、筒状である第1電極22と、第1電極22の軸心方向に延び、第1電極22内において第1電極22の内面66と間隔を空けて配置される第2電極24と、第1電極22を囲むダクト12と、ダクト12の一端に接続される第1筒部19と、ダクト12の他端に接続される第2筒部21と、第1電極22と第2電極24との間に電圧を印加する電圧印加部26と、第1電極22を回転させる駆動部36と、を備え、第1筒部19または第2筒部21は、貫通孔33を有し、貫通孔33は、第1電極22の軸心周りの方向における内面66の一部に貯留された液体68の液面68aよりも上方に位置し、貫通孔33は、貫通孔33を介して液体68を回収するための孔である。
【選択図】図6
特許請求の範囲
【請求項1】
微粒子を液体中にサンプリングする微粒子サンプリング装置であって、
筒状であり、その軸心方向の両端部が開口している第1電極と、
前記第1電極の軸心方向に延び、前記第1電極内において前記第1電極の内面と間隔を空けて配置される第2電極と、
前記第1電極を囲むダクトと、
前記ダクトの一端に接続される第1筒部と、
前記ダクトの他端に接続される第2筒部と、
前記第1電極と前記第2電極との間に電圧を印加する電圧印加部と、
前記第1電極を回転させる駆動部と、を備え、
前記第1筒部または前記第2筒部は、貫通孔を有し、
前記貫通孔は、前記第1電極の軸心周りの方向における前記内面の一部に貯留された前記液体の液面よりも上方に位置し、
前記貫通孔は、前記貫通孔を介して前記液体を回収するための孔である、
微粒子サンプリング装置。
続きを表示(約 660 文字)
【請求項2】
前記軸心方向から見たとき、
前記貫通孔を通る直線を回収直線とすると、
前記回収直線は、前記液面と交差し、
前記回収直線が前記内面の最下点を通る場合、前記回収直線と前記第2電極は交差しない、
請求項1に記載の微粒子サンプリング装置。
【請求項3】
前記貫通孔にガイドチューブを設け、
前記ガイドチューブは、前記回収直線の方向を固定する、
請求項2に記載の微粒子サンプリング装置。
【請求項4】
前記第1電極は、主要部、第1内鍔部、および第2内鍔部を含み、
前記第1内鍔部は、前記主要部の前記軸心方向の一端部から前記主要部の径方向の内方に突出しており、前記軸心周りに環状であり、
前記第2内鍔部は、前記主要部の前記軸心方向の他端部から前記主要部の径方向の内方に突出しており、前記軸心周りに環状であり、
前記ガイドチューブの最も前記内方にある部分を最内部分とすると、
前記最内部分は、前記第1内鍔部の先端または前記第2内鍔部の先端よりも前記主要部の径方向の外方に位置する、
請求項3に記載の微粒子サンプリング装置。
【請求項5】
前記液体を回収する回収機を備え、
前記回収機は、回収チューブおよび回収部を含み、
前記回収チューブは、前記貫通孔を介して前記液面に到達可能である、
請求項1~4の何れか1項に記載の微粒子サンプリング装置。
発明の詳細な説明
【技術分野】
【0001】
本開示は、微粒子をサンプリングする微粒子サンプリング装置に関する。
続きを表示(約 1,600 文字)
【背景技術】
【0002】
従来、微粒子のもつ慣性あるいは遠心力を利用した装置を用いて、気体中の微粒子をサンプリングする装置および方法が知られている(例えば、特許文献1参照)。より詳細には、特許文献1には、内部に捕集用の液体(捕集液)が供給された回転円筒電極により静電気力を生じさせ、微粒子などの捕集対象物を空気から分離して液体中に捕集する装置および方法が開示されている。
【先行技術文献】
【特許文献】
【0003】
国際公開第2021/153155号
【発明の概要】
【発明が解決しようとする課題】
【0004】
このような従来の微粒子サンプリング装置では、繰り返しサンプリングを行う場合、毎回同じ回収部で捕集液の回収を行う。このため、前回のサンプリングにより捕集した微粒子の残渣物が、回収部に残ってしまうことが懸念される。したがって、繰り返しのサンプリングを行った場合、回収した捕集液が前回の回収した捕集液で汚染されるおそれがある。このような場合、捕集液の分析の際に、正確な情報が得られないという課題があった。
【0005】
本発明は、上記従来の課題に鑑みてなされたものであり、その目的は、微粒子をサンプリングする装置において、円筒電極の内部に貯留される捕集液を回収する際に、前回の捕集液を回収する動作に起因する捕集液の汚染を抑制可能な回収技術を提供することにある。
【課題を解決するための手段】
【0006】
本発明の一様態に係る微粒子サンプリング装置は、微粒子を液体中にサンプリングする微粒子サンプリング装置であって、筒状であり、その軸心方向の両端部が開口している第1電極と、第1電極の軸心方向に延び、第1電極内において第1電極の内面と間隔を空けて配置される第2電極と、第1電極を囲むダクトと、ダクトの一端に接続される第1筒部と、 ダクトの他端に接続される第2筒部と、第1電極と第2電極との間に電圧を印加する電圧印加部と、第1電極を回転させる駆動部と、を備え、第1筒部または第2筒部は、貫通孔を有し、貫通孔は、第1電極の軸心周りの方向における内面の一部に貯留された前記液体の液面よりも上方に位置し、貫通孔は、貫通孔を介して前記液体を回収するための孔である。
【発明の効果】
【0007】
本発明によれば、捕集液の汚染を抑制した微粒子サンプリング装置を提供できる。
【図面の簡単な説明】
【0008】
図1は、実施の形態1に係る微粒子サンプリング装置の外観を示す斜視図である。
図2は、図1の微粒子サンプリング装置の外観を示す側面図である。
図3は、図1のIII-III線断面図である。
図4は、図1のIV-IV線端面図である。
図5は、実施の形態1に係る回収機の一例を示す側面図である。
図6は、図1の微粒子サンプリング装置に図5の回収機を挿入したときのIII-III線断面図である。
図7は、図1の微粒子サンプリング装置に図5の回収機を挿入したときのIV-IV線端面図である。
図8は、図1の微粒子サンプリング装置の構成を示すブロック図である。
図9は、図1のIII-III線断面図であり、図1の微粒子サンプリング装置が行う動作の一例を説明するための説明図である。
【発明を実施するための形態】
【0009】
以下、本開示の実施の形態について、図面を参照しながら説明する。
【0010】
ただし、本開示に係る微粒子サンプリング装置は、以下に説明する実施の形態あるいは図面に記載される構成に限定されることを意図せず、それらと同等な構成も含む。
(【0011】以降は省略されています)
この特許をJ-PlatPat(特許庁公式サイト)で参照する
関連特許
個人
抗遺伝子劣化装置
1か月前
雪国アグリ株式会社
単糖類の製造方法
6日前
テルモ株式会社
吐出デバイス
1か月前
宝酒造株式会社
アルコール飲料
15日前
東ソー株式会社
pH応答性マイクロキャリア
1か月前
島根県
油吸着材とその製造方法
4日前
テルモ株式会社
容器蓋デバイス
1か月前
トヨタ自動車株式会社
バイオ燃料製造方法
1か月前
株式会社豊田中央研究所
細胞励起装置
13日前
株式会社シャローム
スフィンゴミエリン製造方法
1か月前
テルモ株式会社
採取組織細切補助デバイス
1か月前
新東工業株式会社
培養システム
5日前
株式会社今宮
瓶詰ビールの加熱殺菌方法および装置
1か月前
横河電機株式会社
藻類培養装置
25日前
株式会社村田製作所
濾過装置および濾過方法
5日前
住友金属鉱山株式会社
連続発酵方法及び連続発酵装置
1か月前
株式会社ショウワ
キトサンオリゴマー分画方法
15日前
フジッコ株式会社
エリナシンAの産生方法
6日前
株式会社日本触媒
スフェロイドの輸送方法
11日前
株式会社カネカ
予測方法及び製造方法
7日前
NTN株式会社
細胞配置の制御方法
15日前
住友ベークライト株式会社
培養キット
1か月前
積水化学工業株式会社
遺伝子導入方法
12日前
セイコーエプソン株式会社
菌糸複合材料
6日前
東ソー株式会社
温度応答性マイクロキャリアを用いた拡大培養方法
1か月前
パナソニックIPマネジメント株式会社
微生物処理装置
1か月前
学校法人近畿大学
副甲状腺細胞の培養方法と培養副甲状腺細胞
12日前
ZACROS株式会社
サンプリング容器、及び培養装置
15日前
国立大学法人九州大学
核酸増幅方法
19日前
株式会社バイオジェノミクス
細菌、遺伝子発現上昇剤及び製剤
4日前
パナソニックIPマネジメント株式会社
除菌評価システム
15日前
株式会社リコー
多孔質構造体の製造方法
15日前
サッポロビール株式会社
飲料及びその製造方法
4日前
セイコーエプソン株式会社
生体物質抽出用磁性ビーズ
26日前
デンカ株式会社
重症筋無力症のバイオマーカー
1か月前
日本ハム株式会社
糸状菌の製造方法
5日前
続きを見る
他の特許を見る