TOP
|
特許
|
意匠
|
商標
特許ウォッチ
Twitter
他の特許を見る
公開番号
2025147056
公報種別
公開特許公報(A)
公開日
2025-10-03
出願番号
2025130848,2024520349
出願日
2025-08-05,2023-04-21
発明の名称
果菜植物の栽培方法、果菜植物の栽培装置及びトマト植物
出願人
富士フイルム株式会社
代理人
弁理士法人太陽国際特許事務所
主分類
A01G
7/00 20060101AFI20250926BHJP(農業;林業;畜産;狩猟;捕獲;漁業)
要約
【課題】着果率に優れる果菜植物の栽培方法、果菜植物の栽培装置及びトマト植物の提供。
【解決手段】 着果率が80%以上となる光照射条件により、人工光を果菜植物に照射する果菜植物の栽培方法、果菜植物の栽培装置及びトマト植物。
【選択図】なし
特許請求の範囲
【請求項1】
着果率が80%以上となる光照射条件により、人工光を果菜植物に照射する、果菜植物の栽培方法であって、
前記方法は、前記果菜植物の1つ目の花芽分化確認後、最後の着果確認まで、前記人工光を果菜植物に照射することを含み、
前記人工光の光源が赤色系LED及び青色系LEDを含み、
前記果菜植物の生長点に対して照射される人工光の光強度Itと、前記果菜植物の最下段の葉の中央部に対して照射される人工光の光強度Ibとが、前記果菜植物の1つ目の花芽分化確認後、最後の着果確認まで、0.3≦Ib/It≦0.8の関係にある、栽培方法。
続きを表示(約 330 文字)
【請求項2】
前記果菜植物がトマトである、請求項1に記載の果菜植物の栽培方法。
【請求項3】
果菜植物に人工光を照射する光源と、
前記果菜植物の1つ目の花芽分化確認後、最後の着果確認まで、前記果菜植物の生長点に対して照射される人工光の光強度Itと、前記果菜植物の最下段の葉の中央部に対して照射される人工光の光強度Ibとが、0.3≦Ib/It≦0.8の関係となるよう、前記光源を制御する制御機構と、
を備える、果菜植物の栽培装置であって、
前記人工光の光源が赤色系LED及び青色系LEDを含む、栽培装置。
【請求項4】
請求項1又は請求項2に記載の果菜植物の栽培方法によりトマト植物を生産する方法。
発明の詳細な説明
【技術分野】
【0001】
本開示は、果菜植物の栽培方法、果菜植物の栽培装置及びトマト植物に関する。
続きを表示(約 3,300 文字)
【背景技術】
【0002】
近年、閉鎖された空間の中で、LED(Light Emitting Diode)等の人工光源を使用して野菜等の植物を栽培する人工光型植物工場が注目されている。
人工光型植物工場における植物の栽培は、気候及び天候の影響を受けることがなく、人手不足の問題も解消することができるため、一定した条件の下、一年を通して植物を栽培することができる。
【0003】
トマト、メロン等の果菜植物は背丈が高く、植物工場の空間利用効率の観点から、上面方向から植物体までの距離が遠くなってしまい光利用効率が低下しやすい。そのため、上面方向からの光照射に代えて側面方向からの光照射の実施が検討されている(特開2011-50288号公報参照。)。
【発明の概要】
【発明が解決しようとする課題】
【0004】
しかしながら、本発明者らは今般、側面方向からの光照射により栽培した果菜植物は、その着果率に改善の余地があるとの新たな知見を得た。
本開示の一実施形態が解決しようとする課題は、着果率に優れる果菜植物の栽培方法、果菜植物の栽培装置、及びトマト植物を提供することである。
【課題を解決するための手段】
【0005】
課題を達成するための具体的手段は以下の通りである。
<1> 着果率が80%以上となる光照射条件により、人工光を果菜植物に照射する、果菜植物の栽培方法。
<2> 上記果菜植物がトマトである、上記<1>に記載の果菜植物の栽培方法。
<3> 上記果菜植物の茎の成長方向に対し、0°±30°の方向及び90°±30°の方向から上記人工光を果菜植物に照射する、上記<1>又は<2>に記載の果菜植物の栽培方法。
<4> 上記果菜植物の1つ目の花芽分化確認後、最後の着果確認まで、上記果菜植物の茎の成長方向に対し、0°±30°の方向及び90°±30°の方向から上記人工光を果菜植物に照射する、上記<1>~<3>のいずれか1つに記載の果菜植物の栽培方法。
<5> 上記人工光の照射により、上記果菜植物において、光強度分布を生じさせる、上記<1>~<4>のいずれか1つに記載の果菜植物の栽培方法。
<6> 上記果菜植物の生長点に対して照射される人工光の光強度I
t
と、上記果菜植物の最下段の葉の中央部に対して照射される人工光の光強度I
b
とが、以下の関係にある、上記<5>に記載の果菜植物の栽培方法。
I
b
/I
t
≦0.8
<7>上記果菜植物の1つ目の花芽分化確認後、最後の着果確認まで、光強度分布を生じさせる、上記<1>~<6>のいずれか1つに記載の果菜植物の栽培方法。
<8> 果菜植物の側面方向及び上面方向から人工光を照射する光源と、
上記人工光を上記果菜植物に対して照射する際、光強度分布が生じる光照射条件に制御する制御機構と、
を備える、果菜植物の栽培装置。
<9> 上記制御機構が、上記果菜植物の生長点に対して照射される人工光の光強度I
t
と、上記果菜植物の最下段の葉の中央部に対して照射される人工光の光強度I
b
とが、以下の関係となるよう光照射条件を制御する、上記<8>に記載の果菜植物の栽培装置
I
b
/I
t
≦0.8
<10> 上記<1>~<7>のいずれか1つに記載の果菜植物の栽培方法により栽培されるトマト植物。
【発明の効果】
【0006】
本開示の一実施形態によれば、着果率に優れる果菜植物の栽培方法、果菜植物の栽培装置及びトマト植物を提供することできる。
【図面の簡単な説明】
【0007】
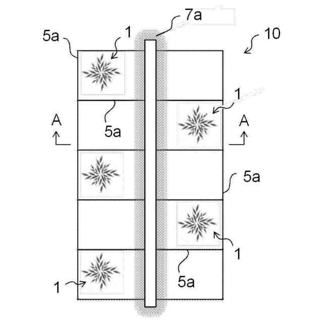
図1は、照明器具を栽培株の間に配置した栽培システムの一例を示す概略上面図である。
図2は、図1のA-A線断面図である。
図3は、断面T字形状を有する照明器具を備えた栽培システムの一例を示す概略断面図である。
【発明を実施するための形態】
【0008】
以下、本開示を実施するための形態について詳細に説明する。但し、本開示は以下の実施形態に限定されない。以下の実施形態において、その構成要素(要素ステップ等も含む)は、特に明示した場合を除き、必須ではない。数値及びその範囲についても同様であり、本開示を制限するものではない。
本開示において「~」を用いて示された数値範囲には、「~」の前後に記載される数値がそれぞれ最小値及び最大値として含まれる。
本開示中に段階的に記載されている数値範囲において、一つの数値範囲で記載された上限値又は下限値は、他の段階的な記載の数値範囲の上限値又は下限値に置き換えてもよい。また、本開示中に記載されている数値範囲において、その数値範囲の上限値又は下限値は、栽培例に示されている値に置き換えてもよい。
本開示において、「果菜植物」とは、果実を収穫物とする植物を意味する。
本開示において、「着果率」は、[着果数/蕾数]×100の式で求められる。本開示において、「着果数」とは、果菜植物において着果した数を指し、「蕾数」とは、果菜植物において着蕾した数を指す。本開示において、着果の判断は、果実における最も短い萼(ヘタ)の全長L
h
に対する、果実における最大横径L
f
の比(L
f
/L
h
)が0.2以上となっているか否かにより行い、0.2以上となっている場合には、着果していると認める。
本開示において、「生長点」とは、果菜植物が有する主枝又は側枝(図示せず)の先端を意味し、茎の先端部にあってその茎の延長部と新しい葉とを作り出す茎頂ともいう。生長点からの距離が5cm以内となる領域を含む。果菜植物が複数本仕立てである場合、生長点は複数存在する。
本開示において、「果菜植物の最下段の葉」とは、果菜植物が有する葉の内、葉の根本部分の茎が最も根に近い葉を意味し、「葉の中央部」とは、葉の全長をXとしたとき、葉の根本より1/2Xとなる部分を意味する、
本開示において、「果菜植物の茎の成長方向」とは、果菜植物の茎の生長点が伸びる方向を意味する。
本開示において、「質量」と「重量」とは同義である。
【0009】
[果菜植物の栽培方法]
本開示の果菜植物の栽培方法は、着果率が80%以上となる光照射条件により、人工光を果菜植物に照射する。光照射条件を最適化することにより、果菜植物の生育が効果的に行え、果菜植物の栽培方法の着果率を向上することができる。本開示の果菜植物の栽培方法は、特に、高い光利用効率及び空間利用効率を維持したまま着果率を向上できる点で有利である。
【0010】
着果率の向上及び空間利用効率の向上という観点から、人工光の照射は、果菜植物において光強度分布を生じさせることが好ましい。光強度分布は、照射する人工光の角度、照射する人工光の照射方向の数、人工光の光強度等を調整することにより生じさせることができる。
着果率の向上及び、栽培コスト低減に直結する光利用効率の向上の観点からは、上記条件の人工光の照射は、果菜植物の1つ目の花芽分化確認後、最後の着果確認までの期間実施することが好ましい。
上記期間以外の期間は、光強度分布が生じないように人工光の照射を行ってもよく、光強度分布が生じるように人工光の照射を行ってもよいが、栽培コストを低減する観点からは、光強度分布が生じないように人工光の照射を行うことが好ましい。
(【0011】以降は省略されています)
この特許をJ-PlatPat(特許庁公式サイト)で参照する
関連特許
富士フイルム株式会社
超音波プローブ
13日前
富士フイルム株式会社
超音波プローブ
13日前
富士フイルム株式会社
超音波プローブ
13日前
富士フイルム株式会社
内視鏡の補助装置
13日前
富士フイルム株式会社
内視鏡補助具の操作装置
17日前
富士フイルム株式会社
混合物、組成物、及び化合物
17日前
富士フイルム株式会社
内視鏡システム及びその作動方法
6日前
富士フイルム株式会社
フタロシアニン化合物の製造方法
17日前
富士フイルム株式会社
ウェブ切換装置及びウェブ切換方法
17日前
富士フイルム株式会社
医療支援装置、方法およびプログラム
17日前
富士フイルム株式会社
センサユニット、及び医用画像撮像装置
13日前
富士フイルム株式会社
医療業務支援装置、方法およびプログラム
3日前
富士フイルム株式会社
X線透視撮像装置、および、画像処理方法
3日前
富士フイルム株式会社
情報処理装置、情報処理方法、及びプログラム
17日前
富士フイルム株式会社
放射線撮影装置、及び放射線撮影装置の制御方法
13日前
富士フイルム株式会社
超音波画像解析装置及び超音波画像解析プログラム
6日前
富士フイルム株式会社
画像表示装置、画像表示方法、及び画像表示プログラム
17日前
富士フイルム株式会社
撮像システム及びプログラム
5日前
富士フイルム株式会社
面圧解析装置、方法、プログラム及び記録媒体
5日前
富士フイルム株式会社
画像処理装置、画像処理方法、及びプログラム
3日前
富士フイルム株式会社
機上現像型平版印刷版原版、及び印刷版の作製方法
10日前
富士フイルム株式会社
情報処理装置、情報処理方法及び情報処理プログラム
10日前
富士フイルム株式会社
セクレトーム含有組成物の生成、並びにその使用及び分析方法
12日前
富士フイルム株式会社
情報処理装置、情報処理装置の作動方法、情報処理装置の作動プログラム、及び情報管理システム
12日前
富士フイルム株式会社
ポリイミド前駆体又はポリアミドイミド前駆体の製造方法、硬化性樹脂組成物の製造方法、硬化性樹脂組成物、及びポリイミド前駆体又はポリアミドイミド前駆体
17日前
個人
草刈り鋏
10日前
個人
虫捕り器
28日前
個人
蠅捕獲器
6日前
個人
刈込鋏保持具
24日前
個人
後付巻降ろし器
28日前
個人
飼育容器
1か月前
個人
草刈機用回転刃
6日前
個人
種子の製造方法
3日前
個人
昆虫捕集器
3日前
個人
イカ釣り用ヤエン
28日前
株式会社丹勝
緑化工法
25日前
続きを見る
他の特許を見る