TOP
|
特許
|
意匠
|
商標
特許ウォッチ
Twitter
他の特許を見る
公開番号
2025155418
公報種別
公開特許公報(A)
公開日
2025-10-14
出願番号
2024059241
出願日
2024-04-01
発明の名称
センサユニット、及び医用画像撮像装置
出願人
富士フイルム株式会社
代理人
個人
,
個人
,
個人
,
個人
,
個人
主分類
A61B
5/0245 20060101AFI20251006BHJP(医学または獣医学;衛生学)
要約
【課題】被検者の移動に起因するセンサユニットの移動が抑制される、センサユニット、及び医用画像撮像装置を提供する。
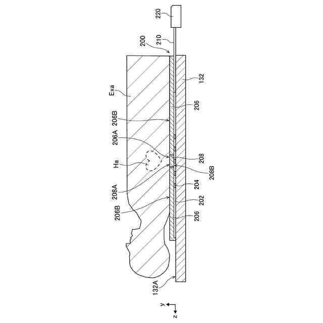
【解決手段】センサユニットは、被検者が乗せられる面に取り付けられ、被検者の心拍を検出するセンサユニットであって、被検者の心拍を検出する1つ以上のセンサ素子が具備されるFBGセンサと、FBGセンサにおける被検者と対向する側と反対の側を固定し、FBGセンサが固定される面が規定の剛性を有する固定部材と、FBGセンサにおける被検者と対向する側を覆い、被検者と対向する側の面におけるセンサ素子に対応する位置にカバー穴が形成される構造を有するカバーと、を備える。
【選択図】図7
特許請求の範囲
【請求項1】
被検者が乗せられる寝台における前記被検者が乗せられる面に取り付けられ、前記被検者の心拍を検出するセンサユニットであって、
前記被検者の心拍を検出する1つ以上のセンサ素子が具備されるファイバブラッググレーティングセンサと、
前記ファイバブラッググレーティングセンサにおける前記被検者と対向する側と反対の側を固定し、前記ファイバブラッググレーティングセンサが固定される面が規定の剛性を有する固定部材と、
前記ファイバブラッググレーティングセンサにおける前記被検者と対向する側を覆い、前記被検者と対向する側の面における前記センサ素子に対応する位置にカバー穴が形成される構造を有するカバーと、
を備える、センサユニット。
続きを表示(約 890 文字)
【請求項2】
前記ファイバブラッググレーティングセンサにおける前記センサ素子に対応する位置であり、前記カバー穴の側の位置に配置され、前記カバー穴から突出する形状を有する接触補助部材を備える、
請求項1に記載のセンサユニット。
【請求項3】
前記接触補助部材は、前記センサユニットが設置される前記寝台の長手方向について、前記被検者に接触させる第1面の長さが、前記センサ素子と接触させる第2面の長さよりも長い、
請求項2に記載のセンサユニット。
【請求項4】
前記ファイバブラッググレーティングセンサにおける前記センサ素子に対応する位置であり、前記固定部材の側の位置に設置され、規定の弾力性を有する第1弾力部材を備える、
請求項1に記載のセンサユニット。
【請求項5】
前記固定部材に設置され、規定の弾力性を有し、前記被検者と接触する厚みを有する第2弾力部材を備える、
請求項1に記載のセンサユニット。
【請求項6】
前記固定部材は、前記寝台に設置され、前記被検者が乗せられるテーブルと兼用される、
請求項1に記載のセンサユニット。
【請求項7】
前記固定部材は、前記寝台に設置されるテーブルにおける前記センサユニットが設置される面の形状に倣う形状を有する、
請求項1に記載のセンサユニット。
【請求項8】
前記カバーは、前記ファイバブラッググレーティングセンサが延在する方向の全長を覆う形状を有する、
請求項1に記載のセンサユニット。
【請求項9】
前記カバーは、前記ファイバブラッググレーティングセンサが延在する方向を長手方向とする形状を有する、
請求項8に記載のセンサユニット。
【請求項10】
前記カバーは、前記ファイバブラッググレーティングセンサが延在する面における平面形状が多角形又は円である、
請求項8に記載のセンサユニット。
(【請求項11】以降は省略されています)
発明の詳細な説明
【技術分野】
【0001】
本開示は、センサユニット、及び医用画像撮像装置に関する。
続きを表示(約 1,600 文字)
【背景技術】
【0002】
MRI装置等の医用画像撮像装置では、心臓の撮像において、通常、心拍をモニタリングし、心拍同期を取りながらMR信号が計測される。また、MRI装置等を用いて、脳及び下肢などの心臓から離れた部位の血行動態撮像をする際にも、心拍のモニタリングが行われる場合がある。なお、MRIは、Magnetic Resonance Imagingの省略語である。
【0003】
心拍のモニタリングを実施する方法として、被検者の心臓近辺の皮膚に導電性ゲルを付着させた電極を設置して、心電波形を計測する方法が挙げられる。心拍のモニタリングを実施する他の方法として、被検者の指先に赤外光を照射した際に、心拍に伴い変化する血流量の変化を赤外光の変化として捉えた脈波形を計測する方法が挙げられる。上記したいずれの方法においても、被検者の心臓の動きが最も大きくなる心室収縮期の心電波形のピーク、及び脈波形のピークを捉えて、MR信号を計測する際の時刻トリガーとする。
【0004】
特許文献1は、FBGセンサを備え、測定部位における脈波に伴う信号を測定部位ごとに分離して検出する光ファイバセンサシステムが記載される。なお、FBGセンサは、ファイバブラッググレーティングセンサの略称である。
【0005】
同文献に記載の光ファイバセンサシステムでは、被検者の胸部等の動脈の伸縮を検出しやすい測定部位の皮膚表面にFBGセンサが貼り付けられ、動脈の伸縮に伴う皮膚表面のわずかな変位をFBGセンサが捉えて、被検者の脈波を検出する。
【0006】
同文献に記載の光ファイバセンサシステムは、FBGセンサを用いて複数箇所の脈波を検出する際に、複数のFBGセンサが直列に配置される光ファイバが使用される。複数のFBGセンサは互いにブラッグ波長が異なる。光ファイバセンサシステムは、光ファイバへ入射させる光がFBGセンサのブラッグ波長を包含する帯域光とされ、各々のFBGセンサの光信号が分離され、検出される。
【0007】
特許文献2は、1つ又は複数の光ファイバブラッグ格子が含まれる感知ファイバーが記載される。同文献の図2には、胴衣に統合される感知ファイバーが図示される。同文献には、被検体の内部を撮像する撮像システムとして磁気共鳴撮像システムが例示される。
【0008】
特許文献3は、呼吸及び拍動等を高精度に検出する方法に用いられる光ファイバ式平板上体センサが記載される。同文献に記載の光ファイバ式平板上体センサは、光ファイバの途中に、光ファイバ回折格子などの特定の波長を反射する複数のフィルタが組み込まれる。また、同文献には、光ファイバ式平板状体センサの設置例として、光ファイバ式平板状体センサがベッドにおけるパッドとマットとの間に設置される態様が記載される。
【0009】
特許文献4は、FBGセンサを用いて脈波を検出し、心拍数を計算するシステムが記載される。同文献には、胸部の表面に取り付けられたFBGセンサを用いて脈波を測定すること、及び複数点センサ部を持つFBGセンサ用いてデータを取得することが記載される。また、同文献には、FBGセンサを妊婦の腹部に固定して測定を行い、測定した波形から胎児信号を測定することが記載される。
【0010】
また、心電計測及び脈波計測以外の心拍のモニタリング方法として、電磁波を使って心臓の形状の変化を計測し、心室収縮期のピークを捉える方法が提案されている。電磁波が使用される心拍のモニタリング方法では、被検者の心臓を撮像する際に心臓の近辺に設置される心臓撮像用受信コイルの一部に心拍モニタリング用アンテナが設置され、RFパルスが印加される際における心臓の形状の変化に伴うアンテナのインピーダンスの変化が計測される。
【先行技術文献】
【特許文献】
(【0011】以降は省略されています)
この特許をJ-PlatPat(特許庁公式サイト)で参照する
関連特許
富士フイルム株式会社
塗布装置
5日前
富士フイルム株式会社
超音波プローブ
1日前
富士フイルム株式会社
超音波プローブ
1日前
富士フイルム株式会社
超音波プローブ
1日前
富士フイルム株式会社
内視鏡の補助装置
1日前
富士フイルム株式会社
内視鏡補助具の操作装置
5日前
富士フイルム株式会社
混合物、組成物、及び化合物
5日前
富士フイルム株式会社
感光性転写材料及びその製造方法
5日前
富士フイルム株式会社
フタロシアニン化合物の製造方法
5日前
富士フイルム株式会社
ウェブ切換装置及びウェブ切換方法
5日前
富士フイルム株式会社
医療支援装置、方法およびプログラム
5日前
富士フイルム株式会社
センサユニット、及び医用画像撮像装置
1日前
富士フイルム株式会社
情報処理装置、情報処理方法、及びプログラム
5日前
富士フイルム株式会社
放射線撮影装置、及び放射線撮影装置の制御方法
1日前
富士フイルム株式会社
画像表示装置、画像表示方法、及び画像表示プログラム
5日前
富士フイルム株式会社
不溶性担体を含む免疫学的測定試薬の製造方法、保存方法、測定対象物質の測定方法、および免疫学的測定試薬
5日前
富士フイルム株式会社
セクレトーム含有組成物の生成、並びにその使用及び分析方法
今日
富士フイルム株式会社
情報処理装置、情報処理装置の作動方法、情報処理装置の作動プログラム、及び情報管理システム
今日
富士フイルム株式会社
ポリイミド前駆体又はポリアミドイミド前駆体の製造方法、硬化性樹脂組成物の製造方法、硬化性樹脂組成物、及びポリイミド前駆体又はポリアミドイミド前駆体
5日前
個人
健康器具
8か月前
個人
鼾防止用具
7か月前
個人
短下肢装具
2か月前
個人
白内障治療法
7か月前
個人
前腕誘導装置
2か月前
個人
マッサージ機
8か月前
個人
導電香
8か月前
個人
嚥下鍛錬装置
3か月前
個人
脈波測定方法
7か月前
個人
排尿補助器具
1日前
個人
洗井間専家。
6か月前
個人
脈波測定方法
8か月前
個人
バッグ式オムツ
4か月前
個人
汚れ防止シート
16日前
個人
ホバーアイロン
6か月前
個人
胸骨圧迫補助具
1か月前
個人
アイマスク装置
1か月前
続きを見る
他の特許を見る