TOP
|
特許
|
意匠
|
商標
特許ウォッチ
Twitter
他の特許を見る
公開番号
2025155295
公報種別
公開特許公報(A)
公開日
2025-10-14
出願番号
2024059048
出願日
2024-04-01
発明の名称
超音波プローブ
出願人
富士フイルム株式会社
代理人
弁理士法人YKI国際特許事務所
主分類
A61B
8/12 20060101AFI20251006BHJP(医学または獣医学;衛生学)
要約
【課題】超音波の放射方向を容易に判別できる超音波プローブを提供する。
【解決手段】体腔に挿入される超音波プローブ10は、超音波を放射する超音波振動子23と、前記超音波振動子23を収容する略円筒形のケース20と、を備え、前記ケース20は、前記超音波の放射方向Dを示す面である方向マーカ34を有し、前記方向マーカ34は、外部から視認可能であり、少なくとも一部が、前記超音波の放射範囲Aeと軸方向に重複する位置に設けられている
【選択図】図2
特許請求の範囲
【請求項1】
体腔に挿入される超音波プローブであって、
超音波を放射する超音波振動子と、
前記超音波振動子を収容する略円筒形のケースと、
を備え、
前記ケースは、前記超音波の放射方向を示す面である方向マーカを有し、
前記方向マーカは、外部から視認可能であり、少なくとも一部が、前記超音波の放射範囲と軸方向に重複する位置に設けられている、
ことを特徴とする超音波プローブ。
続きを表示(約 650 文字)
【請求項2】
請求項1に記載の超音波プローブであって、
前記方向マーカの軸方向範囲は、前記超音波の放射範囲の軸方向範囲と同じであり、
前記方向マーカは、前記超音波の放射範囲を示す範囲マーカとしても機能する、
ことを特徴とする超音波プローブ。
【請求項3】
請求項1または2に記載の超音波プローブであって、
前記方向マーカは、前記超音波の放射方向と平行な面、または、前記超音波の放射方向に直交する面である、ことを特徴とする超音波プローブ。
【請求項4】
請求項3に記載の超音波プローブであって、
前記方向マーカは、前記超音波の放射面の周方向反対側に設けられた略矩形の平面である、ことを特徴とする超音波プローブ。
【請求項5】
請求項4に記載の超音波プローブであって、
前記ケースは、周囲より窪んだ凹部を有し、
前記方向マーカは、前記凹部内に配置されている、
ことを特徴とする超音波プローブ。
【請求項6】
請求項1に記載の超音波プローブであって、
前記ケースは、さらに、前記方向マーカと異なる位置に設けられ、前記超音波の放射範囲を示す1以上の範囲マーカを含む、ことを特徴とする超音波プローブ。
【請求項7】
請求項1に記載の超音波プローブであって、
前記方向マーカの色は、前記ケースの色の反対色である、ことを特徴とする超音波プローブ。
発明の詳細な説明
【技術分野】
【0001】
本明細書は、体腔内に挿入される超音波プローブを開示する。
続きを表示(約 1,300 文字)
【背景技術】
【0002】
従来から、被検体(例えば患者や動物)の臓器の内部の状態を把握するために、体腔に超音波プローブを挿入し、超音波診断する技術が知られている(例えば特許文献1等)。かかる超音波診断では、超音波プローブを臓器表面に接触させ、その状態で、超音波プローブから臓器の内部に向かって超音波を送信するとともに、その反射波を受信する。そして、得られた反射波の信号に基づいて、臓器の内部の状態を表す超音波断層像が形成される。医者等の術者は、得られた超音波断層像を参照しながら、臓器の内部に対して様々な処置、例えば、穿刺針による細胞の採取や薬剤注入等を行う。
【0003】
ここで、超音波断層像と、現実の臓器の位置と、の正確な対応関係を、簡易かつ明確に把握したいという要望がある。例えば、術者は、超音波断層像が、現実の臓器を、どの面で切断した像であるかを把握したい。
【先行技術文献】
【特許文献】
【0004】
国際公開第2015/166302号公報
【発明の概要】
【発明が解決しようとする課題】
【0005】
特許文献1には、こうした体腔内に挿入される超音波プローブが開示されている。特許文献1の超音波プローブは、生体組織を傷つけないように、略円筒形となっている。
【0006】
かかる略円筒形の超音波プローブは、生体への侵襲性が低下する一方で、当該超音波プローブの軸回りの回転角度、ひいては、超音波の放射方向が分かりにくいという問題があった。超音波の放射方向が不正確な場合、超音波断層像が、現実の臓器を、どの面で切断した像であるかを正確に判別できない。特許文献1の超音波プローブでは、こうした問題を解決できない。
【0007】
そこで、本明細書では、超音波の放射方向を容易に判別できる超音波プローブを開示する。
【課題を解決するための手段】
【0008】
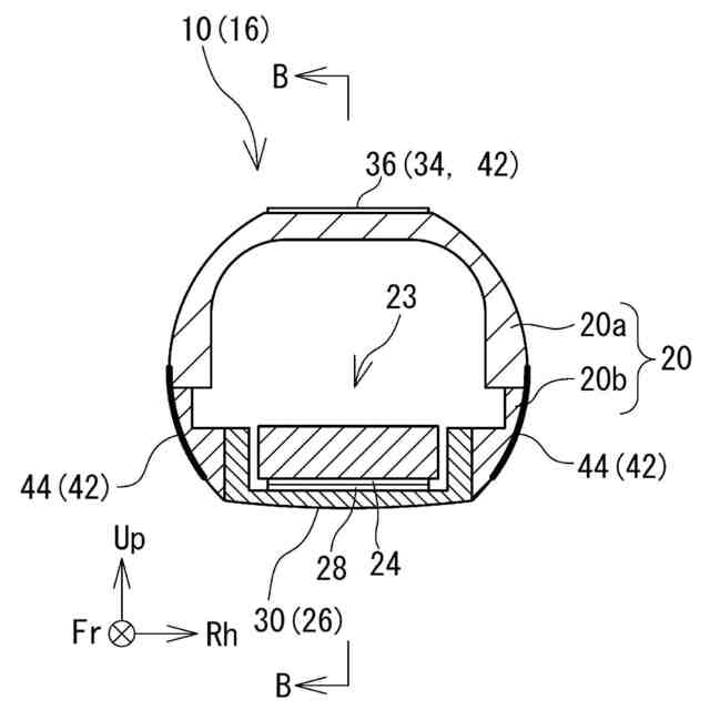
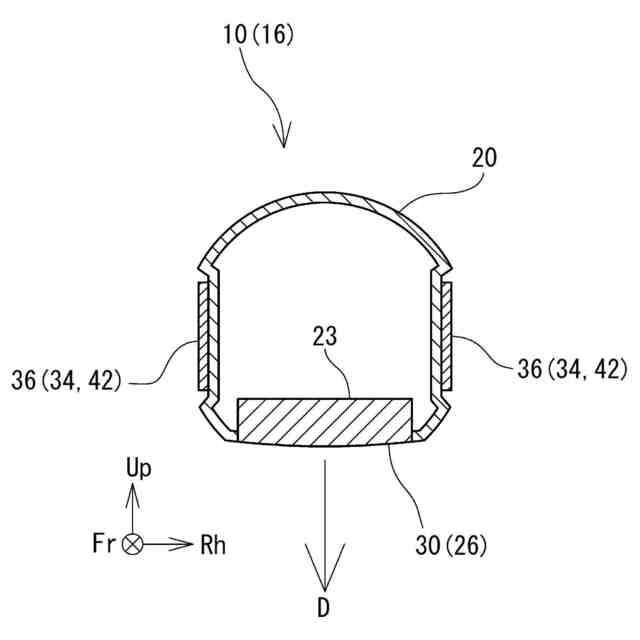
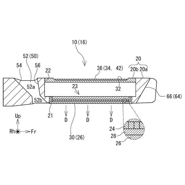
本明細書で開示する超音波プローブは、体腔に挿入される超音波プローブであって、超音波を放射する超音波振動子と、前記超音波振動子を収容する略円筒形のケースと、を備え、前記ケースは、前記超音波の放射方向を示す面である方向マーカを有し、前記方向マーカは、外部から視認可能であり、少なくとも一部が、前記超音波の放射範囲と軸方向に重複する位置に設けられている、ことを特徴とする。
【0009】
方向マーカを設けることで、術者は、超音波の放射方向を容易に判別できる。また、方向マーカは、少なくとも一部が、超音波の放射範囲軸方向範囲と軸方向に重複する位置に配置されている。超音波の放射範囲は、術者が特に注目する範囲である。当該放射範囲の近傍に方向マーカを配置することで、術者の視線の動きを小さく抑えることができ、術者が、放射範囲周辺をより注意深く観察できる。
【0010】
この場合、前記方向マーカの軸方向範囲は、前記超音波の放射範囲の軸方向範囲と同じであり、前記方向マーカは、前記超音波の放射範囲を示す範囲マーカとしても機能してもよい。
(【0011】以降は省略されています)
この特許をJ-PlatPat(特許庁公式サイト)で参照する
関連特許
個人
短下肢装具
2か月前
個人
排尿補助器具
2日前
個人
前腕誘導装置
3か月前
個人
嚥下鍛錬装置
3か月前
個人
胸骨圧迫補助具
1か月前
個人
矯正椅子
4か月前
個人
歯の修復用材料
3か月前
個人
バッグ式オムツ
4か月前
個人
ウォート指圧法
今日
個人
アイマスク装置
1か月前
個人
汚れ防止シート
17日前
個人
哺乳瓶冷まし容器
2か月前
個人
湿布連続貼り機。
1か月前
個人
陣痛緩和具
3か月前
個人
歯の保護用シール
4か月前
個人
シャンプー
5か月前
個人
性行為補助具
2か月前
株式会社八光
剥離吸引管
4か月前
個人
エア誘導コルセット
1か月前
個人
治療用酸化防御装置
1か月前
株式会社大野
骨壷
3か月前
株式会社ニデック
眼科装置
29日前
株式会社ニデック
眼科装置
4か月前
個人
精力増強キット
21日前
個人
シリンダ式歩行補助具
2か月前
個人
手指運動ツール
1か月前
株式会社コロナ
サウナ装置
5か月前
個人
高気圧環境装置
4か月前
個人
形見の製造方法
3か月前
株式会社ダリヤ
毛髪化粧料
27日前
株式会社GSユアサ
歩行器
4か月前
株式会社松風
口腔用組成物
3か月前
株式会社ニデック
眼科装置
29日前
株式会社ニデック
検眼装置
3か月前
株式会社ニデック
眼科装置
6日前
クラシエ株式会社
皮膚化粧料
4か月前
続きを見る
他の特許を見る