TOP
|
特許
|
意匠
|
商標
特許ウォッチ
Twitter
他の特許を見る
10個以上の画像は省略されています。
公開番号
2025154760
公報種別
公開特許公報(A)
公開日
2025-10-10
出願番号
2024057939
出願日
2024-03-29
発明の名称
情報処理装置、情報処理方法、及びプログラム
出願人
富士フイルム株式会社
代理人
弁理士法人太陽国際特許事務所
主分類
A61B
6/03 20060101AFI20251002BHJP(医学または獣医学;衛生学)
要約
【課題】同一の被写体について複数種類の画像を取得する場合に生じるストレージの空き容量不足、及び診断の長時間化を解消することを可能とする情報処理装置、情報処理方法、及びプログラムを提供する。
【解決手段】本開示の情報処理装置は、プロセッサを備える情報処理装置であって、プロセッサは、被写体の3次元的な形態を表す第1画像と、被写体の特徴量の3次元的な分布を表す第2画像とを読み込むこと、第1画像から診断対象を抽出すること、第1画像に基づいて診断対象を2次元状に展開することにより第1展開画像を作成すること、第2画像に基づいて診断対象に含まれる特徴量の分布を第1展開画像に投影することにより投影画像を作成すること、投影画像を表示装置に表示させること、を実行する。
【選択図】図4
特許請求の範囲
【請求項1】
プロセッサを備える情報処理装置であって、
前記プロセッサは、
被写体の3次元的な形態を表す第1画像と、前記被写体の特徴量の3次元的な分布を表す第2画像とを読み込むこと、
前記第1画像から診断対象を抽出すること、
前記第1画像に基づいて前記診断対象を2次元状に展開することにより第1展開画像を作成すること、
前記第2画像に基づいて前記診断対象に含まれる前記特徴量の分布を前記第1展開画像に投影することにより投影画像を作成すること、
前記投影画像を表示装置に表示させること、
を実行する情報処理装置。
続きを表示(約 1,000 文字)
【請求項2】
前記プロセッサは、
前記第2画像に基づいて前記診断対象が2次元状に展開された第2展開画像を作成し、
前記第1展開画像と前記第2展開画像とを合成することにより前記投影画像を作成する
請求項1に記載の情報処理装置。
【請求項3】
前記プロセッサは、
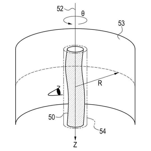
管腔臓器を前記診断対象として抽出し、
前記第1画像に基づいて前記管腔臓器の管芯線を中心として前記診断対象を展開することにより前記第1展開画像を作成し、
前記第2画像に基づいて前記管芯線を中心として前記診断対象を展開することにより前記第2展開画像を作成する、
請求項2に記載の情報処理装置。
【請求項4】
前記プロセッサは、
前記第1画像の前記診断対象に含まれる画素値を、前記管芯線を中心とした第1投影面に投影した後、前記第1投影面を展開することにより前記第1展開画像を作成し、
前記第2画像の前記診断対象に含まれる画素値を、前記管芯線を中心とした第2投影面に用いて投影した後、前記第2投影面を展開することにより前記第2展開画像を作成する
請求項3に記載の情報処理装置。
【請求項5】
前記プロセッサは、
前記第1画像の前記診断対象に含まれる画素値を、最小値投影法、最大値投影法、又は平均値投影法を用いて前記第1投影面に投影し、
前記第2画像の前記診断対象に含まれる画素値を、最小値投影法、最大値投影法、又は平均値投影法を用いて前記第2投影面に投影する、
請求項4に記載の情報処理装置。
【請求項6】
前記第2画像は、前記被写体について弁別された物質を示す物質弁別画像である
請求項4に記載の情報処理装置。
【請求項7】
前記特徴量は、前記物質弁別画像の画素値である
請求項6に記載の情報処理装置。
【請求項8】
前記プロセッサは、
前記第1展開画像に投影された前記特徴量の分布を、前記特徴量の大きさに応じて色又は濃度を変更する
請求項6に記載の情報処理装置。
【請求項9】
前記プロセッサは、
前記特徴量の大きさが特定範囲内にある領域を特定する
請求項6に記載の情報処理装置。
【請求項10】
前記物質は、脂肪、カルシウム、造影剤、又は鉄分である
請求項9に記載の情報処理装置。
(【請求項11】以降は省略されています)
発明の詳細な説明
【技術分野】
【0001】
本開示は、情報処理装置、情報処理方法、及びプログラムに関する。
続きを表示(約 1,400 文字)
【背景技術】
【0002】
光子計数型のX線CT(Computed Tomography)装置等の放射線画像撮影装置において、物質ごとに放射線の吸収特性が異なることを利用して、複数のエネルギー帯に対応するデータを用いて被写体に含まれる物質を弁別する物質弁別技術が知られている。このような物質弁別技術を用いると、通常のCT画像に加えて、被写体に含まれる特定の物質が弁別された物質弁別画像を取得することができる(例えば、特許文献1参照)。
【先行技術文献】
【特許文献】
【0003】
特開2024-032518号公報
【発明の概要】
【発明が解決しようとする課題】
【0004】
上記のように、同一の被写体について複数種類の画像を取得すると画像を保存するためのストレージの空き容量不足が生じやすくなる。また、表示装置に複数種類の画像を並べて表示させたうえで診断が行われるため、診断に長い時間が要される。
【0005】
そこで、本開示に係る技術は、同一の被写体について複数種類の画像を取得する場合に生じるストレージの空き容量不足、及び診断の長時間化を解消することを可能とする情報処理装置、情報処理方法、及びプログラムを提供することを目的とする。
【課題を解決するための手段】
【0006】
本開示の技術に係る情報処理装置は、プロセッサを備える情報処理装置であって、プロセッサは、被写体の3次元的な形態を表す第1画像と、被写体の特徴量の3次元的な分布を表す第2画像とを読み込むこと、第1画像から診断対象を抽出すること、第1画像に基づいて診断対象を2次元状に展開することにより第1展開画像を作成すること、第2画像に基づいて診断対象に含まれる特徴量の分布を第1展開画像に投影することにより投影画像を作成すること、投影画像を表示装置に表示させること、を実行する。
【0007】
プロセッサは、第2画像に基づいて診断対象が2次元状に展開された第2展開画像を作成し、第1展開画像と第2展開画像とを合成することにより投影画像を作成することが好ましい。
【0008】
プロセッサは、管腔臓器を診断対象として抽出し、第1画像に基づいて管腔臓器の管芯線を中心として診断対象を展開することにより第1展開画像を作成し、第2画像に基づいて管芯線を中心として診断対象を展開することにより第2展開画像を作成することが好ましい。
【0009】
プロセッサは、第1画像の診断対象に含まれる画素値を、管芯線を中心とした第1投影面に投影した後、第1投影面を展開することにより第1展開画像を作成し、第2画像の診断対象に含まれる画素値を、管芯線を中心とした第2投影面に用いて投影した後、第2投影面を展開することにより第2展開画像を作成することが好ましい。
【0010】
プロセッサは、第1画像の診断対象に含まれる画素値を、最小値投影法、最大値投影法、又は平均値投影法を用いて第1投影面に投影し、第2画像の診断対象に含まれる画素値を、最小値投影法、最大値投影法、又は平均値投影法を用いて第2投影面に投影することが好ましい。
(【0011】以降は省略されています)
この特許をJ-PlatPat(特許庁公式サイト)で参照する
関連特許
富士フイルム株式会社
積層体
2日前
富士フイルム株式会社
内視鏡
今日
富士フイルム株式会社
内視鏡
今日
富士フイルム株式会社
内視鏡
今日
富士フイルム株式会社
内視鏡
今日
富士フイルム株式会社
内視鏡
今日
富士フイルム株式会社
システム
今日
富士フイルム株式会社
塗布装置
今日
富士フイルム株式会社
情報処理装置
1日前
富士フイルム株式会社
超音波診断装置
3日前
富士フイルム株式会社
放射線撮影装置
今日
富士フイルム株式会社
計測装置及び方法
3日前
富士フイルム株式会社
積層体及び包装体
1日前
富士フイルム株式会社
内視鏡補助具の操作装置
今日
富士フイルム株式会社
マウント装置及び撮像装置
2日前
富士フイルム株式会社
異方導電性部材及び接合体
1日前
富士フイルム株式会社
超音波内視鏡及びシステム
今日
富士フイルム株式会社
回動抑制機構及びレンズ装置
1日前
富士フイルム株式会社
混合物、組成物、及び化合物
今日
富士フイルム株式会社
導電性フィルム、タッチパネル
1日前
富士フイルム株式会社
フタロシアニン化合物の製造方法
今日
富士フイルム株式会社
感光性転写材料及びその製造方法
今日
富士フイルム株式会社
ウェブ切換装置及びウェブ切換方法
今日
富士フイルム株式会社
画像処理装置、方法およびプログラム
2日前
富士フイルム株式会社
医療支援装置、方法およびプログラム
今日
富士フイルム株式会社
硬化物、積層体、及び、半導体デバイス
1日前
富士フイルム株式会社
硬化物、積層体、及び、半導体デバイス
1日前
富士フイルム株式会社
動作音抑制装置及びX線断層像撮影装置
1日前
富士フイルム株式会社
硬化物、積層体、及び、半導体デバイス
1日前
富士フイルム株式会社
情報処理装置、情報処理方法、及びプログラム
今日
富士フイルム株式会社
制御装置、撮像装置、制御方法、及びプログラム
3日前
富士フイルム株式会社
制御装置、撮像装置、制御方法、及びプログラム
3日前
富士フイルム株式会社
制御装置、撮像装置、制御方法、及びプログラム
3日前
富士フイルム株式会社
多層膜、光学部材、撮像機器および多層膜の製造方法
今日
富士フイルム株式会社
医用画像撮影装置、及び医用画像撮影装置の制御方法
今日
富士フイルム株式会社
画像表示装置、画像表示方法、及び画像表示プログラム
今日
続きを見る
他の特許を見る