TOP
|
特許
|
意匠
|
商標
特許ウォッチ
Twitter
他の特許を見る
公開番号
2025152077
公報種別
公開特許公報(A)
公開日
2025-10-09
出願番号
2024053806
出願日
2024-03-28
発明の名称
動作音抑制装置及びX線断層像撮影装置
出願人
富士フイルム株式会社
代理人
個人
,
個人
,
個人
,
個人
,
個人
主分類
A61B
6/03 20060101AFI20251002BHJP(医学または獣医学;衛生学)
要約
【課題】、X線断層像撮影装置による撮影時において操作者と被検体との間で会話する際に動作音を抑制することが可能な動作音抑制装置、及び、動作音抑制装置を適用されたX線断層像撮影装置を提供することを目的とする。
【解決手段】
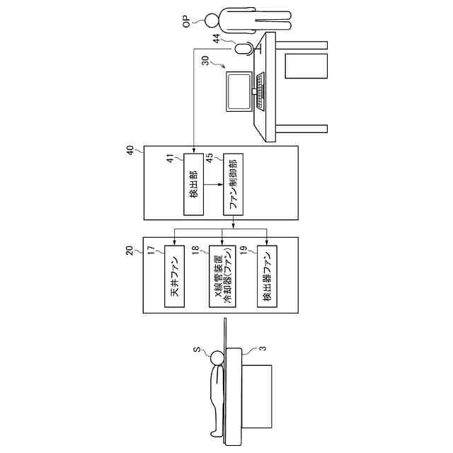
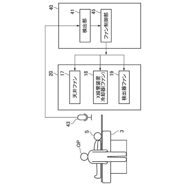
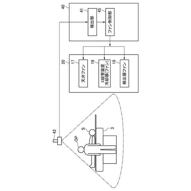
X線断層像撮影装置に用いられる動作音抑制装置は、X線断層像撮影装置の操作者とX線断層像撮影装置の寝台に載置された被検体との間の会話又は会話可能な状況を検出する検出部と、検出部の検出結果に基づいてX線断層像撮影装置に設けられた1以上の冷却ファンの動作を制御するファン制御部と、を備える。
【選択図】 図3
特許請求の範囲
【請求項1】
X線断層像撮影装置に用いられる動作音抑制装置であって、
前記X線断層像撮影装置の操作者と前記X線断層像撮影装置の寝台に載置された被検体との間の会話又は会話可能な状況を検出する検出部と、
前記検出部の検出結果に基づいて前記X線断層像撮影装置に設けられた1以上の冷却ファンの動作を制御するファン制御部と、
を備える、動作音抑制装置。
続きを表示(約 700 文字)
【請求項2】
前記検出部は、前記寝台の近傍を撮影する寝台撮像部を備え、
前記検出部は、前記寝台撮像部によって撮像される画像中における前記操作者と前記被検体との間の距離に基づいて、前記操作者と前記被検体との間の会話可能な状況を検出する、
請求項1に記載の動作音抑制装置。
【請求項3】
前記検出部は、前記寝台の近傍の音を集音する第1集音部を備え、
前記検出部は、前記第1集音部によって集音された音に基づいて、前記操作者と前記被検体との間の会話を検出する、
請求項1に記載の動作音抑制装置。
【請求項4】
前記検出部は、X線断層像撮影装置による撮影を操作する操作部の近傍の音を集音する第2集音部を備え、
前記検出部は、前記第2集音部によって集音された音に基づいて、前記操作者と前記被検体との間の会話を検出する、
請求項1に記載の動作音抑制装置。
【請求項5】
前記ファン制御部は、前記検出部による検出結果に基づいて前記1以上の冷却ファンのうち、少なくとも1つの冷却ファンの回転数を低下させる、
請求項1に記載の動作音抑制装置。
【請求項6】
前記ファン制御部は、前記検出部による検出結果に基づいて前記1以上の冷却ファンのうち、少なくとも1つの冷却ファンを一時停止させる、
請求項1に記載の動作音抑制装置。
【請求項7】
1以上の冷却ファンと、
請求項1から6のいずれか1項に記載の動作音抑制装置と、
を備える、X線断層像撮影装置。
発明の詳細な説明
【技術分野】
【0001】
本発明は、X線断層像撮影装置に用いられる動作音抑制装置、及び、動作音抑制装置を備えるX線断層像撮影装置に関する。
続きを表示(約 1,700 文字)
【背景技術】
【0002】
医用画像撮影システムでは、寝台上の位置に載置された被検体(被検者)に対して、電磁波(RFパルス)又はX線を照射し、被検者の断層像を取得する。適切な断層像を得るためには寝台上の適切な位置に被検体を載置する必要があるため、撮影前や撮影時に医用画像撮影システムの操作者と被検体との間で会話等のコミュニケーションをとることがある。
【0003】
医用画像撮影システムでは内蔵機器等から比較的大きな動作音が生じるため、このようなコミュニケーションをとる際に、操作者及び被検体が互いの声を聞き取りにくいことがある。例えば、被検体が操作者からの指示を聞き取りにくい場合、操作者は同じ指示を繰り返す必要があり、撮影の手間が増え、撮影にかかる時間が長くなる恐れがある。
【0004】
これに対して、医用画像撮影システムに設けられた緊急停止スイッチにより、コミュニケーションを行う際に医用画像撮影システムの動作を止めて動作音を低減することが考えられる。しかし、緊急停止スイッチを用いる方法では、電源が遮断されるため、復帰の際には初期値の設定等を行って緊急停止前の状態に医用画像撮影システムが復帰するまでに多くの時間を要するという問題がある。
【0005】
上記の問題を考慮して、例えば、特許文献1は、撮像を一時停止する指令を発生する撮像一時停止指令発生手段と、撮像一時停止指令発生手段からの指令により少なくとも傾斜磁場発生手段の動作を一時停止する撮像一時停止手段と、撮像一時停止手段により一時停止された撮像を再開する指令を発生する撮像再開指令発生手段とを備えるMRI装置(核磁気共鳴撮影装置)を開示する。撮像一時停止手段によって傾斜磁場発生手段の動作を一時停止して傾斜磁場印加音を消すため、特許文献1に記載のMRI装置は、MRI装置の電源を遮断することなく、コミュニケーションを行う際の動作音を低減することができる。
【0006】
また、例えば、特許文献2は、複数のファンと、位置センサと、位置情報取得部と、制御部とを有するX線断層像撮影装置(X線CT装置)を開示する。位置センサは操作パネルの前面付近に配置される人感センサであり、操作パネルの前面付近に操作者がいるか否かを示す位置情報を計測する。位置情報取得部は位置情報を取得し、制御部は取得された位置情報に基づいて各ファンの回転数又は回転方向を制御する。これにより、特許文献2に記載のX線CT装置は、操作者が発する音声に対するノイズを低減させることができる。
【先行技術文献】
【特許文献】
【0007】
特開2007-275221号公報
特開2019-130222号公報
【発明の概要】
【発明が解決しようとする課題】
【0008】
しかし、特許文献1に記載の技術はMRI装置では、動作音を抑制するために、傾斜磁場発生手段の動作を一時停止して傾斜磁場印加音を消している。そのため、RFパルスを用いない医用画像撮影システムには適用できないという問題がある。また、特許文献2では、操作者の位置情報に応じて動作音を低減させるため、操作者と被検体との間で会話する場合に十分に対応できないという問題がある。
【0009】
本発明は、上記のような課題を解決するためになされたものであり、X線断層像撮影装置による撮影時において操作者と被検体との間で会話する際に動作音を抑制することが可能な動作音抑制装置、及び、動作音抑制装置を適用されたX線断層像撮影装置を提供することを目的とする。
【課題を解決するための手段】
【0010】
第1態様に係るX線断層像撮影装置に用いられる動作音抑制装置は、X線断層像撮影装置の操作者とX線断層像撮影装置の寝台に載置された被検体との間の会話又は会話可能な状況を検出する検出部と、検出部の検出結果に基づいてX線断層像撮影装置に設けられた1以上の冷却ファンの動作を制御するファン制御部と、を備える。
(【0011】以降は省略されています)
この特許をJ-PlatPat(特許庁公式サイト)で参照する
関連特許
個人
短下肢装具
2か月前
個人
嚥下鍛錬装置
3か月前
個人
前腕誘導装置
2か月前
個人
洗井間専家。
6か月前
個人
白内障治療法
7か月前
個人
歯の修復用材料
3か月前
個人
胸骨圧迫補助具
1か月前
個人
ホバーアイロン
6か月前
個人
汚れ防止シート
13日前
個人
アイマスク装置
1か月前
個人
バッグ式オムツ
3か月前
個人
矯正椅子
4か月前
個人
車椅子持ち上げ器
7か月前
個人
湿布連続貼り機。
1か月前
三生医薬株式会社
錠剤
6か月前
個人
陣痛緩和具
3か月前
個人
哺乳瓶冷まし容器
2か月前
個人
シャンプー
5か月前
個人
歯の保護用シール
4か月前
株式会社八光
剥離吸引管
4か月前
個人
服薬支援装置
6か月前
株式会社大野
骨壷
3か月前
個人
エア誘導コルセット
1か月前
個人
性行為補助具
2か月前
個人
治療用酸化防御装置
1か月前
株式会社GSユアサ
歩行器
4か月前
株式会社ニデック
眼科装置
25日前
株式会社ニデック
眼科装置
25日前
個人
形見の製造方法
3か月前
株式会社コロナ
サウナ装置
5か月前
株式会社松風
口腔用組成物
3か月前
株式会社ダリヤ
皮膚化粧料
7か月前
株式会社ニデック
検眼装置
3か月前
個人
精力増強キット
17日前
株式会社ダリヤ
毛髪化粧料
23日前
個人
手指運動ツール
1か月前
続きを見る
他の特許を見る