TOP
|
特許
|
意匠
|
商標
特許ウォッチ
Twitter
他の特許を見る
10個以上の画像は省略されています。
公開番号
2025153103
公報種別
公開特許公報(A)
公開日
2025-10-10
出願番号
2024055396
出願日
2024-03-29
発明の名称
内視鏡
出願人
富士フイルム株式会社
代理人
個人
,
個人
,
個人
,
個人
,
個人
主分類
A61B
1/018 20060101AFI20251002BHJP(医学または獣医学;衛生学)
要約
【課題】起立台の起立操作における操作量の目安を把握し得る、内視鏡を提供する。
【解決手段】内視鏡は、挿入部の先端部に設けられる起立台と、起立台を動作させるための操作を受け付ける起立操作部材と、起立操作部材の操作による起立台の動作情報を操作者へ報知する報知部(312)と、を備える。
【選択図】図7
特許請求の範囲
【請求項1】
挿入部の先端部に設けられる起立台と、
前記起立台を動作させるための操作を受け付ける起立操作部材と、
前記起立操作部材の操作による前記起立台の動作情報を操作者へ報知する報知部と、
を備える、内視鏡。
続きを表示(約 1,400 文字)
【請求項2】
前記動作情報は、前記起立台がどのくらい動いたかを知らせる動作を示す情報である、
請求項1に記載の内視鏡。
【請求項3】
前記動作情報は、前記起立操作部材のピッチ数を示す情報である、
請求項1に記載の内視鏡。
【請求項4】
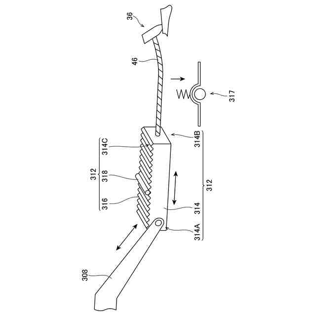
前記挿入部に挿通され、先端側が前記起立台に連結された起立操作ワイヤと、
前記起立操作ワイヤの基端側に設けられ、前記起立操作部材の操作に応じて前記起立操作ワイヤの長手軸方向に移動することにより前記起立操作ワイヤを進退させるスライダと、
を備え、
前記報知部は、
前記スライダに設けられ、複数の段差が前記起立台の動作間隔を示す間隔情報に対応した間隔で形成された段差部と、
前記スライダが移動する場合に前記段差部に接触することで前記起立操作部材に振動を発生させる接触部材と、
を備える、請求項1に記載の内視鏡。
【請求項5】
前記挿入部に挿通され、先端側が前記起立台に連結された起立操作ワイヤと、
前記起立操作ワイヤの基端側に設けられ、前記起立操作部材の操作に応じて前記起立操作ワイヤの長手軸方向に移動することにより前記起立操作ワイヤを進退させるスライダと、
前記スライダの移動を案内するガイドと、
を備え、
前記報知部は、
前記ガイドに設けられ、複数の段差が前記起立台の動作間隔を示す間隔情報に対応した間隔で形成された段差部と、
前記スライダに設けられ、前記段差部に接触することで前記起立操作部材に振動を発生させる接触部材と、
を備える、請求項1に記載の内視鏡。
【請求項6】
前記段差部が形成される範囲は、前記起立操作部材の全操作範囲に対応する、
請求項4又は5に記載の内視鏡。
【請求項7】
前記段差部が形成される範囲は、前記起立台の起立角度が45度以上75度以下に対応する、
請求項4又は5に記載の内視鏡。
【請求項8】
前記段差部が形成される範囲は、前記起立台の起立角度が0度以上75度以下に対応し、
前記段差部は、
前記起立台の起立角度が0度以上45度以下の範囲に対応する領域であって、前記段差が第1間隔で形成された第1形成領域と、
前記起立台の起立角度が45度を超え75度以下の範囲に対応する領域であって、前記段差が第1間隔よりも狭い第2間隔で形成された第2形成領域と、
を有する、請求項4又は5に記載の内視鏡。
【請求項9】
前記段差部が形成される範囲は、前記起立台の起立角度が0度以上75度以下に対応し、
前記段差部は、
前記起立台の起立角度が0度以上45度以下の範囲に対応する領域であって、前記段差の高さが第1高さである第1形成領域と、
前記起立台の起立角度が45度を超え75度以下の範囲に対応する領域であって、前記段差の高さが前記第1高さとは異なる第2高さである第2形成領域と、
を有する、請求項4又は5に記載の内視鏡。
【請求項10】
前記段差は、前記スライダの移動方向について非対称の形状を有する、
請求項4又は5に記載の内視鏡。
(【請求項11】以降は省略されています)
発明の詳細な説明
【技術分野】
【0001】
本発明は内視鏡に係り、特に起立台の起立操作を行う構造に関する。
続きを表示(約 1,300 文字)
【背景技術】
【0002】
内視鏡は、被検者の体腔内に挿入される挿入部、及び挿入部に連設される操作部を備える。操作部は、操作レバー及び操作ノブ等が設けられる。操作者は、操作レバー等を操作して、挿入部に設けられる従動物を遠隔操作する。
【0003】
特許文献1は、内視鏡の挿入部に設けられ、チェンネル開口部から突出されるガイドカテーテルを引き上げる処理具起立台が記載される。処理具起立台と接続される起上ワイヤは、挿入部内に挿通されるガイドパイプ及びガイドチューブを通じて操作部に導かれ、起上台作動機構に接続される。
【0004】
起上台作動機構は、起上ワイヤの基端部分が固定されるワイヤ固定部材、ワイヤ固定部材の基端部分が固定されるリンク部材を備える。リンク部材は、ガイド部材上に操作部の軸方向に対して往復自在に設けられる。
【0005】
特許文献1には、ガイド部材の互いに対向するガイド面に凹凸状に形成した凹凸面が設けられ、リンク部材には凹凸面に係合する突起が設けられる起上台作動機構の構造が記載される。同文献には、起上操作ノブを操作した際に、第1の起上範囲を超えて第2の起上範囲への起上操作が行われると、リンク部材の突起とガイド部材の凹凸面との係合異物感が術者へ伝わり、術者は子スコープ等の損傷に対して安全な起上範囲を超えたことを認識できることが記載される。
【0006】
特許文献2は、起立台の状態を外部において知ることができる内視鏡が記載される。同文献に記載の内視鏡は、操作部本体に起上台を倒伏させる位置において、ノブの回転軸を解除可能に固定する固定機構が組み込まれている。
【0007】
固定機構は、回転軸に設けられる係合穴と、係合穴に弾性係合する係合ボールとを係合させて、回転軸を固定する。一定以上の力でノブを回転させると、係合穴と係合ボールとの係合が外れ、回転軸の操作が可能となる。
【先行技術文献】
【特許文献】
【0008】
特開2003-116777号公報
実開昭57-32001号公報
【発明の概要】
【発明が解決しようとする課題】
【0009】
例えば、十二指腸鏡において、十二指腸乳頭部へガイドワイヤ及び造影チューブ等を挿入させる際に、起立台の起立位置の微調整が必要である。起立位置の調整は、操作部の操作レバー等を操作して実施される。起立位置が調整される際に、ガイドワイヤ等の動きがモニタ画面へ表示され、操作者に対してモニタされる。一方、操作レバーの操作ピッチ等の操作量の目安が、操作者へ報知されることが望まれる。
【0010】
特許文献1に記載の内視鏡は、操作部を操作した際のクリック感及び操作抵抗感に起因して、操作部を操作した手の感触で処置具起立台の状態を知ることができるが、子スコー
プ等の安全な起上範囲を超えているか否かが操作者へ報知されるものであって、操作部の操作ピッチ等の操作量の目安が、操作者へ報知されるものではない。
(【0011】以降は省略されています)
この特許をJ-PlatPat(特許庁公式サイト)で参照する
関連特許
富士フイルム株式会社
内視鏡
1日前
富士フイルム株式会社
積層体
3日前
富士フイルム株式会社
内視鏡
1日前
富士フイルム株式会社
内視鏡
1日前
富士フイルム株式会社
内視鏡
1日前
富士フイルム株式会社
内視鏡
1日前
富士フイルム株式会社
塗布装置
1日前
富士フイルム株式会社
システム
1日前
富士フイルム株式会社
情報処理装置
2日前
富士フイルム株式会社
放射線撮影装置
1日前
富士フイルム株式会社
計測装置及び方法
4日前
富士フイルム株式会社
積層体及び包装体
2日前
富士フイルム株式会社
内視鏡補助具の操作装置
1日前
富士フイルム株式会社
異方導電性部材及び接合体
2日前
富士フイルム株式会社
マウント装置及び撮像装置
3日前
富士フイルム株式会社
超音波内視鏡及びシステム
1日前
富士フイルム株式会社
混合物、組成物、及び化合物
1日前
富士フイルム株式会社
回動抑制機構及びレンズ装置
2日前
富士フイルム株式会社
導電性フィルム、タッチパネル
2日前
富士フイルム株式会社
フタロシアニン化合物の製造方法
1日前
富士フイルム株式会社
感光性転写材料及びその製造方法
1日前
富士フイルム株式会社
ウェブ切換装置及びウェブ切換方法
1日前
富士フイルム株式会社
画像処理装置、方法およびプログラム
3日前
富士フイルム株式会社
医療支援装置、方法およびプログラム
1日前
富士フイルム株式会社
硬化物、積層体、及び、半導体デバイス
2日前
富士フイルム株式会社
硬化物、積層体、及び、半導体デバイス
2日前
富士フイルム株式会社
硬化物、積層体、及び、半導体デバイス
2日前
富士フイルム株式会社
動作音抑制装置及びX線断層像撮影装置
2日前
富士フイルム株式会社
情報処理装置、情報処理方法、及びプログラム
1日前
富士フイルム株式会社
制御装置、撮像装置、制御方法、及びプログラム
4日前
富士フイルム株式会社
制御装置、撮像装置、制御方法、及びプログラム
4日前
富士フイルム株式会社
制御装置、撮像装置、制御方法、及びプログラム
4日前
富士フイルム株式会社
医用画像撮影装置、及び医用画像撮影装置の制御方法
1日前
富士フイルム株式会社
多層膜、光学部材、撮像機器および多層膜の製造方法
1日前
富士フイルム株式会社
画像処理装置、画像処理方法、及び画像処理プログラム
4日前
富士フイルム株式会社
画像表示装置、画像表示方法、及び画像表示プログラム
1日前
続きを見る
他の特許を見る