TOP
|
特許
|
意匠
|
商標
特許ウォッチ
Twitter
他の特許を見る
10個以上の画像は省略されています。
公開番号
2025152775
公報種別
公開特許公報(A)
公開日
2025-10-10
出願番号
2024054844
出願日
2024-03-28
発明の名称
放射線撮影装置
出願人
富士フイルム株式会社
代理人
弁理士法人太陽国際特許事務所
主分類
A61B
6/42 20240101AFI20251002BHJP(医学または獣医学;衛生学)
要約
【課題】実効ビーム幅が、複数の撮影モードにおいて設定される設定ビーム幅の各々を下回らない所定の範囲とすることを可能とする放射線撮影装置を提供する。
【解決手段】放射線撮影装置は、回転軸における放射線の回転軸方向の設定ビーム幅が異なる複数の撮影モードで撮影が可能である。放射線検出器は、回転軸に平行な第1方向と回転軸に直交する第2方向とに配列された複数のサブ画素を有し、第1方向に並ぶ第1数のサブ画素がグループ化された第1マクロ画素と、第1方向に並ぶ第1数とは異なる第2数のサブ画素がグループ化された第2マクロ画素とがそれぞれ複数設けられ、設定ビーム幅に対応する数のスライスを構成するための第1マクロ画素と第2マクロ画素との数により決まる実効ビーム幅が、設定ビーム幅の各々を下回らない所定の範囲となるように、第2マクロ画素が配置されている。
【選択図】図9
特許請求の範囲
【請求項1】
回転軸の周りに回転して放射線を放射する放射線源と、前記回転軸の周りに前記放射線源と対向した状態で回転して前記放射線を検出する放射線検出器とを備え、前記回転軸における前記放射線の前記回転軸方向の設定ビーム幅が異なる複数の撮影モードで撮影が可能な放射線撮影装置であって、
前記放射線検出器は、
前記回転軸に平行な第1方向と前記回転軸に直交する第2方向とに配列された複数のサブ画素を有し、
前記第1方向に並ぶ第1数の前記サブ画素がグループ化された第1マクロ画素と、前記第1方向に並ぶ前記第1数とは異なる第2数の前記サブ画素がグループ化された第2マクロ画素とがそれぞれ複数設けられ、
前記設定ビーム幅に対応する数のスライスを構成するための前記第1マクロ画素と前記第2マクロ画素との数により決まる実効ビーム幅が、前記設定ビーム幅の各々を下回らない所定の範囲となるように、前記第2マクロ画素が配置されている
放射線撮影装置。
続きを表示(約 560 文字)
【請求項2】
前記第1数は、前記第2数よりも大きい
請求項1に記載の放射線撮影装置。
【請求項3】
前記第1数は6であり、前記第2数は5である
請求項2に記載の放射線撮影装置。
【請求項4】
前記第1マクロ画素ごと及び前記第2マクロ画素ごとに光子を計数する光子計数回路と、
前記光子計数回路による計数値に基づいて放射線画像を生成する画像処理部と、
を備える
請求項1から請求項3のうちいずれか1項に記載の放射線撮影装置。
【請求項5】
前記画像処理部は、前記第2マクロ画素の配置に起因した周波数を有するアーチファクトを補正する
請求項4に記載の放射線撮影装置。
【請求項6】
前記画像処理部は、前記第1マクロ画素ごと及び前記第2マクロ画素ごとに計数される光子の計数値を、前記第1数及び前記第2数に基づいて補正する
請求項4に記載の放射線撮影装置。
【請求項7】
前記第1数が前記第2数よりも大きい場合、
前記画像処理部は、前記第1マクロ画素についての光子の計数値の一部を、隣接する前記第2マクロ画素についての光子の計数値に分配する
請求項6に記載の放射線撮影装置。
発明の詳細な説明
【技術分野】
【0001】
本開示の技術は、放射線撮影装置に関する。
続きを表示(約 2,000 文字)
【背景技術】
【0002】
近年、光子計数型検出器を搭載した放射線撮影装置であるPCCT(Photon Counting Computed Tomography)装置が知られている。光子計数型検出器は、従来のCT(Computed Tomography)装置で採用されている電荷積分型の検出器と異なり、入射した放射線の光子を計数可能である。PCCT装置は、光子ごとにエネルギを計測できるので、従来のCT装置に比べてより多くの情報が得られる。
【0003】
PCCT装置では、入射した光子を半導体層で電荷に変換し、変換された電荷を光子計数回路が計数することにより光子の計数が行われる。半導体層の上面及び下面には、半導体層に高電圧を印加するための電極が形成されており、下面側の電極をパターニングすることにより、複数のサブ画素が構成されている。また、複数のサブ画素を複数個ずつグループ化することにより複数のマクロ画素を構成することが知られている(例えば、特許文献1参照)。これにより、サブ画素又はマクロ画素の単位で光子の計数を行うことができる。
【0004】
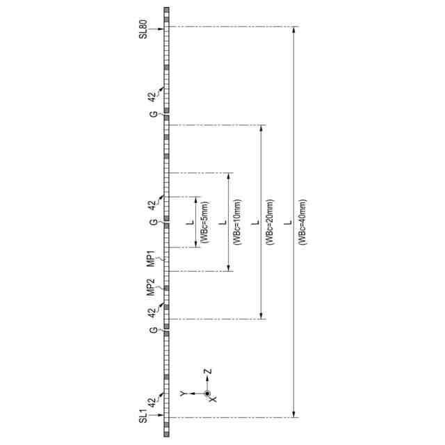
また、CT装置には、40mm、20mm、10mm、5mmなどのスライス厚が異なる複数の撮影モードを有するマルチスライスCT装置が知られている。スライス厚は、CT装置の回転軸おける放射線の回転軸方向(すなわちスライス方向)のビーム幅に対応する。各スライス厚は、複数のスライス(いわゆるマルチスライス)で構成される。以下、撮影モードごとに設定されるビーム幅を「設定ビーム幅」という。
【先行技術文献】
【特許文献】
【0005】
特開2023-039071号公報
【発明の概要】
【発明が解決しようとする課題】
【0006】
PCCT装置において、スライス厚が異なる複数の撮影モードを実行可能とすることが考えられる。マクロ画素の単位で光子を計数する場合、1つのスライスは、スライス方向と直交するチャネル方向に並ぶ複数のマクロ画素に対応する。また、設定ビーム幅に対応する数のスライスは、放射線が照射される領域におけるスライス方向への複数のマクロ画素により構成される。したがって、回転軸における実効的なビーム幅(以下、実効ビーム幅という。)は、設定ビーム幅に対応する数のスライスを構成するためのマクロ画素の数により決まる。
【0007】
スライス方向へのサブ画素の総数は、マクロ画素としてグループ化する数で割り切れないことがある。このため、スライス方向に並ぶ第1数のサブ画素がグループ化された第1マクロ画素と、スライス方向に並ぶ第2数のサブ画素がグループ化された第2マクロ画素とをそれぞれ複数構成することが考えられる。例えば、第1数は6であり、第2数は5である。この場合、実効ビーム幅は、設定ビーム幅に対応する数のスライスを構成するための第1マクロ画素と第2マクロ画素との数によって決まる。第1マクロ画素と第2マクロ画素とはそれぞれ含むサブ画素の数が異なるので、実効ビーム幅は、第1マクロ画素の数及び第2マクロ画素の配置によって変動する。
【0008】
例えば、第1マクロ画素が等ピッチで配置され、第2マクロ画素が不等ピッチで配置されている場合には、第2マクロ画素の配置に依存して各撮影モードにおける実効ビーム幅が変動する。すなわち、いずれかの撮影モードにおいて、実効ビーム幅が設定ビーム幅を下回ることがある。実効ビーム幅が設定ビーム幅を下回ると、断層画像の画質が低下してしまう。
【0009】
そこで、本開示に係る技術は、実効ビーム幅が、複数の撮影モードにおいて設定される設定ビーム幅の各々を下回らない所定の範囲とすることを可能とする放射線撮影装置を提供する。
【課題を解決するための手段】
【0010】
本開示の技術に係る放射線撮影装置は、回転軸の周りに回転して放射線を放射する放射線源と、回転軸の周りに放射線源と対向した状態で回転して放射線を検出する放射線検出器とを備え、回転軸における放射線の回転軸方向の設定ビーム幅が異なる複数の撮影モードで撮影が可能な放射線撮影装置であって、放射線検出器は、回転軸に平行な第1方向と回転軸に直交する第2方向とに配列された複数のサブ画素を有し、第1方向に並ぶ第1数のサブ画素がグループ化された第1マクロ画素と、第1方向に並ぶ第1数とは異なる第2数のサブ画素がグループ化された第2マクロ画素とがそれぞれ複数設けられ、設定ビーム幅に対応する数のスライスを構成するための第1マクロ画素と第2マクロ画素との数により決まる実効ビーム幅が、設定ビーム幅の各々を下回らない所定の範囲となるように、第2マクロ画素が配置されている。
(【0011】以降は省略されています)
この特許をJ-PlatPat(特許庁公式サイト)で参照する
関連特許
富士フイルム株式会社
内視鏡
1日前
富士フイルム株式会社
積層体
3日前
富士フイルム株式会社
内視鏡
1日前
富士フイルム株式会社
内視鏡
1日前
富士フイルム株式会社
内視鏡
1日前
富士フイルム株式会社
内視鏡
1日前
富士フイルム株式会社
塗布装置
1日前
富士フイルム株式会社
システム
1日前
富士フイルム株式会社
情報処理装置
2日前
富士フイルム株式会社
超音波診断器
8日前
富士フイルム株式会社
超音波診断装置
4日前
富士フイルム株式会社
超音波診断装置
8日前
富士フイルム株式会社
超音波診断装置
8日前
富士フイルム株式会社
放射線撮影装置
1日前
富士フイルム株式会社
超音波診断装置
8日前
富士フイルム株式会社
超音波診断装置
8日前
富士フイルム株式会社
計測装置及び方法
4日前
富士フイルム株式会社
積層体及び包装体
2日前
富士フイルム株式会社
内視鏡補助具の操作装置
1日前
富士フイルム株式会社
異方導電性部材及び接合体
2日前
富士フイルム株式会社
マウント装置及び撮像装置
3日前
富士フイルム株式会社
超音波内視鏡及びシステム
1日前
富士フイルム株式会社
回動抑制機構及びレンズ装置
2日前
富士フイルム株式会社
混合物、組成物、及び化合物
1日前
富士フイルム株式会社
組成物、硬化物および光学部材
8日前
富士フイルム株式会社
導電性フィルム、タッチパネル
2日前
富士フイルム株式会社
感光性転写材料及びその製造方法
1日前
富士フイルム株式会社
フタロシアニン化合物の製造方法
1日前
富士フイルム株式会社
ウェブ切換装置及びウェブ切換方法
1日前
富士フイルム株式会社
医療支援装置、方法およびプログラム
1日前
富士フイルム株式会社
画像処理装置、方法およびプログラム
3日前
富士フイルム株式会社
硬化物、積層体、及び、半導体デバイス
2日前
富士フイルム株式会社
動作音抑制装置及びX線断層像撮影装置
2日前
富士フイルム株式会社
硬化物、積層体、及び、半導体デバイス
2日前
富士フイルム株式会社
硬化物、積層体、及び、半導体デバイス
2日前
富士フイルム株式会社
磁気共鳴撮像装置及び中心周波数の補正方法
8日前
続きを見る
他の特許を見る