TOP
|
特許
|
意匠
|
商標
特許ウォッチ
Twitter
他の特許を見る
10個以上の画像は省略されています。
公開番号
2025145613
公報種別
公開特許公報(A)
公開日
2025-10-03
出願番号
2024045890
出願日
2024-03-22
発明の名称
超音波診断器
出願人
富士フイルム株式会社
代理人
弁理士法人YKI国際特許事務所
主分類
A61B
8/00 20060101AFI20250926BHJP(医学または獣医学;衛生学)
要約
【課題】ハンドルにおけるグリップを握って本体ユニットを搬送する場合に、本体ユニットを保護する。また、グリップの清潔を維持する。
【解決手段】本体はヒンジ機構30を有する。ヒンジ機構30にハンドル26が連結されている。ヒンジ機構30はハンドルロック機構を有する。ハンドルロック機構は、ハンドル26の回転角度を第1回転角度θ0又は第2回転角度θ2にロックする。ハンドル26がスタンドとして使用される場合、グリップは載置面に接触しない。
【選択図】図23
特許請求の範囲
【請求項1】
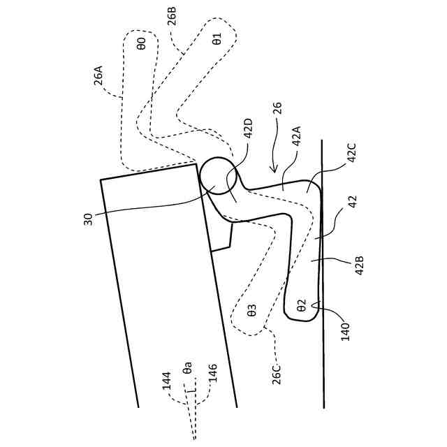
超音波画像を生成する本体と前記超音波画像を表示する表示器とを有する本体ユニットと、
前記本体に設けられたヒンジ機構と、
前記ヒンジ機構に連結された2つのアームと前記2つのアームに連結されたグリップとを有するハンドルと、
を含み、
前記ヒンジ機構は、前記グリップを握って前記本体ユニットを搬送する場合に、前記ハンドルの回転角度を第1回転角度にロックするハンドルロック機構を含む、
を含むことを特徴とする超音波診断器。
続きを表示(約 1,100 文字)
【請求項2】
請求項1記載の超音波診断器において、
前記ハンドルロック機構は、前記ハンドルをスタンドとして使用する場合に、前記ハンドルの回転角度を前記第1回転角度とは異なる第2回転角度にロックする、
ことを特徴とする超音波診断器。
【請求項3】
請求項2記載の超音波診断器において、
前記2つのアームはそれぞれ屈曲部分を有し、
前記第2回転角度は、前記本体ユニットを載せている載置面に対して前記2つのアームにおける2つの屈曲部分が接触し且つ前記載置面から前記グリップが離れる角度である、
ことを特徴とする超音波診断器。
【請求項4】
請求項1記載の超音波診断器において、
前記ヒンジ機構は、前記本体の後端部に設けられ、
前記2つのアームは、それぞれ、
前記ヒンジ機構に連結された第1部分と、
前記グリップに連結された第2部分と、
前記第1部分と前記第2部分の間の屈曲部分と、
を有し、
前記ハンドルの回転角度が前記第1回転角度である場合に、前記2つのアームが有する2つの第1部分が前記本体の後面に近接又は接触する、
ことを特徴とする超音波診断器。
【請求項5】
請求項4記載の超音波診断器において、
前記ハンドルロック機構は、前記ハンドルをスタンドとして使用する場合に、前記ハンドルの回転角度を前記第1回転角度とは異なる第2回転角度にロックし、
前記ハンドルを前記スタンドとして使用する場合に、前記2つのアームが有する2つの屈曲部分よりも前記グリップが前方に位置する、
ことを特徴とする超音波診断器。
【請求項6】
請求項5記載の超音波診断器において、
前記ハンドルを前記スタンドとして使用する場合に、前記2つの屈曲部分が前記本体ユニットを載せている載置面に接触し、且つ、前記グリップと前記載置面との間に隙間が生じる、
ことを特徴とする超音波診断器。
【請求項7】
請求項1記載の超音波診断器において、
前記本体ユニットは重心を有し、
前記グリップを握って前記本体ユニットを吊り下げた場合に、前記重心を通過する鉛直線が前記グリップ内を通過する、
ことを特徴とする超音波診断器。
【請求項8】
請求項1記載の超音波診断器において、
前記ハンドルロック機構は、前記回転角度のロックを解除する際にユーザーによって操作されるノブを有する、
ことを特徴とする超音波診断器。
発明の詳細な説明
【技術分野】
【0001】
本開示は超音波診断器に関し、特に、ハンドルを有する超音波診断器に関する。
続きを表示(約 1,600 文字)
【背景技術】
【0002】
多くの医療機関において、手で持ち運ぶことが可能な超音波診断器(Ultrasonic diagnostic device)が活用されている。そのような可搬型の超音波診断器は、本体ユニット及び超音波プローブにより構成される。本体ユニットは、例えば、ノート型PC(Personal computer)のような形態を有している。その場合、本体ユニットは、超音波画像を生成する本体と超音波画像を表示する表示器とにより構成される。可搬型の超音波診断器は、一般に、専用カート上又は汎用テーブル上に設置された状態で使用される。可搬型の超音波診断器及びそれが設置されるカートにより、超音波診断装置(Ultrasonic diagnostic apparatus)が構成される。なお、可搬型の超音波診断器それ自体が超音波診断装置と呼ばれることもある。
【0003】
特許文献1には、可搬型の超音波診断器及びカートにより構成される超音波診断装置が開示されている。超音波診断器の本体はハンドルを有している。特許文献1には、本体に対してハンドルを固定する機構は記載されていない。
【0004】
特許文献2には、ハンドルを有する超音波診断器が開示されている。ハンドルは、超音波診断器の後部を覆うカバーとして機能し、また、超音波診断器のスタンドとしても機能する。特許文献2の第0045段落には、ハンドルがカバーとして機能している際に当該ハンドルをロックする機構についての言及が含まれる。特許文献2には、超音波診断器を搬送する場合におけるハンドルのロックについては記載されていない。
【先行技術文献】
【特許文献】
【0005】
特開2008- 23007号公報
特開2015-205007号公報
【発明の概要】
【発明が解決しようとする課題】
【0006】
ハンドルにおけるグリップを握って本体ユニット(本体及び表示器)を吊り下げながら、本体ユニットを搬送する場合において、ハンドルの回転角度の自由な変化が許容されていると、本体ユニットが他の物体(他の医療機器、ユーザー自身等)に接触又は衝突しやすくなる。特に、吊り下げ状態において、鉛直線に対する本体ユニットの傾斜角度が大きい場合(例えば、本体の傾斜角度が5度又は10度を超える場合)に、そのような問題が生じ易い。吊り下げ状態において、本体ユニットの傾斜角度を小さくしつつ、ハンドルの回転角度の自由な変化を防止することが望まれる。
【0007】
なお、超音波診断器を汎用のテーブル上に載置して超音波診断器を使用する場合、超音波診断器の本体ユニットを傾斜させるためにハンドルをスタンドとして機能させることが望まれる。その場合において、ハンドルにおけるグリップがテーブル表面に接触すると、グリップが汚れやすくなる。
【0008】
本開示の目的は、ハンドルにおけるグリップを握って本体ユニットを搬送する場合において本体ユニットを保護することにある。
【課題を解決するための手段】
【0009】
本開示に係る超音波診断器は、超音波画像を生成する本体と前記超音波画像を表示する表示器とを有する本体ユニットと、前記本体に設けられたヒンジ機構と、前記ヒンジ機構に連結された2つのアームと前記2つのアームに連結されたグリップとを有するハンドルと、を含み、前記ヒンジ機構は、前記グリップを握って前記本体ユニットを搬送する場合に、前記ハンドルの回転角度を第1回転角度にロックするハンドルロック機構を含む、を含むことを特徴とする。
【発明の効果】
【0010】
本開示によれば、ハンドルにおけるグリップを握って本体ユニットを搬送する場合において本体ユニットを保護できる。
【図面の簡単な説明】
(【0011】以降は省略されています)
この特許をJ-PlatPat(特許庁公式サイト)で参照する
関連特許
個人
健康器具
7か月前
個人
短下肢装具
2か月前
個人
鼾防止用具
7か月前
個人
洗井間専家。
6か月前
個人
脈波測定方法
7か月前
個人
嚥下鍛錬装置
2か月前
個人
白内障治療法
6か月前
個人
脈波測定方法
7か月前
個人
前腕誘導装置
2か月前
個人
アイマスク装置
1か月前
個人
歯の修復用材料
3か月前
個人
矯正椅子
4か月前
個人
胸骨圧迫補助具
29日前
個人
ホバーアイロン
5か月前
個人
バッグ式オムツ
3か月前
個人
汚れ防止シート
5日前
個人
湿布連続貼り機。
1か月前
個人
哺乳瓶冷まし容器
2か月前
個人
車椅子持ち上げ器
6か月前
三生医薬株式会社
錠剤
6か月前
個人
シャンプー
5か月前
個人
陣痛緩和具
2か月前
個人
口内洗浄具
7か月前
個人
歯の保護用シール
4か月前
株式会社結心
手袋
7か月前
個人
エア誘導コルセット
1か月前
株式会社八光
剥離吸引管
4か月前
個人
服薬支援装置
6か月前
個人
治療用酸化防御装置
23日前
個人
性行為補助具
2か月前
株式会社大野
骨壷
3か月前
株式会社コロナ
サウナ装置
5か月前
株式会社ニデック
眼科装置
17日前
株式会社ダリヤ
毛髪化粧料
7か月前
株式会社ニデック
眼科装置
17日前
株式会社ダリヤ
皮膚化粧料
6か月前
続きを見る
他の特許を見る