TOP
|
特許
|
意匠
|
商標
特許ウォッチ
Twitter
他の特許を見る
10個以上の画像は省略されています。
公開番号
2025150301
公報種別
公開特許公報(A)
公開日
2025-10-09
出願番号
2024051112
出願日
2024-03-27
発明の名称
回動抑制機構及びレンズ装置
出願人
富士フイルム株式会社
代理人
個人
,
個人
,
個人
,
個人
,
個人
主分類
G02B
7/02 20210101AFI20251002BHJP(光学)
要約
【課題】光学系に対する影響を軽減した状態で、操作リングの回動を抑制することができる回動抑制機構及びレンズ装置を提供すること。
【解決手段】回動抑制機構100は、光学系を固定する固定筒13の外周を光軸L周りに回動可能な操作リング5の回動抑制機構100であって、操作リング5に備えられ、光軸Lと交差する方向に移動ストロークを有し、先端部に付勢部を有する締付部材7と、付勢部からの押圧により操作リングの回動を抑制する中間筒11と、固定筒13に中間筒11を固定する複数の固定部材25と、を有し、複数の固定部材25は、中間筒11と固定筒13との間に隙間が有る状態で中間筒11を固定し、固定部材13に対して中間筒11を光軸Lと交差する方向に移動可能に固定する。
【選択図】図2
特許請求の範囲
【請求項1】
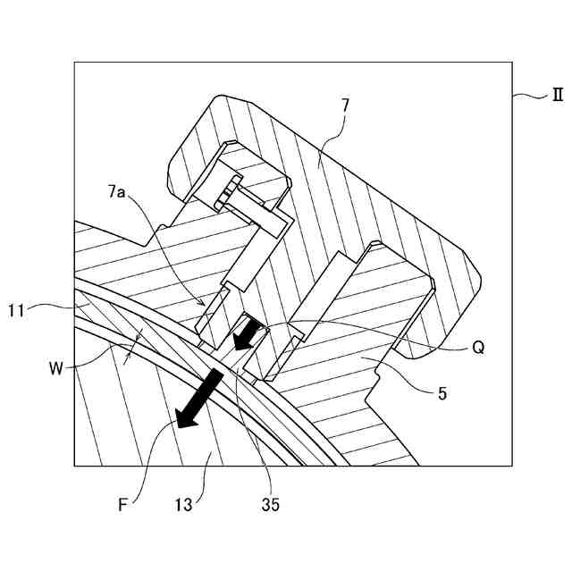
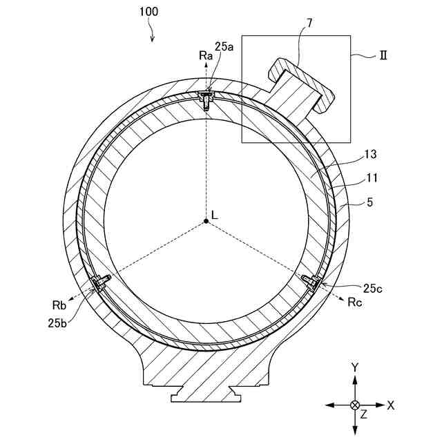
光学系を固定する固定筒の外周を光軸周りに回動可能な操作リングの回動抑制機構であって、
前記操作リングに備えられ、前記光軸と交差する方向に移動ストロークを有し、先端部に付勢部を有する締付部材と、
前記付勢部からの押圧により前記操作リングの回動を抑制する中間筒と、
前記固定筒に前記中間筒を固定する複数の固定部材と、
を有し、
前記複数の固定部材は、前記中間筒と前記固定筒との間に隙間が有る状態で前記中間筒を固定し、前記固定部材に対して前記中間筒を前記光軸と交差する方向に移動可能に固定する、回動抑制機構。
続きを表示(約 720 文字)
【請求項2】
前記複数の固定部材は、円筒形状で構成され、中心軸は前記光軸で交差する方向に向いて配置される請求項1に記載の回動抑制機構。
【請求項3】
前記隙間は、前記移動ストロークが最大になる場合に、前記中間筒の径の前記光軸と交差する方向の変位量よりも大きい請求項1に記載の回動抑制機構。
【請求項4】
前記中間筒は、前記隙間を有する第1の領域と、前記固定筒と接触する第2の領域で構成されている請求項1に記載の回動抑制機構。
【請求項5】
前記中間筒は、マウント部のボディ嵌合径から前記マウント部の最大径までの間に存在する請求項1に記載の回動抑制機構。
【請求項6】
前記複数の固定部材は、
第1の固定部材と、
前記第1の固定部材とは材質が異なる第2の固定部材とで構成される請求項1に記載の回動抑制機構。
【請求項7】
前記第1の固定部材は前記中間筒と接触する第1の接触部が樹脂で構成され、前記第2の固定部材は前記中間筒と接触する第2の接触部が金属で構成される請求項6に記載の回動抑制機構。
【請求項8】
前記第2の接触部と前記中間筒とは、前記第1の接触部に規定の負荷が加わった場合に接触する、請求項7に記載の回動抑制機構。
【請求項9】
前記複数の固定部材は、前記光軸に対して回転非対称に位置する2つの前記固定部材で構成される請求項1に記載の回動抑制機構。
【請求項10】
前記複数の固定部材は、3つの固定部材で構成される請求項1に記載の回動抑制機構。
(【請求項11】以降は省略されています)
発明の詳細な説明
【技術分野】
【0001】
本発明は、回動抑制機構及びレンズ装置に関し、特に操作リングの回動抑制機構及びその回動抑制機構を備えるレンズ装置に関する。
続きを表示(約 990 文字)
【背景技術】
【0002】
従来、レンズ鏡筒に三脚座が取り付けられたレンズ装置が知られている。
【0003】
例えば、特許文献1には、三脚座が取り付けられたレンズ鏡筒を有するレンズ装置が記載されている。特許文献1のレンズ装置は、レンズ鏡筒の外周に接する環状の部材を、光軸方向に締め付けることにより、環状の部材のレンズ鏡筒に対する回動を抑制する機構を有する。
【先行技術文献】
【特許文献】
【0004】
特開2017-76052号公報
【発明の概要】
【0005】
本開示の技術にかかる一つの実施形態は、光学系に対する影響を軽減した状態で、操作リングの回動を抑制することができる回動抑制機構及びレンズ装置を提供することである。
【課題を解決するための手段】
【0006】
本発明の第1の態様である回動抑制機構は、光学系を固定する固定筒の外周を光軸周りに回動可能な操作リングの回動抑制機構であって、操作リングに備えられ、光軸と交差する方向に移動ストロークを有し、先端部に付勢部を有する締付部材と、付勢部からの押圧により操作リングの回動を抑制する中間筒と、固定筒に中間筒を固定する複数の固定部材と、を有し、複数の固定部材は、中間筒と固定筒との間に隙間が有る状態で中間筒を固定し、固定部材に対して中間筒を光軸と交差する方向に移動可能に固定する。
【0007】
本発明の第2の態様は、第1の態様の回動抑制機構において、複数の固定部材は、円筒形状で構成され、中心軸は光軸で交差する方向に向いて配置される。
【0008】
本発明の第3の態様は、第1の態様の回動抑制機構において、隙間は、移動ストロークが最大になる場合に、中間筒の径の光軸と交差する方向の変位量よりも大きい。
【0009】
本発明の第4の態様は、第1の態様の回動抑制機構において、中間筒は、隙間を有する第1の領域と、固定筒と接触する第2の領域で構成されている。
【0010】
本発明の第5の態様は、第1の態様の回動抑制機構において、中間筒は、マウント部のボディ嵌合径からマウント部の最大径までの間に存在する。
(【0011】以降は省略されています)
この特許をJ-PlatPat(特許庁公式サイト)で参照する
関連特許
富士フイルム株式会社
内視鏡
1日前
富士フイルム株式会社
積層体
3日前
富士フイルム株式会社
内視鏡
1日前
富士フイルム株式会社
内視鏡
1日前
富士フイルム株式会社
内視鏡
1日前
富士フイルム株式会社
内視鏡
1日前
富士フイルム株式会社
塗布装置
1日前
富士フイルム株式会社
システム
1日前
富士フイルム株式会社
情報処理装置
2日前
富士フイルム株式会社
放射線撮影装置
1日前
富士フイルム株式会社
計測装置及び方法
4日前
富士フイルム株式会社
積層体及び包装体
2日前
富士フイルム株式会社
内視鏡補助具の操作装置
1日前
富士フイルム株式会社
異方導電性部材及び接合体
2日前
富士フイルム株式会社
マウント装置及び撮像装置
3日前
富士フイルム株式会社
超音波内視鏡及びシステム
1日前
富士フイルム株式会社
混合物、組成物、及び化合物
1日前
富士フイルム株式会社
回動抑制機構及びレンズ装置
2日前
富士フイルム株式会社
導電性フィルム、タッチパネル
2日前
富士フイルム株式会社
フタロシアニン化合物の製造方法
1日前
富士フイルム株式会社
感光性転写材料及びその製造方法
1日前
富士フイルム株式会社
ウェブ切換装置及びウェブ切換方法
1日前
富士フイルム株式会社
画像処理装置、方法およびプログラム
3日前
富士フイルム株式会社
医療支援装置、方法およびプログラム
1日前
富士フイルム株式会社
硬化物、積層体、及び、半導体デバイス
2日前
富士フイルム株式会社
硬化物、積層体、及び、半導体デバイス
2日前
富士フイルム株式会社
硬化物、積層体、及び、半導体デバイス
2日前
富士フイルム株式会社
動作音抑制装置及びX線断層像撮影装置
2日前
富士フイルム株式会社
情報処理装置、情報処理方法、及びプログラム
1日前
富士フイルム株式会社
制御装置、撮像装置、制御方法、及びプログラム
4日前
富士フイルム株式会社
制御装置、撮像装置、制御方法、及びプログラム
4日前
富士フイルム株式会社
制御装置、撮像装置、制御方法、及びプログラム
4日前
富士フイルム株式会社
医用画像撮影装置、及び医用画像撮影装置の制御方法
1日前
富士フイルム株式会社
多層膜、光学部材、撮像機器および多層膜の製造方法
1日前
富士フイルム株式会社
画像処理装置、画像処理方法、及び画像処理プログラム
4日前
富士フイルム株式会社
画像表示装置、画像表示方法、及び画像表示プログラム
1日前
続きを見る
他の特許を見る