TOP
|
特許
|
意匠
|
商標
特許ウォッチ
Twitter
他の特許を見る
10個以上の画像は省略されています。
公開番号
2025153100
公報種別
公開特許公報(A)
公開日
2025-10-10
出願番号
2024055393
出願日
2024-03-29
発明の名称
内視鏡
出願人
富士フイルム株式会社
代理人
個人
,
個人
,
個人
,
個人
,
個人
主分類
A61B
1/00 20060101AFI20251002BHJP(医学または獣医学;衛生学)
要約
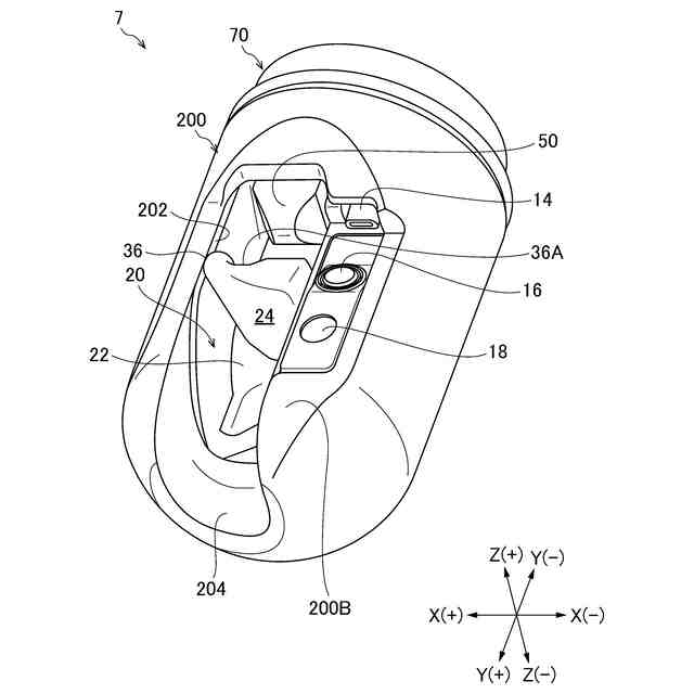
【課題】絶縁性の環状部材を備えた先端部の小径化を図ることができる内視鏡を提供する。
【解決手段】挿入部2の先端側に接続された導電性材料で構成された先端部材20と、先端部材20の基端側に装着される絶縁性の絶縁リング70と、を備え、先端部材20は、観察窓16と照明窓18と処置具導出口39とが配置される第1領域100と、第1領域100の基端側に設けられ、絶縁リング70が装着される第2領域110と、を有し、挿入部2の長手軸Axに垂直な投影面に第1領域100及び第2領域110を投影した場合、第2領域110の最大外径D2は第1領域100の最大外径D1よりも小さい。
【選択図】図10
特許請求の範囲
【請求項1】
挿入部の先端側に接続された導電性材料で構成された先端部材と、
前記先端部材の基端側に装着される絶縁性の環状部材と、
を備え、
前記先端部材は、観察窓と照明窓と処置具導出口とが配置される第1領域と、前記第1領域の基端側に設けられ、前記環状部材が装着される第2領域と、を有し、
前記挿入部の長手軸に垂直な投影面に前記第1領域及び前記第2領域を投影した場合、前記第2領域の最大外径は前記第1領域の最大外径よりも小さい、
内視鏡。
続きを表示(約 960 文字)
【請求項2】
前記投影面において互いに直交する2つの方向のうち一方を第1方向とし且つ他方を第2方向とした場合、前記第1方向における前記第2領域の外径は前記第1領域の外径よりも小さく、前記第2方向における前記第2領域の外径は前記第1領域の外径よりも小さい、
請求項1に記載の内視鏡。
【請求項3】
前記投影面において前記第2領域は前記第1領域に内包される、
請求項2に記載の内視鏡。
【請求項4】
前記投影面に前記環状部材を投影した場合、前記環状部材の最小内径は前記第1領域の最大外径よりも小さい、
請求項1に記載の内視鏡。
【請求項5】
前記環状部材は、変形可能な剛性を有し、
前記剛性は、前記環状部材が変形した場合でも前記第1領域の前記最大外径よりも前記環状部材の最小内径が小さくなる条件を満たす剛性である、
請求項1に記載の内視鏡。
【請求項6】
前記環状部材は、前記長手軸の方向から見て周方向に閉じた形状である、
請求項1に記載の内視鏡。
【請求項7】
前記環状部材は、前記第2領域の外周面に対応した形状を有する環状部材内周面と、前記環状部材内周面と反対側の環状部材外周面と、を有し、
前記環状部材外周面は、周方向に沿って形成された環状凸部と、前記環状凸部よりも基端側に設けられた第1外周面と、前記環状凸部よりも先端側に設けられた第2外周面と、を有する、
請求項1に記載の内視鏡。
【請求項8】
前記第1外周面は、前記先端部材の基端側に配置される湾曲部の外皮が装着される外皮装着面を構成し、
前記環状凸部は、前記外皮装着面に装着された前記外皮の先端が当接する外皮当接面を有する、
請求項7に記載の内視鏡。
【請求項9】
前記外皮装着面に装着された前記外皮を固定する外皮固定部を備える、
請求項8に記載の内視鏡。
【請求項10】
前記外皮固定部は、前記外皮の外周部に巻回された糸巻部と、前記糸巻部を覆う接着層と、を有する、
請求項9に記載の内視鏡。
(【請求項11】以降は省略されています)
発明の詳細な説明
【技術分野】
【0001】
本発明は内視鏡に係り、特に挿入部の先端部に絶縁性の環状部材が備えられた内視鏡に関する。
続きを表示(約 1,000 文字)
【背景技術】
【0002】
内視鏡では、操作部に設けられた処置具導入口から各種の処置具を導入し、この処置具を、挿入部の先端部に開口した処置具導出口から外部に導出して処置に用いる。例えば、十二指腸鏡では、造影チューブ又はガイドワイヤなどの処置具が使用される。
【0003】
十二指腸鏡は、挿入部の先端部を構成する先端部材が導電性材料で構成されている。このため、先端部材には樹脂などの絶縁性材料で構成された先端キャップが装着される。
【0004】
また、先端部材のうち、先端キャップが装着される先端側の領域よりも基端側の領域には、樹脂などの絶縁性材料で構成された環状部材が装着される。これにより、十二指腸鏡の先端部は、導電性の先端部材が絶縁性の先端キャップと環状部材とによって覆われる構成となっている。
【0005】
ここで、特許文献1には、先端部材の外周を絶縁リング(環状部材)によって囲んだ内視鏡が開示されている。
【0006】
また、特許文献2には、ブロック状の先端構成部の外周に環状の電気的絶縁部材を配設した内視鏡が開示されている。
【0007】
また、特許文献3には、先端部材の基端部の外周部に絶縁リング(環状部材)を設けた内視鏡が開示されている。
【先行技術文献】
【特許文献】
【0008】
国際公開第2021/152659号
特開2020-108415号公報
国際公開第19/230076号
【発明の概要】
【発明が解決しようとする課題】
【0009】
内視鏡においては、挿入部の先端部の外径(直径)を小径化(細径化)することが望まれているが、十二指腸鏡などのように、先端部材に環状部材(絶縁リング)が装着される内視鏡は、環状部材の外径によって先端部の外径が支配される場合がある。すなわち、環状部材の外径が大径化した場合、先端部の外径が大径化するという問題がある。
【0010】
本発明は、このような事情に鑑みてなされたもので、絶縁性の環状部材を備えた先端部の小径化を図ることができる内視鏡を提供することを目的とする。
【課題を解決するための手段】
(【0011】以降は省略されています)
この特許をJ-PlatPat(特許庁公式サイト)で参照する
関連特許
富士フイルム株式会社
塗布装置
2日前
富士フイルム株式会社
内視鏡補助具の操作装置
2日前
富士フイルム株式会社
混合物、組成物、及び化合物
2日前
富士フイルム株式会社
フタロシアニン化合物の製造方法
2日前
富士フイルム株式会社
感光性転写材料及びその製造方法
2日前
富士フイルム株式会社
ウェブ切換装置及びウェブ切換方法
2日前
富士フイルム株式会社
医療支援装置、方法およびプログラム
2日前
富士フイルム株式会社
情報処理装置、情報処理方法、及びプログラム
2日前
富士フイルム株式会社
画像表示装置、画像表示方法、及び画像表示プログラム
2日前
富士フイルム株式会社
不溶性担体を含む免疫学的測定試薬の製造方法、保存方法、測定対象物質の測定方法、および免疫学的測定試薬
2日前
富士フイルム株式会社
ポリイミド前駆体又はポリアミドイミド前駆体の製造方法、硬化性樹脂組成物の製造方法、硬化性樹脂組成物、及びポリイミド前駆体又はポリアミドイミド前駆体
2日前
個人
短下肢装具
2か月前
個人
前腕誘導装置
2か月前
個人
白内障治療法
7か月前
個人
洗井間専家。
6か月前
個人
嚥下鍛錬装置
3か月前
個人
歯の修復用材料
3か月前
個人
汚れ防止シート
13日前
個人
胸骨圧迫補助具
1か月前
個人
ホバーアイロン
6か月前
個人
アイマスク装置
1か月前
個人
バッグ式オムツ
3か月前
個人
矯正椅子
4か月前
個人
車椅子持ち上げ器
7か月前
個人
湿布連続貼り機。
1か月前
個人
哺乳瓶冷まし容器
2か月前
三生医薬株式会社
錠剤
6か月前
個人
歯の保護用シール
4か月前
個人
シャンプー
5か月前
個人
陣痛緩和具
3か月前
個人
エア誘導コルセット
1か月前
個人
治療用酸化防御装置
1か月前
株式会社大野
骨壷
3か月前
個人
服薬支援装置
6か月前
個人
性行為補助具
2か月前
株式会社八光
剥離吸引管
4か月前
続きを見る
他の特許を見る