TOP
|
特許
|
意匠
|
商標
特許ウォッチ
Twitter
他の特許を見る
10個以上の画像は省略されています。
公開番号
2025152704
公報種別
公開特許公報(A)
公開日
2025-10-10
出願番号
2024054734
出願日
2024-03-28
発明の名称
超音波内視鏡及びシステム
出願人
富士フイルム株式会社
代理人
弁理士法人航栄事務所
主分類
A61B
8/12 20060101AFI20251002BHJP(医学または獣医学;衛生学)
要約
【課題】超音波内視鏡とシステムを実現する。
【解決手段】挿入部の軸線方向に交差する第1方向に延びる振動子が湾曲状に複数配列されて構成された振動子アレイと、上記振動子アレイよりも上記挿入部の基端側に設けられた観察窓と、上記観察窓を含む撮像光学系と上記撮像光学系を通して撮像を行う撮像部とを含む撮像モジュールと、上記撮像光学系及び上記撮像部を支持する支持部材と、を備え、上記第1方向にみた場合の上記振動子アレイの開き角度は、90度以上180度未満であり、上記第1方向にみて、上記挿入部の軸線に垂直な方向における上記振動子アレイの一端縁が上記観察窓の観察視野に入り、上記観察視野の角度は、上記開き角度以下であり、上記支持部材は、上記撮像光学系が挿通される孔部と、上記撮像部を取り囲む側面と、を含み、上記側面と上記撮像部との間には隙間が形成されている超音波内視鏡。
【選択図】図4
特許請求の範囲
【請求項1】
挿入部の軸線方向に交差する第1方向に延びる振動子が湾曲状に複数配列されて構成された振動子アレイと、
前記振動子アレイよりも前記挿入部の基端側に設けられた観察窓と、
前記観察窓を含む撮像光学系と前記撮像光学系を通して撮像を行う撮像部とを含む撮像モジュールと、
前記撮像光学系及び前記撮像部を支持する支持部材と、を備え、
前記第1方向にみた場合の前記振動子アレイの開き角度は、90度以上180度未満であり、
前記第1方向にみて、前記挿入部の軸線に垂直な方向における前記振動子アレイの一端縁が前記観察窓の観察視野に入り、
前記観察視野の角度は、前記開き角度以下であり、
前記支持部材は、前記撮像光学系が挿通される孔部と、前記撮像部を取り囲む側面と、を含み、
前記側面と前記撮像部との間には隙間が形成されている超音波内視鏡。
続きを表示(約 830 文字)
【請求項2】
請求項1に記載の超音波内視鏡であって、
前記開き角度は、140度以上160度以下である超音波内視鏡。
【請求項3】
請求項2に記載の超音波内視鏡であって、
前記観察視野の角度は、120度以上140度以下である超音波内視鏡。
【請求項4】
請求項3に記載の超音波内視鏡であって、
前記第1方向にみて、前記振動子アレイの中心が前記観察窓の観察視野の両端を構成する光線の間に入る超音波内視鏡。
【請求項5】
請求項4に記載の超音波内視鏡であって、
前記第1方向にみて、前記一端縁よりも前記軸線側と反対側に、前記観察視野の中心が位置する超音波内視鏡。
【請求項6】
請求項5に記載の超音波内視鏡であって、
前記振動子アレイにおける前記挿入部の基端側の端縁と前記観察窓との前記軸線方向の距離は、10mm以下である超音波内視鏡。
【請求項7】
請求項1から6のいずれか1項に記載の超音波内視鏡であって、
前記隙間の第1距離は、前記孔部の内周面と前記撮像光学系の外周面との間の第2距離よりも大きい超音波内視鏡。
【請求項8】
請求項7に記載の超音波内視鏡であって、
前記撮像光学系は、光軸に垂直な方向の位置が前記孔部にて位置決めされている超音波内視鏡。
【請求項9】
請求項8に記載の超音波内視鏡であって、
前記振動子アレイよりも基端側に設けられた照明窓を有し、
前記第1方向にみて、前記照明窓の中心線は、前記一端縁よりも前記軸線側と反対側に位置する超音波内視鏡。
【請求項10】
請求項9に記載の超音波内視鏡であって、
前記軸線方向にみて、前記観察窓と前記照明窓は同じ方向に偏心して設けられている超音波内視鏡。
(【請求項11】以降は省略されています)
発明の詳細な説明
【技術分野】
【0001】
本開示の技術は、超音波内視鏡及びシステムに関する。
続きを表示(約 2,000 文字)
【背景技術】
【0002】
特許文献1から3には、コンベックスタイプの超音波内視鏡が記載されている。
【先行技術文献】
【特許文献】
【0003】
国際公開第2021/161497号
国際公開第2018/079792号
国際公開第2021/166985号
【発明の概要】
【発明が解決しようとする課題】
【0004】
本開示の目的は、先端部の小型化が可能な超音波内視鏡とこれを備えるシステムを提供することにある。
【課題を解決するための手段】
【0005】
本開示の技術に係る一つの実施形態の超音波内視鏡は、挿入部の軸線方向に交差する第1方向に延びる振動子が湾曲状に複数配列されて構成された振動子アレイと、上記振動子アレイよりも上記挿入部の基端側に設けられた観察窓と、上記観察窓を含む撮像光学系と上記撮像光学系を通して撮像を行う撮像部とを含む撮像モジュールと、上記撮像光学系及び上記撮像部を支持する支持部材と、を備え、上記第1方向にみた場合の上記振動子アレイの開き角度は、90度以上180度未満であり、上記第1方向にみて、上記挿入部の軸線に垂直な方向における上記振動子アレイの一端縁が上記観察窓の観察視野に入り、上記観察視野の角度は、上記開き角度以下であり、上記支持部材は、上記撮像光学系が挿通される孔部と、上記撮像部を取り囲む側面と、を含み、上記側面と上記撮像部との間には隙間が形成されているものである。
【発明の効果】
【0006】
本開示の技術によれば、先端部の小型化が可能な超音波内視鏡とこれを備えるシステムを提供することができる。
【図面の簡単な説明】
【0007】
図1は、本開示の技術の一実施形態である超音波内視鏡12を使用する超音波検査システム10の一例を示す概略構成図である。
図2は、図1に示す先端部40の部分拡大平面図である。
図3は、図2に示す先端部40を先端側から見た正面図である。
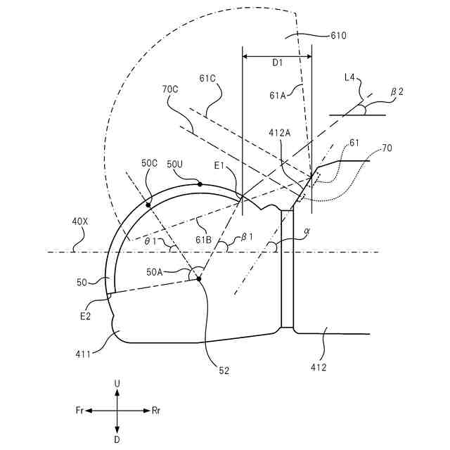
図4は、図2に示す先端部40を右側から見た側面図である。
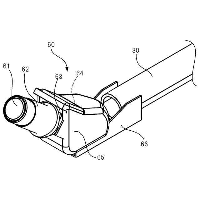
図5は、撮像モジュール60及び信号ケーブル80を模式的に示す斜視図である。
図6は、振動子アレイ50の第2駆動制御を説明するための模式図である。
図7は、図6に示す第2駆動制御を振動子アレイ50に設定される全ての振動子グループ51Gに対して行った場合に得られる受信データ群50Rに基づく超音波画像の一例を示す模式図である。
図8は、振動子アレイ50の第1駆動制御を説明するための模式図である。
図9は、図8に示す第2駆動制御を振動子アレイ50の一端縁E1側の端部に設定される振動子グループ51Gに対して行った場合に得られる受信データ群50Rに基づく超音波画像501の一例を示す模式図である。
図10は、振動子アレイ50の基端側の端部に設定する振動子グループ51Gに対して第1駆動制御を行い、それ以外の振動子グループ51Gに対して第2駆動制御を行う場合の超音波ビームの状態を説明する模式図である。
図11は、第2外装体412の内部構造を基端側から見た図である。
図12は、図11に示す第2外装体412の分解斜視図である。
図13は、図11を部分的に拡大して示す斜視図である。
図14は、孔部420とレンズ鏡胴62の大きさを説明するための模式図である。
【発明を実施するための形態】
【0008】
図1は、本開示の技術の一実施形態である超音波内視鏡12を使用する超音波検査システム10の一例を示す概略構成図である。超音波検査システム10は、システムを構成する。超音波検査システム10は、超音波内視鏡12と、超音波画像を生成する超音波用プロセッサ装置14と、内視鏡画像を生成する内視鏡用プロセッサ装置16と、体腔内を照明する照明光を超音波内視鏡12に供給する光源装置18と、超音波画像及び内視鏡画像を表示するモニタ20と、洗浄水等を貯留する送水タンク21aと、体腔内の吸引物を吸引する吸引ポンプ21bと、を備える。
【0009】
超音波内視鏡12は、被検体の体腔内に挿入される挿入部22と、挿入部22の基端部に連設され、術者が操作を行うための操作部24と、操作部24に一端が接続されたユニバーサルコード26とを有する。
【0010】
操作部24には、送水タンク21aからの送気送水管路(不図示)を開閉する送気送水ボタン28aと、吸引ポンプ21bからの吸引管路(不図示)を開閉する吸引ボタン28bとが並設される。操作部24には、一対のアングルノブ29と処置具挿入口30とが設けられる。
(【0011】以降は省略されています)
この特許をJ-PlatPat(特許庁公式サイト)で参照する
関連特許
富士フイルム株式会社
内視鏡
2日前
富士フイルム株式会社
内視鏡
2日前
富士フイルム株式会社
積層体
4日前
富士フイルム株式会社
内視鏡
2日前
富士フイルム株式会社
内視鏡
2日前
富士フイルム株式会社
内視鏡
2日前
富士フイルム株式会社
システム
2日前
富士フイルム株式会社
塗布装置
2日前
富士フイルム株式会社
情報処理装置
3日前
富士フイルム株式会社
放射線撮影装置
2日前
富士フイルム株式会社
積層体及び包装体
3日前
富士フイルム株式会社
計測装置及び方法
5日前
富士フイルム株式会社
内視鏡補助具の操作装置
2日前
富士フイルム株式会社
マウント装置及び撮像装置
4日前
富士フイルム株式会社
超音波内視鏡及びシステム
2日前
富士フイルム株式会社
異方導電性部材及び接合体
3日前
富士フイルム株式会社
回動抑制機構及びレンズ装置
3日前
富士フイルム株式会社
混合物、組成物、及び化合物
2日前
富士フイルム株式会社
導電性フィルム、タッチパネル
3日前
富士フイルム株式会社
感光性転写材料及びその製造方法
2日前
富士フイルム株式会社
フタロシアニン化合物の製造方法
2日前
富士フイルム株式会社
ウェブ切換装置及びウェブ切換方法
2日前
富士フイルム株式会社
画像処理装置、方法およびプログラム
4日前
富士フイルム株式会社
医療支援装置、方法およびプログラム
2日前
富士フイルム株式会社
硬化物、積層体、及び、半導体デバイス
3日前
富士フイルム株式会社
硬化物、積層体、及び、半導体デバイス
3日前
富士フイルム株式会社
動作音抑制装置及びX線断層像撮影装置
3日前
富士フイルム株式会社
硬化物、積層体、及び、半導体デバイス
3日前
富士フイルム株式会社
情報処理装置、情報処理方法、及びプログラム
2日前
富士フイルム株式会社
医用画像撮影装置、及び医用画像撮影装置の制御方法
2日前
富士フイルム株式会社
多層膜、光学部材、撮像機器および多層膜の製造方法
2日前
富士フイルム株式会社
画像処理装置、画像処理方法、及び画像処理プログラム
4日前
富士フイルム株式会社
画像表示装置、画像表示方法、及び画像表示プログラム
2日前
富士フイルム株式会社
画像処理装置、画像処理方法、及び画像処理プログラム
4日前
富士フイルム株式会社
情報処理装置、撮像装置、情報処理方法、及び情報処理プログラム
2日前
富士フイルム株式会社
インクジェットインク、画像記録方法、及び、ラミネート体の製造方法
4日前
続きを見る
他の特許を見る