TOP
|
特許
|
意匠
|
商標
特許ウォッチ
Twitter
他の特許を見る
10個以上の画像は省略されています。
公開番号
2025152698
公報種別
公開特許公報(A)
公開日
2025-10-10
出願番号
2024054726
出願日
2024-03-28
発明の名称
システム
出願人
富士フイルム株式会社
代理人
弁理士法人航栄事務所
主分類
A61B
8/12 20060101AFI20251002BHJP(医学または獣医学;衛生学)
要約
【課題】先端部の小型化が可能な超音波内視鏡を提供なシステムを実現する。
【解決手段】挿入部の軸線方向に交差する第1方向に延びる振動子が湾曲状に複数配列されて構成された振動子アレイを有する超音波内視鏡と、上記振動子アレイを制御して得られる上記振動子アレイの出力信号に基づいて超音波画像を生成する処理を行うプロセッサと、を備え、上記第1方向にみた場合の上記振動子アレイの開き角度は、90度以上180度未満であり、上記プロセッサは、上記開き角度よりも大きい第1視野角の上記超音波画像を生成する第1制御を行うシステム。
【選択図】図4
特許請求の範囲
【請求項1】
挿入部の軸線方向に交差する第1方向に延びる振動子が湾曲状に複数配列されて構成された振動子アレイを有する超音波内視鏡と、
前記振動子アレイを制御して得られる前記振動子アレイの出力信号に基づいて超音波画像を生成する処理を行うプロセッサと、を備え、
前記第1方向にみた場合の前記振動子アレイの開き角度は、90度以上180度未満であり、
前記プロセッサは、前記開き角度よりも大きい第1視野角の前記超音波画像を生成する第1制御を行うシステム。
続きを表示(約 890 文字)
【請求項2】
請求項1に記載のシステムであって、
前記開き角度は、140度以上160度以下であるシステム。
【請求項3】
請求項2に記載のシステムであって、
前記第1視野角は、前記開き角度より15度以上大きいシステム。
【請求項4】
請求項3に記載のシステムであって、
前記第1視野角は、180度以下であるシステム。
【請求項5】
請求項1から4のいずれか1項に記載のシステムであって、
前記振動子アレイは、前記振動子が円の弧に沿って配列されて構成され、
前記プロセッサは、前記第1制御において、前記第1方向にみて、超音波ビームを生成する振動子グループにおける中心の前記振動子と前記円の中心とを結ぶ第3方向に交差する第2方向に前記超音波ビームを伝搬させる第1駆動制御を、前記振動子アレイの少なくとも一部に対して行うシステム。
【請求項6】
請求項5に記載のシステムであって、
前記プロセッサは、少なくとも前記開き角度を超えた部分の前記超音波画像を生成する前記振動子アレイの領域に対して前記第1駆動制御を行うシステム。
【請求項7】
請求項6に記載のシステムであって、
前記第2方向は、前記第3方向よりも前記挿入部の基端側の方向を含むシステム。
【請求項8】
請求項7に記載のシステムであって、
前記第2方向は、前記第3方向よりも前記挿入部の先端側の方向を含むシステム。
【請求項9】
請求項5に記載のシステムであって、
前記プロセッサは、前記第1制御において、前記第1方向にみて、前記第3方向に超音波ビームを伝搬させる第2駆動制御を、前記振動子アレイの一部に対して行うシステム。
【請求項10】
請求項9に記載のシステムであって、
前記第2駆動制御を行う対象となる前記振動子アレイの一部は、前記振動子アレイの中心部であるシステム。
(【請求項11】以降は省略されています)
発明の詳細な説明
【技術分野】
【0001】
本開示の技術は、システムに関する。
続きを表示(約 1,900 文字)
【背景技術】
【0002】
特許文献1から3には、コンベックスタイプの超音波内視鏡が記載されている。
【先行技術文献】
【特許文献】
【0003】
国際公開第2021/161497号
国際公開第2018/079792号
国際公開第2021/166985号
【発明の概要】
【発明が解決しようとする課題】
【0004】
本開示の目的は、先端部の小型化が可能な超音波内視鏡を提供することにある。
【課題を解決するための手段】
【0005】
本開示の技術に係る一つの実施形態のシステムは、挿入部の軸線方向に交差する第1方向に延びる振動子が湾曲状に複数配列されて構成された振動子アレイを有する超音波内視鏡と、上記振動子アレイを制御して得られる上記振動子アレイの出力信号に基づいて超音波画像を生成する処理を行うプロセッサと、を備え、上記第1方向にみた場合の上記振動子アレイの開き角度は、90度以上180度未満であり、上記プロセッサは、上記開き角度よりも大きい第1視野角の上記超音波画像を生成する第1制御を行う、ものである。
【発明の効果】
【0006】
本開示の技術によれば、先端部の小型化が可能な超音波内視鏡を提供することができる。
【図面の簡単な説明】
【0007】
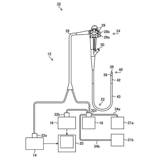
図1は、本開示の技術の一実施形態である超音波内視鏡12を使用する超音波検査システム10の一例を示す概略構成図である。
図2は、図1に示す先端部40の部分拡大平面図である。
図3は、図2に示す先端部40を先端側から見た正面図である。
図4は、図2に示す先端部40を右側から見た側面図である。
図5は、撮像モジュール60及び信号ケーブル80を模式的に示す斜視図である。
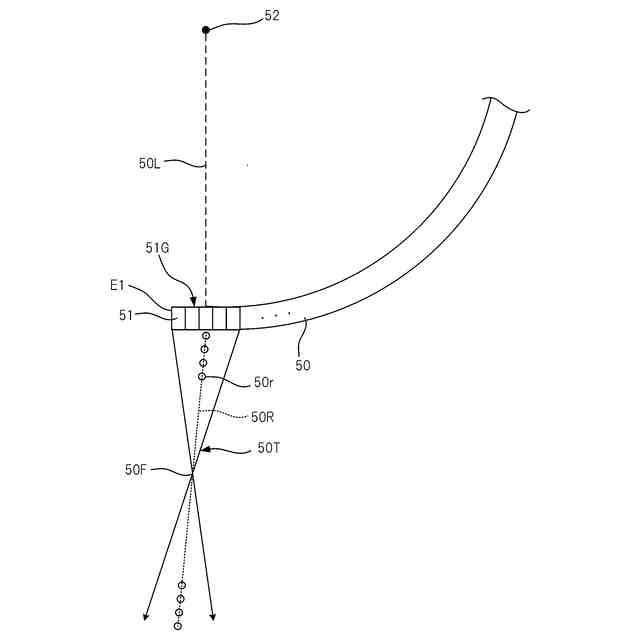
図6は、振動子アレイ50の第2駆動制御を説明するための模式図である。
図7は、図6に示す第2駆動制御を振動子アレイ50に設定される全ての振動子グループ51Gに対して行った場合に得られる受信データ群50Rに基づく超音波画像の一例を示す模式図である。
図8は、振動子アレイ50の第1駆動制御を説明するための模式図である。
図9は、図8に示す第2駆動制御を振動子アレイ50の一端縁E1側の端部に設定される振動子グループ51Gに対して行った場合に得られる受信データ群50Rに基づく超音波画像501の一例を示す模式図である。
図10は、振動子アレイ50の基端側の端部に設定する振動子グループ51Gに対して第1駆動制御を行い、それ以外の振動子グループ51Gに対して第2駆動制御を行う場合の超音波ビームの状態を説明する模式図である。
図11は、第2外装体412の内部構造を基端側から見た図である。
図12は、図11に示す第2外装体412の分解斜視図である。
図13は、図11を部分的に拡大して示す斜視図である。
図14は、孔部420とレンズ鏡胴62の大きさを説明するための模式図である。
【発明を実施するための形態】
【0008】
図1は、本開示の技術の一実施形態である超音波内視鏡12を使用する超音波検査システム10の一例を示す概略構成図である。超音波検査システム10は、システムを構成する。超音波検査システム10は、超音波内視鏡12と、超音波画像を生成する超音波用プロセッサ装置14と、内視鏡画像を生成する内視鏡用プロセッサ装置16と、体腔内を照明する照明光を超音波内視鏡12に供給する光源装置18と、超音波画像及び内視鏡画像を表示するモニタ20と、洗浄水等を貯留する送水タンク21aと、体腔内の吸引物を吸引する吸引ポンプ21bと、を備える。
【0009】
超音波内視鏡12は、被検体の体腔内に挿入される挿入部22と、挿入部22の基端部に連設され、術者が操作を行うための操作部24と、操作部24に一端が接続されたユニバーサルコード26とを有する。
【0010】
操作部24には、送水タンク21aからの送気送水管路(不図示)を開閉する送気送水ボタン28aと、吸引ポンプ21bからの吸引管路(不図示)を開閉する吸引ボタン28bとが並設される。操作部24には、一対のアングルノブ29と処置具挿入口30とが設けられる。
(【0011】以降は省略されています)
この特許をJ-PlatPat(特許庁公式サイト)で参照する
関連特許
富士フイルム株式会社
内視鏡
1日前
富士フイルム株式会社
内視鏡
1日前
富士フイルム株式会社
内視鏡
1日前
富士フイルム株式会社
内視鏡
1日前
富士フイルム株式会社
内視鏡
1日前
富士フイルム株式会社
塗布装置
1日前
富士フイルム株式会社
システム
1日前
富士フイルム株式会社
情報処理装置
2日前
富士フイルム株式会社
放射線撮影装置
1日前
富士フイルム株式会社
内視鏡補助具の操作装置
1日前
富士フイルム株式会社
異方導電性部材及び接合体
2日前
富士フイルム株式会社
超音波内視鏡及びシステム
1日前
富士フイルム株式会社
混合物、組成物、及び化合物
1日前
富士フイルム株式会社
導電性フィルム、タッチパネル
2日前
富士フイルム株式会社
フタロシアニン化合物の製造方法
1日前
富士フイルム株式会社
感光性転写材料及びその製造方法
1日前
富士フイルム株式会社
ウェブ切換装置及びウェブ切換方法
1日前
富士フイルム株式会社
医療支援装置、方法およびプログラム
1日前
富士フイルム株式会社
硬化物、積層体、及び、半導体デバイス
2日前
富士フイルム株式会社
動作音抑制装置及びX線断層像撮影装置
2日前
富士フイルム株式会社
硬化物、積層体、及び、半導体デバイス
2日前
富士フイルム株式会社
硬化物、積層体、及び、半導体デバイス
2日前
富士フイルム株式会社
情報処理装置、情報処理方法、及びプログラム
1日前
富士フイルム株式会社
多層膜、光学部材、撮像機器および多層膜の製造方法
1日前
富士フイルム株式会社
医用画像撮影装置、及び医用画像撮影装置の制御方法
1日前
富士フイルム株式会社
画像表示装置、画像表示方法、及び画像表示プログラム
1日前
富士フイルム株式会社
情報処理装置、撮像装置、情報処理方法、及び情報処理プログラム
1日前
富士フイルム株式会社
情報処理装置、画像撮影システム、プログラム更新方法、及びプログラム更新プログラム
1日前
富士フイルム株式会社
不溶性担体を含む免疫学的測定試薬の製造方法、保存方法、測定対象物質の測定方法、および免疫学的測定試薬
1日前
富士フイルム株式会社
樹脂組成物、硬化物、積層体、硬化物の製造方法、積層体の製造方法、半導体デバイスの製造方法、及び、半導体デバイス
2日前
富士フイルム株式会社
樹脂組成物、硬化物、積層体、硬化物の製造方法、積層体の製造方法、半導体デバイスの製造方法、及び、半導体デバイス
2日前
富士フイルム株式会社
感活性光線性又は感放射線性樹脂組成物、感活性光線性又は感放射線性膜、パターン形成方法、及び電子デバイスの製造方法
2日前
富士フイルム株式会社
ポリイミド前駆体又はポリアミドイミド前駆体の製造方法、硬化性樹脂組成物の製造方法、硬化性樹脂組成物、及びポリイミド前駆体又はポリアミドイミド前駆体
1日前
個人
健康器具
7か月前
個人
短下肢装具
2か月前
個人
鼾防止用具
7か月前
続きを見る
他の特許を見る