TOP
|
特許
|
意匠
|
商標
特許ウォッチ
Twitter
他の特許を見る
10個以上の画像は省略されています。
公開番号
2025145616
公報種別
公開特許公報(A)
公開日
2025-10-03
出願番号
2024045893
出願日
2024-03-22
発明の名称
超音波診断装置
出願人
富士フイルム株式会社
代理人
弁理士法人YKI国際特許事務所
主分類
A61B
8/00 20060101AFI20250926BHJP(医学または獣医学;衛生学)
要約
【課題】カート上に装置本体が搭載される超音波診断装置において、装置本体のカートか
らの脱着を容易にする。
【解決手段】カートは装置本体が載置される載置台30を有する。載置台30は、装置本
体を載置台30に対してロックするロック機構と、装置本体とカートの間で信号接続およ
び/または電源接続を行うコネクタ接続機構とを備える。ロック機構は、装置本体に対し
て進退するロックピン50を有し、コネクタ接続機構は、装置本体に対して進退するカー
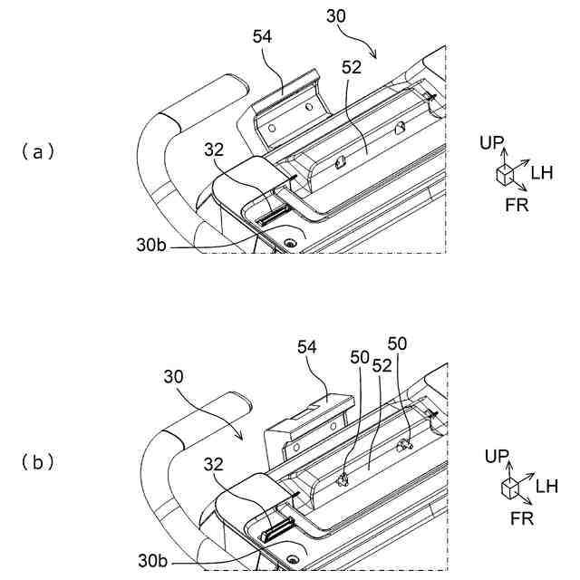
ト側コネクタ32を有する。単一の操作レバー54を操作すると、ロックピン50および
カート側コネクタ32が同時に進退する。1つの操作でロックとコネクタ接続ができる。
【選択図】図7
特許請求の範囲
【請求項1】
装置本体と、前記装置本体を着脱可能に支持する支持構造体とを含む超音波診断装置で
あって、
前記装置本体を前記支持構造体に解除可能にロックするロック機構と、
前記装置本体と前記支持構造体間の信号接続および電源接続の一方または両方を切断可
能に実現するコネクタ接続機構と、
前記ロック機構をロックおよびロック解除動作させ、前記コネクタ接続機構を接続およ
び切断動作させる単一の操作子と、
を備え、
前記操作子の1つの操作に応じて前記ロック機構と前記コネクタ接続機構が共に動作す
る、超音波診断装置。
続きを表示(約 330 文字)
【請求項2】
請求項1に記載の超音波診断装置であって、前記ロック機構によるロックと、前記コネ
クタ接続機構による接続とを行うとき、前記ロック機構によるロックの後に、前記コネク
タ接続機構による接続が行われる、超音波診断装置。
【請求項3】
請求項1に記載の超音波診断装置であって、
前記ロック機構は、前記装置本体に向けて進出して係合するロックピンを有し、
前記コネクタ接続機構は、前記装置本体に設けられた本体側コネクタに向けて進出して
係合する支持構造体側コネクタを有し、
前記ロックピンの進出方向と、前記支持構造体側コネクタの進出方向が直交している、
超音波診断装置。
発明の詳細な説明
【技術分野】
【0001】
本発明は、超音波診断装置、特に装置本体が、装置本体を支持する支持構造体から着脱
可能な超音波診断装置に関する。
続きを表示(約 1,500 文字)
【背景技術】
【0002】
カート形態の支持構造体と、支持構造体に対し着脱可能な装置本体とを有する超音波診
断装置が知られている。支持構造体がカート形態であることによって超音波診断装置の移
動が容易となる。さらに、装置本体が支持構造体から着脱可能であれば、装置本体を取り
外して単独で携帯することが可能となり、運搬性が向上する。
【0003】
下記特許文献1には、全体としてカート形の超音波診断システム(1)が開示されてお
り、装置本体(2)はトレイ(91)上に載置されている。装置本体(2)をドッキング
コネクタ(92)に向けてトレイ(91)上をスライドさせて装置本体(2)とドッキン
グコネクタ(92)が接続することで、装置本体(2)に電源供給と、制御信号および画
像信号等の送受信とが可能となる。
【0004】
下記特許文献2には、カート(20)と、カート(20)が備えるデスク(22)上に
置かれた本体(10)とを含む医療装置(1)が示されている。本体(10)は、デスク
(22)に対して着脱可能である。
【先行技術文献】
【特許文献】
【0005】
特開2021-191368号公報
特開2010-12226号公報
【発明の概要】
【発明が解決しようとする課題】
【0006】
支持構造体に対して着脱可能な装置本体を有する超音波診断装置においては、制御信号
および映像信号等の送受信、ならびに電力供給を行うためのコネクタの接続では、装置本
体の十分な固定ができない場合がある。信号および電力の少なくとも一方のためのコネク
タに加えて装置本体を固定するロック構造を設ける場合、装置本体の着脱の際コネクタの
接続/切断と、ロック機構のロック/ロック解除との両方を行う必要があり、装置本体の
着脱操作が煩雑になる。
【0007】
本発明は、支持構造体に対する装置本体の着脱操作を簡略化することを目的とする。
【課題を解決するための手段】
【0008】
本発明に係る超音波診断装置は、装置本体と、装置本体を着脱可能に支持する支持構造
体とを含み、装置本体を支持構造体に解除可能にロックするロック機構と、装置本体と支
持構造体間の信号接続および電源接続の一方または両方を切断可能に実現するコネクタ接
続機構と、ロック機構をロックおよびロック解除動作させ、コネクタ接続機構を接続およ
び切断動作させる単一の操作子とを備える。操作子の1つの操作に応じてロック機構とコ
ネクタ接続機構が共に動作する。
【0009】
装置本体の支持構造体へのロックとコネクタの接続を1つの操作で実現できる。また、
装置本体の支持構造体へのロックの解除とコネクタの切断を1つの操作で実現できる。
【0010】
上記の超音波診断装置において、ロック機構によるロックと、コネクタ接続機構による
接続とを行うとき、ロック機構によるロックの後に、コネクタ接続機構による接続が行わ
れるようにしてよい。コネクタを接続する際、装置本体がロック機構によって固定されて
いるため、装置本体が動かず、コネクタを確実に接続することができる。
(【0011】以降は省略されています)
この特許をJ-PlatPat(特許庁公式サイト)で参照する
関連特許
富士フイルム株式会社
混合物、組成物、及び化合物
2日前
富士フイルム株式会社
フタロシアニン化合物の製造方法
2日前
富士フイルム株式会社
ウェブ切換装置及びウェブ切換方法
2日前
富士フイルム株式会社
ポリイミド前駆体又はポリアミドイミド前駆体の製造方法、硬化性樹脂組成物の製造方法、硬化性樹脂組成物、及びポリイミド前駆体又はポリアミドイミド前駆体
2日前
個人
短下肢装具
2か月前
個人
白内障治療法
7か月前
個人
洗井間専家。
6か月前
個人
嚥下鍛錬装置
3か月前
個人
前腕誘導装置
2か月前
個人
汚れ防止シート
13日前
個人
ホバーアイロン
6か月前
個人
アイマスク装置
1か月前
個人
バッグ式オムツ
3か月前
個人
矯正椅子
4か月前
個人
胸骨圧迫補助具
1か月前
個人
歯の修復用材料
3か月前
個人
陣痛緩和具
3か月前
個人
哺乳瓶冷まし容器
2か月前
三生医薬株式会社
錠剤
6か月前
個人
シャンプー
5か月前
個人
車椅子持ち上げ器
7か月前
個人
歯の保護用シール
4か月前
個人
湿布連続貼り機。
1か月前
個人
治療用酸化防御装置
1か月前
株式会社大野
骨壷
3か月前
個人
エア誘導コルセット
1か月前
個人
性行為補助具
2か月前
個人
服薬支援装置
6か月前
株式会社八光
剥離吸引管
4か月前
株式会社ニデック
眼科装置
2日前
個人
手指運動ツール
1か月前
株式会社ダリヤ
皮膚化粧料
7か月前
株式会社ニデック
眼科装置
3か月前
株式会社ダリヤ
毛髪化粧料
23日前
株式会社ニデック
検眼装置
3か月前
株式会社ニデック
眼科装置
25日前
続きを見る
他の特許を見る