TOP
|
特許
|
意匠
|
商標
特許ウォッチ
Twitter
他の特許を見る
10個以上の画像は省略されています。
公開番号
2025146956
公報種別
公開特許公報(A)
公開日
2025-10-03
出願番号
2025126208,2021211510
出願日
2025-07-29,2021-12-24
発明の名称
発泡剤添加装置、吹付用発泡機、発泡剤添加方法及び発泡体製造方法
出願人
積水化学工業株式会社
代理人
個人
,
個人
主分類
B29C
44/36 20060101AFI20250926BHJP(プラスチックの加工;可塑状態の物質の加工一般)
要約
【課題】液体流路内の液体圧力に応じる制御ではなく、液体ポンプの駆動状況に応じた制御とすることで、液体ポンプの脈動の影響を受けることなく、液体流路を流れる液体に対して発泡剤を安定して供給することが可能な発泡剤添加装置、吹付用発泡機、発泡剤添加方法及び発泡体製造方法を提供する。
【解決手段】液体ポンプ40によって供給され、かつ液体流路30を流れる液体L1に対して発泡剤Eを添加させるための発泡剤添加装置10であって、液体ポンプ40の駆動を検知するポンプ駆動検知部41と、発泡剤Eを収容する発泡剤容器11と、発泡剤容器11から供給された発泡剤Eを流す発泡剤流路12と、液体流路12に所定量の発泡剤Eを供給する発泡剤計量ポンプ50と、液体L1に対する発泡剤Eの添加を開閉によって制御する開閉弁60と、ポンプ駆動検知部41によって検知された液体ポンプ40の駆動状況に応じて、開閉弁60を開弁する制御をする開閉弁制御部61とを備える。
【選択図】図1
特許請求の範囲
【請求項1】
液体ポンプによって供給され、かつ液体流路を流れる液体に対して発泡剤を添加させるための発泡剤添加装置であって、
前記液体ポンプの駆動を検知するポンプ駆動検知部と、
前記発泡剤を収容する発泡剤容器と、
前記発泡剤容器から供給された前記発泡剤を流す発泡剤流路と、
前記液体流路に所定量の前記発泡剤を供給する発泡剤計量ポンプと、
前記液体に対する前記発泡剤の添加を開閉によって制御する開閉弁と、
前記ポンプ駆動検知部によって検知された前記液体ポンプの駆動状況に応じて、前記開閉弁を開弁する制御をする開閉弁制御部とを備える、発泡剤添加装置。
続きを表示(約 770 文字)
【請求項2】
前記開閉弁制御部は、液体ポンプの駆動位置が予め定められた位置になった際に、前記開閉弁を開弁する、請求項1に記載の発泡剤添加装置。
【請求項3】
前記開閉弁制御部は、前記液体に対して前記所定量の前記発泡剤を添加した際に、前記開閉弁を閉弁する制御をする、請求項1又は2に記載の発泡剤添加装置。
【請求項4】
前記発泡剤計量ポンプは、容積式ポンプである、請求項1~3のいずれか1項に記載の発泡剤添加装置。
【請求項5】
前記発泡剤計量ポンプは、往復式ポンプである、請求項1~4のいずれか1項に記載の発泡剤添加装置。
【請求項6】
前記発泡剤計量ポンプの上流側に、前記発泡剤流路を流れる前記発泡剤の圧力を所定圧力まで加圧する発泡剤加圧ポンプを備える、請求項1~5のいずれか1項に記載の発泡剤添加装置。
【請求項7】
前記発泡剤加圧ポンプは、前記発泡剤を連続的に加圧するポンプである、請求項6に記載の発泡剤添加装置。
【請求項8】
前記発泡剤加圧ポンプは、アキシャルポンプ及びギアポンプのいずれかである、請求項6又は7に記載の発泡剤添加装置。
【請求項9】
前記発泡剤加圧ポンプと前記発泡剤計量ポンプとの間に、前記発泡剤流路を流れる前記発泡剤の圧力を測定する発泡剤圧力計を備え、
前記発泡剤加圧ポンプが、発泡剤圧力計により測定される圧力値が前記所定圧力となるまで前記発泡剤を加圧する、請求項6~8のいずれか1項に記載の発泡剤添加装置。
【請求項10】
前記液体は、ポリオール又はポリイソシアネートを含むである、請求項1~9のいずれか1項に記載の発泡剤添加装置。
(【請求項11】以降は省略されています)
発明の詳細な説明
【技術分野】
【0001】
本発明は、液体に対して発泡剤を添加させるための発泡剤添加装置、吹付用発泡機、発泡剤添加方法及び発泡体製造方法に関する。
続きを表示(約 5,000 文字)
【背景技術】
【0002】
従来、建築物や構造物の屋根、壁面、床等に、現場にてポリオールとイソシアネートを混合させ、その混合物を吹き付けて発泡させることにより、ポリウレタンフォームを形成する施工方法が広く知られている。ポリウレタンフォームの施工性を補助する方法として、例えば、ポリオールとイソシアネートの2成分を混合するとき、第3成分として発泡剤を添加する方法(以下「フロス法」という。)が知られている。フロス法では、例えば、ポリオール又はイソシアネートを供給するための液体流路に接続される発泡剤流路が設けられ、タンクなどから発泡剤流路を介して、発泡剤としての二酸化炭素などを液体流路内のポリオール又はイソシアネートに添加させる発泡剤添加装置が一般的に使用されている。発泡剤添加装置において二酸化炭素などの発泡剤が添加されたポリオール又はイソシアネートは、さらにイソシアネート又はポリオールと混合されたうえで外部に向けて吐出される。
【0003】
発泡剤添加装置の液体流路内における液体は、加圧状態で供給されることが一般的であり、発泡剤は、液体流路内の液体圧力よりも高い圧力に加圧されたうえで液体流路に添加することで、液体に安定して混合させることができる。そこで、液体流路内の液体圧力と発泡剤流路内の発泡剤圧力を測定し、発泡剤圧力が液体圧力よりも高いときに開閉弁を開弁して発泡剤を液体に添加する制御がされる装置が使用されている(例えば、特許文献1参照)。
また、発泡剤容器を加熱することによって、発泡剤ポンプを用いることなく、液体流路内の液体圧よりも高い圧力まで発泡剤圧力を加圧し、発泡剤圧力と液体圧力の差圧によって、発泡剤を液体に添加する制御がされる装置も開示されている(例えば、特許文献2、3参照)。
【先行技術文献】
【特許文献】
【0004】
特許第6395556号公報
特許第5255239号公報
特許第5255380号公報
【発明の概要】
【発明が解決しようとする課題】
【0005】
従来の発泡剤添加装置においては、発泡剤を添加する条件として、発泡剤圧力が液体圧力よりも高いことが必要であるため、液体流路内の液体圧力を検知しつつ、発泡剤の添加を制御している。しかし、従来の発泡剤添加装置においては、液体流路を流れる液体が液体ポンプによって脈動して供給されるため、液体流路内の液体圧力は、液体ポンプの脈動の影響を受けやすく、液体圧力に応じる制御方法では発泡剤の添加を制御することが難しい。
また、従来の発泡剤添加装置においては、開閉弁を開弁して発泡剤を液体に添加する際の液体圧力と発泡剤圧力との差圧や、開閉弁の開弁時間によって発泡剤の添加量が変動してしまうため、発泡剤の添加量の定量性の把握が難しく、発泡剤の添加量の調整が困難であった。
また、添加する発泡剤としては、コスト削減の観点から、二酸化炭素が使用されることが多い。添加剤としての二酸化炭素は、気化しやすく、特に、夏場など高温下では、通常より発泡剤容器内の二酸化炭素の圧力が高圧になりやすい。従来の発泡剤添加装置においては、発泡剤容器から発泡剤を液体に添加する添加量を制御する開閉弁まで流路が繋がっているため、発泡剤容器内の発泡剤圧力が高圧になることで発泡剤と液体流路内の液体圧力との差圧が大きくなり、発泡剤が過剰に添加されやすくなり、発泡剤の添加量の調整が困難であった。
【0006】
そこで、本発明は、液体流路内の液体圧力に応じる制御ではなく、液体ポンプの駆動に応じた制御とすることで、液体ポンプの脈動の影響を受けることなく、液体流路を流れる液体に対して発泡剤を安定して供給することが可能な発泡剤添加装置、吹付用発泡機、発泡剤添加方法及び発泡体製造方法を提供することを課題とする。
また、本発明は、液体流路を流れる液体に所定量の発泡剤を供給する発泡剤計量ポンプの利用によって、液体流路を流れる液体に対して所定量(所定容積)の発泡剤を供給することが可能な発泡剤添加装置、吹付用発泡機、発泡剤添加方法及び発泡体製造方法を提供することを課題とする。
また、本発明は、発泡剤容器から発泡剤を液体に添加する添加量を制御する開閉弁までの流路に、発泡剤の流量を調整する流量調整機構を設けることで、過剰の発泡剤を液体に添加することを防止することが可能な発泡剤添加装置、吹付用発泡機、発泡剤添加方法及び発泡体製造方法を提供することを課題とする。
【課題を解決するための手段】
【0007】
本発明は、以下の[1]~[17]を要旨とする。
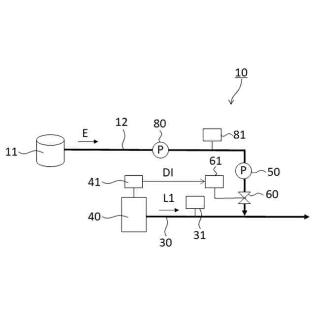
[1]液体ポンプによって供給され、かつ液体流路を流れる液体に対して発泡剤を添加させるための発泡剤添加装置であって、前記液体ポンプの駆動を検知するポンプ駆動検知部と、前記発泡剤を収容する発泡剤容器と、前記発泡剤容器から供給された前記発泡剤を流す発泡剤流路と、前記液体流路に所定量の前記発泡剤を供給する発泡剤計量ポンプと、前記液体に対する前記発泡剤の添加を開閉によって制御する開閉弁と、前記ポンプ駆動検知部によって検知された前記液体ポンプの駆動状況に応じて、前記開閉弁を開弁する制御をする開閉弁制御部とを備える、発泡剤添加装置。
[2]前記開閉弁制御部は、液体ポンプの駆動位置が予め定められた位置になった際に、前記開閉弁を開弁する、[1]に記載の発泡剤添加装置。
[3]前記開閉弁制御部は、前記液体に対して前記所定量の前記発泡剤を添加した際に、前記開閉弁を閉弁する制御をする、[1]又は[2]に記載の発泡剤添加装置。
[4]前記発泡剤計量ポンプは、容積式ポンプである、[1]~[3]のいずれかに記載の発泡剤添加装置。
[5]前記発泡剤計量ポンプは、往復式ポンプである、[1]~[4]のいずれかに記載の発泡剤添加装置。
[6]前記発泡剤計量ポンプの上流側に、前記発泡剤流路を流れる前記発泡剤の圧力を所定圧力まで加圧する発泡剤加圧ポンプを備える、[1]~[5]のいずれかに記載の発泡剤添加装置。
[7]前記発泡剤加圧ポンプは、前記発泡剤を連続的に加圧するポンプである、[6]に記載の発泡剤添加装置。
[8]前記発泡剤加圧ポンプは、アキシャルポンプ及びギアポンプのいずれかである、[6]又は[7]に記載の発泡剤添加装置。
[9]前記発泡剤加圧ポンプと前記発泡剤計量ポンプとの間に、前記発泡剤流路を流れる前記発泡剤の圧力を測定する発泡剤圧力計を備え、前記発泡剤加圧ポンプが、発泡剤圧力計により測定される圧力値が前記所定圧力となるまで前記発泡剤を加圧する、[6]~[8]のいずれかに記載の発泡剤添加装置。
[10]前記液体は、ポリオール又はポリイソシアネートを含むである、[1]~[9]のいずれかに記載の発泡剤添加装置。
[11]前記発泡剤は、二酸化炭素を含む、[1]~[10]のいずれかに記載の発泡剤添加装置。
[12]前記液体流路を流れる前記液体の圧力を測定する液体流路圧力計を備え、前記開閉弁制御部は、前記液体流路圧力計により測定された前記液体圧力が所定値よりも低い場合には、前記開閉弁を開弁しないように制御する、[1]~[11]のいずれかに記載の発泡剤添加装置。
[13]前記開閉弁よりも上流側の発泡剤流路に、前記発泡剤の流量を調整する流量調整機構を備える、[1]~[12]のいずれかに記載の発泡剤添加装置。
[14]前記流量調整機構は、前記開閉弁よりも上流側の発泡剤流路に流れる前記発泡剤の流量を開閉によって制御する第2開閉弁である、[13]に記載の発泡剤添加装置。
[15][1]~[14]のいずれかに記載の発泡剤添加装置を備える、吹付用発泡機。
[16]液体ポンプによって供給され、かつ液体流路を流れる液体に対して発泡剤を添加させるための発泡剤添加方法であって、前記液体ポンプの駆動をポンプ駆動検知部で検知する工程と、発泡剤容器に収容された発泡剤を発泡剤流路に供給する工程と、前記液体流路に供給する所定量の前記発泡剤を発泡剤計量ポンプで計量する工程と、前記液体に対する前記発泡剤の添加を開閉弁の開閉によって制御する工程とを含み、前記発泡剤の添加を開閉弁の開閉によって制御する工程において、前記液体ポンプ駆動検知部によって検知された前記液体ポンプの駆動状況に応じて、開閉弁制御部が前記開閉弁を開弁する制御をする、発泡剤添加方法。
[17]前記発泡剤を発泡剤計量ポンプで計量する工程の前に、発泡剤加圧ポンプで前記発泡剤流路を流れる前記発泡剤の圧力を所定圧力まで加圧し、前記発泡剤計量ポンプ内の圧力を所定圧力とする工程を含む、[16]に記載の発泡剤添加方法。
[18]前記液体流路を流れる前記液体の圧力を液体圧力計で測定する工程を含み、
前記発泡剤の添加を開閉弁の開閉によって制御する工程において、前記液体圧力計の測定圧力が所定値よりも低い場合には、前記開閉弁を開弁しないように制御する、[16]又は[17]に記載の発泡剤添加方法。
[19][16]~[18]のいずれかに記載の発泡剤添加方法により、液体流路を流れる液体に対して発泡剤を添加させる工程を含む、発泡体製造方法。
【発明の効果】
【0008】
本発明においては、液体流路内の液体圧力に応じる制御ではなく、液体ポンプの駆動状況に応じた制御とすることで、液体ポンプの脈動の影響を受けることなく、液体流路を流れる液体に対して発泡剤を安定して供給することが可能な発泡剤添加装置、吹付用発泡機、発泡剤添加方法及び発泡体製造方法を提供することができる。
また、本発明においては、液体流路を流れる液体に所定量の発泡剤を供給する発泡剤計量ポンプの利用によって、液体流路を流れる液体に対して所定量(所定容積)の発泡剤を供給することが可能な発泡剤添加装置、吹付用発泡機、発泡剤添加方法及び発泡体製造方法を提供することができる。
また、本発明においては、発泡剤容器から発泡剤を液体に添加する添加量を制御する開閉弁までの流路に、発泡剤の流量を調整する流量調整機構を設けることで、過剰の発泡剤を液体に添加することを防止することが可能な発泡剤添加装置、吹付用発泡機、発泡剤添加方法及び発泡体製造方法を提供することができる。
【図面の簡単な説明】
【0009】
本発明の第1の実施形態に係る発泡剤添加装置を示す模式図である。
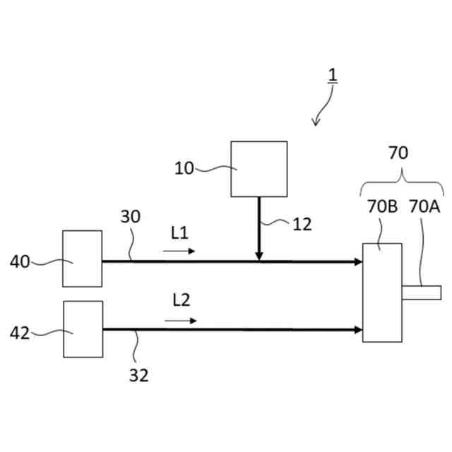
本発明の第1の実施形態に係る吹付用発泡機を示す模式図である。
本発明の第1の実施形態に係る発泡剤添加方法を示すフローチャートである。
本発明の第2の実施形態に係る発泡剤添加装置を示す模式図である。
本発明の第2の実施形態に係る発泡剤添加方法を示すフローチャートである。
本発明の第3の実施形態に係る発泡剤添加装置を示す模式図(その1)である。
本発明の第3の実施形態に係る発泡剤添加装置を示す模式図(その2)である。
本発明の第3の実施形態に係る発泡剤添加方法を示すフローチャート(その1)である。
本発明の第3の実施形態に係る発泡剤添加方法を示すフローチャート(その2)である。
本発明のその他の実施形態に係る発泡剤添加方法を示すフローチャートである。
【発明を実施するための形態】
【0010】
[第1の実施形態]
以下、図面を参照しつつ、本発明の実施形態を詳細に説明する。
第1の実施形態に係る発泡剤添加装置10は、図1に示すように、液体流路30に流れる液体L1に、発泡剤Eを混合するための装置である。
(【0011】以降は省略されています)
この特許をJ-PlatPat(特許庁公式サイト)で参照する
関連特許
個人
気泡緩衝材減容装置
21日前
豊田鉄工株式会社
金型
2か月前
東レ株式会社
フィルムの製造方法
3か月前
東レ株式会社
フィルムの製造方法
6か月前
東レ株式会社
フィルムの製造方法
3か月前
東レ株式会社
フィルムの製造方法。
2か月前
日機装株式会社
加圧システム
5か月前
個人
樹脂可塑化方法及び装置
9か月前
株式会社FTS
ロッド
8か月前
株式会社カワタ
計量混合装置
4か月前
東レ株式会社
複合成形体の製造方法
1日前
NOK株式会社
樹脂ゴム複合体
1か月前
株式会社漆原
シートの成形方法
4か月前
トヨタ自動車株式会社
射出装置
7か月前
東レ株式会社
樹脂フィルムの製造方法
4か月前
株式会社不二越
射出成形機
6か月前
株式会社不二越
射出成形機
6か月前
株式会社不二越
射出成形機
1か月前
株式会社コスメック
射出成形装置
4か月前
株式会社FTS
セパレータ
8か月前
株式会社不二越
射出成形機
6か月前
株式会社不二越
射出成形機
4か月前
東レ株式会社
炭素繊維シートの製造方法
6か月前
株式会社神戸製鋼所
混練機
8か月前
トヨタ自動車株式会社
真空成形装置
5か月前
東レ株式会社
繊維強化プラスチック構造体
1か月前
株式会社バルカー
シートガスケット
16日前
日産自動車株式会社
成形装置
3か月前
三和合板株式会社
化粧板の製造装置
1か月前
コイト電工株式会社
フレーム成形品
1か月前
東レ株式会社
半導体モールド用離型フィルム
5か月前
東レ株式会社
繊維強化樹脂成形品の製造方法
1か月前
東レ株式会社
繊維強化樹脂成形品の製造方法
1か月前
東レ株式会社
一体化成形品及びその製造方法
1か月前
株式会社ミヤコシ
解反機
4か月前
株式会社日本製鋼所
射出成形機
2か月前
続きを見る
他の特許を見る