TOP
|
特許
|
意匠
|
商標
特許ウォッチ
Twitter
他の特許を見る
公開番号
2025146581
公報種別
公開特許公報(A)
公開日
2025-10-03
出願番号
2024103341
出願日
2024-06-26
発明の名称
情報処理装置、情報処理方法、及びプログラム
出願人
株式会社フジテレビジョン
,
一般社団法人日本化粧品検定協会
,
一般財団法人日本気象協会
代理人
個人
,
個人
主分類
G06Q
30/015 20230101AFI20250926BHJP(計算;計数)
要約
【課題】人間の外皮系又は当該外皮系に塗る化粧品についての、所定日の所定時間帯の間適切な状態を維持できるか否かを予測するために支援が可能となる技術を提供すること。
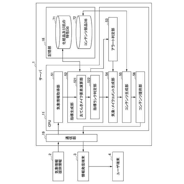
【解決手段】気象情報取得部51は、所定地点についての将来の所定日の所定時間帯における気象情報を取得する制御を実行する。指標生成部52は、気象情報取得部51で取得された気象情報、並びに、化粧品及び肌の特性DB71に格納された化粧品及び肌の化学的特性に基づいて、人間の外皮系又は当該外皮系に塗る化粧品についての、当該所定日の当該所定時間帯の間適切な状態を維持できるか否かの度合いを示す指標を生成する制御を実行する。
【選択図】図3
特許請求の範囲
【請求項1】
所定地点についての将来の所定日の所定時間帯における気象情報を取得する気象情報取得手段と、
取得された前記気象情報、並びに、化粧品及び肌の化学的特性に基づいて、人間の外皮系又は当該外皮系に塗る化粧品についての、当該所定日の当該所定時間帯の間適切な状態を維持できるか否かの度合いを示す指標を生成する指標生成手段と、
を備える情報処理装置。
続きを表示(約 1,000 文字)
【請求項2】
前記指標生成手段は、
所定の気象条件、又は、人間の外皮系若しくは当該外皮系に塗る化粧品に関する複数の要素毎に、取得された前記気象情報に基づいて、前記所定日の前記所定時間帯の間に起こり得ることを予測する予測手段と、
前記複数の要素の夫々についての予測結果に基づいて、前記度合いを演算する度合演算手段と、
を有する請求項1に記載の情報処理装置。
【請求項3】
所定の気象条件について、前記複数の要素のうち当該所定の気象条件を用いる所定要素に基づいて規定された一定の条件を満たすか否かを判定し、当該一定の条件を満たした場合には所定のアラートを出力するアラート手段
をさらに備える請求項2に記載の情報処理装置。
【請求項4】
前記指標は、顔に施したメイクが、前記所定日の前記所定時間帯の間保ちやすいか否かの目安を示す第1指標を含む、
請求項1に記載の情報処理装置。
【請求項5】
前記指標は、天気に合わせたスキンケアの手入れ度合いの目安を示す第2指標を含む、
請求項1に記載の情報処理装置。
【請求項6】
前記指標は、ヘアセットが、前記所定日の前記所定時間帯の間保ちやすいか否かの目安を示す第3指標を含む、
請求項1に記載の情報処理装置。
【請求項7】
情報処理装置が実行する情報処理方法において、
所定地点についての将来の所定日の所定時間帯における気象情報を取得する気象情報取得ステップと、
取得された前記気象情報、並びに、化粧品及び肌の化学的特性に基づいて、人間の外皮系又は当該外皮系に塗る化粧品についての、当該所定日の当該所定時間帯の間適切な状態を維持できるか否かの度合いを示す指標を生成する指標生成ステップと、
を含む情報処理方法。
【請求項8】
コンピュータに、
所定地点についての将来の所定日の所定時間帯における気象情報を取得する気象情報取得ステップと、
取得された前記気象情報、並びに、化粧品及び肌の化学的特性に基づいて、人間の外皮系又は当該外皮系に塗る化粧品についての、当該所定日の当該所定時間帯の間適切な状態を維持できるか否かの度合いを示す指標を生成する指標生成ステップと、
を含む制御処理を実行させるプログラム。
発明の詳細な説明
【技術分野】
【0001】
本発明は、情報処理装置、情報処理方法、及びプログラムに関する。
続きを表示(約 1,500 文字)
【背景技術】
【0002】
従来より、メイク崩れ対策、スキンケア、ヘアセットは、広く一般消費者からのニーズが高く、これらメイク崩れ対策、スキンケア、ヘアセットに関しては、例えば下記特許文献1乃至4や、非特許文献1及び2に開示されている。
【先行技術文献】
【特許文献】
【0003】
特開2002―15184号公報
特開2014-10750号公報
特許第6793301号公報
国際公開第2018/029963号
【非特許文献】
【0004】
九州住環境研究所「ASHRAEの温熱環境「SET*指標」」、http://www.ecoq21.jp/latest-article/no146/no146.pdf(2024年4月12日閲覧)
津村亜紗子、齋藤(大塚)香織、藤井範子、藤田郁尚、久原丈司、大野健剛.(2016).高湿度条件下における整髪剤のセット力低下に及ぼす頭皮脂の影響、および頭皮脂の毛髪上への移行について.日本化粧品技術者会誌、50(1), 33-40.
【発明の概要】
【発明が解決しようとする課題】
【0005】
しかしながら、人間の外皮系又は当該外皮系に塗る化粧品についての、所定日の所定時間帯の間適切な状態を維持できるか否かを予測したいという要望が存在するが、特許文献1乃至4や、非特許文献1及び2を含め従来の技術では当該要望に十分に応えることができない状況である。
【0006】
本発明は、このような状況に鑑みてなされたものであり、人間の外皮系又は当該外皮系に塗る化粧品についての、所定日の所定時間帯の間適切な状態を維持できるか否かを予測するために支援が可能となる技術を提供することを目的とする。
【課題を解決するための手段】
【0007】
上記目的を達成するため、本発明の一態様の情報処理装置は、
所定地点についての将来の所定日の所定時間帯における気象情報を取得する気象情報取得手段と、
取得された前記気象情報、並びに、化粧品及び肌の化学的特性に基づいて、人間の外皮系又は当該外皮系に塗る化粧品についての、当該所定日の当該所定時間帯の間適切な状態を維持できるか否かの度合いを示す指標を生成する指標生成手段と、
を備える。
【0008】
本発明の一態様の情報処理方法及びプログラムの夫々は、上述の本発明の一態様の情報処理装置に対応する情報処理方法及びプログラムの夫々である。
【発明の効果】
【0009】
本発明によれば、人間の外皮系又は当該外皮系に塗る化粧品についての、所定日の所定時間帯の間適切な状態を維持できるか否かを予測するために支援が可能となる技術を提供することができる。
【図面の簡単な説明】
【0010】
本発明の情報処理装置の一実施形態としてのサーバを含む情報処理システムの構成例を示す図である。
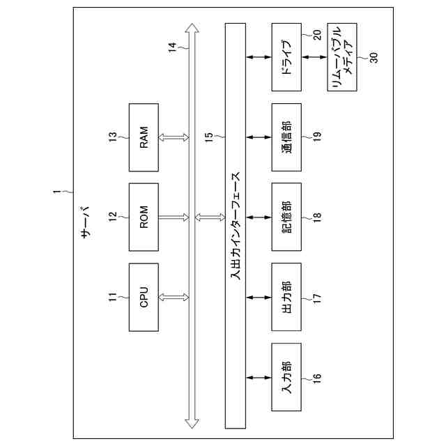
図1の情報処理システムのうちサーバのハードウェア構成の一例を示すブロック図である。
図2のサーバの機能的構成の一例を示す機能ブロック図である。
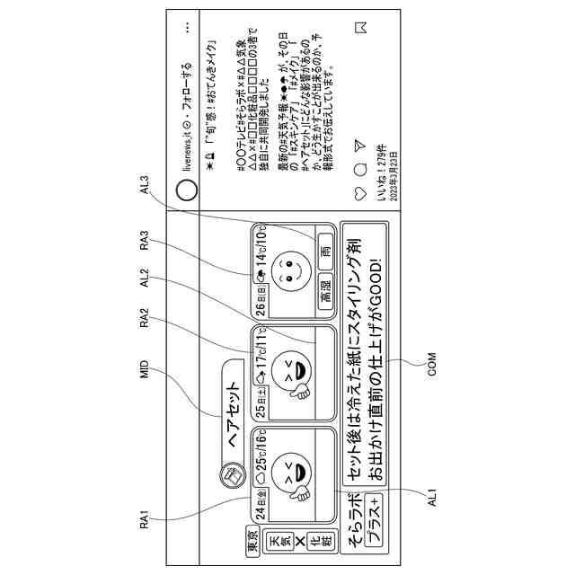
図3の機能的構成を有するサーバの出力により図1のユーザ端末に表示された画面の第1の具体例を示す図である。
図3の機能的構成を有するサーバの出力により図1のユーザ端末に表示された画面の第2の具体例を示す図である。
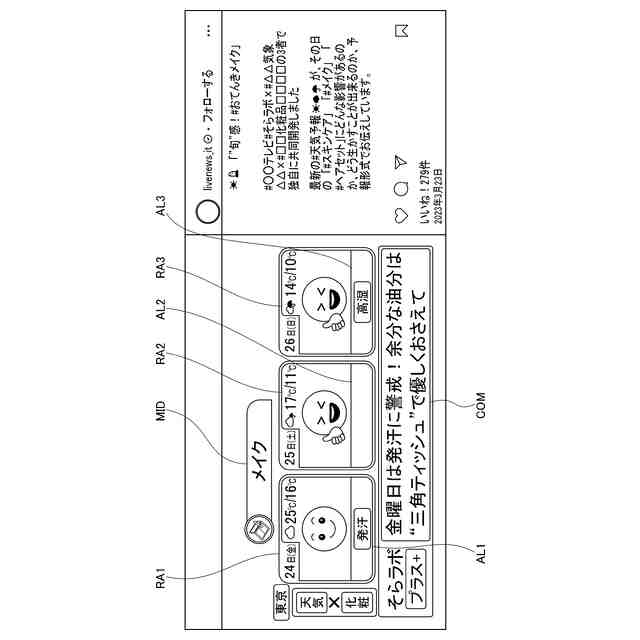
図3の機能的構成を有するサーバの出力により図1のユーザ端末に表示された画面の第3の具体例を示す図である。
【発明を実施するための形態】
(【0011】以降は省略されています)
特許ウォッチbot のツイートを見る
この特許をJ-PlatPat(特許庁公式サイト)で参照する
関連特許
個人
地球保全システム
7日前
個人
工程設計支援装置
1か月前
個人
フラワーコートA
2か月前
個人
為替ポイント伊達夢貯
1か月前
個人
介護情報提供システム
2か月前
個人
冷凍食品輸出支援構造
1か月前
個人
残土処理システム
今日
個人
表変換編集支援システム
27日前
個人
携帯情報端末装置
1か月前
個人
結婚相手紹介支援システム
1か月前
個人
知財出願支援AIシステム
1か月前
個人
知的財産出願支援システム
1日前
個人
行動時間管理システム
29日前
個人
AIによる情報の売買の仲介
1か月前
個人
パスワード管理支援システム
27日前
個人
アンケート支援システム
2か月前
株式会社キーエンス
受発注システム
6日前
株式会社キーエンス
受発注システム
6日前
個人
AIキャラクター制御システム
27日前
個人
パスポートレス入出国システム
1か月前
個人
食品レシピ生成システム
6日前
株式会社アジラ
進入判定装置
1か月前
個人
システム及びプログラム
20日前
個人
海外支援型農作物活用システム
19日前
株式会社キーエンス
受発注システム
6日前
日本精機株式会社
施工管理システム
1か月前
キヤノン株式会社
表示システム
6日前
個人
食事受注会計処理システム
1か月前
サクサ株式会社
中継装置
2か月前
個人
冷凍加工連携型農場運用システム
1か月前
大同特殊鋼株式会社
疵判定方法
13日前
個人
人格進化型対話応答制御システム
27日前
個人
社会還元・施設向け供給支援構造
27日前
個人
帳票自動生成型SaaSシステム
1日前
大阪瓦斯株式会社
住宅設備機器
1か月前
個人
音声・通知・再配達UX制御構造
1日前
続きを見る
他の特許を見る