TOP
|
特許
|
意匠
|
商標
特許ウォッチ
Twitter
他の特許を見る
公開番号
2025146487
公報種別
公開特許公報(A)
公開日
2025-10-03
出願番号
2024047306
出願日
2024-03-22
発明の名称
車載情報再生装置および情報再生方法
出願人
パナソニックオートモーティブシステムズ株式会社
代理人
個人
主分類
G10K
15/04 20060101AFI20250926BHJP(楽器;音響)
要約
【課題】車両の乗員のユーザ体験を向上させる。
【解決手段】リストに含まれる1または複数のコンテンツの再生を制御する車載情報再生装置は、制御装置と、プログラムが記憶された記憶媒体と、を備え、制御装置がプログラムを実行することにより、車両の目的地への到着予測時間を取得し、複数のコンテンツのうち特定のコンテンツの指定を受け付け、特定のコンテンツと、複数のコンテンツのそれぞれの再生時間と、到着予測時間とに基づいて、最後に再生されるコンテンツの再生が、到着予測時間から第1所定時間遡った時間までの範囲において終了するように前記リストを生成し、到着予測時間に変更が生じた場合、最後に再生されるコンテンツの再生が、変更後の到着予測時間から第1所定時間遡った時間までの範囲において終了するように、当該リストに含まれる1つまたは複数のコンテンツを差し替えることで当該リストを更新する。
【選択図】図1
特許請求の範囲
【請求項1】
リストに含まれる1または複数のコンテンツの再生を制御する車載情報再生装置であって、
制御装置と、プログラムが記憶された記憶媒体と、を備え、
前記制御装置が前記プログラムを実行することにより処理を実行し、
前記処理は、
車両の目的地への到着予測時間を取得することと、
複数のコンテンツのうち特定のコンテンツの指定を受け付けることと、
前記特定のコンテンツと、前記複数のコンテンツのそれぞれの再生時間と、前記到着予測時間とに基づいて、最後に再生されるコンテンツの再生が、前記到着予測時間から第1所定時間遡った時間までの範囲において終了するように前記リストを生成することと、
前記到着予測時間に変更が生じた場合、最後に再生されるコンテンツの再生が、変更後の到着予測時間から前記第1所定時間遡った時間までの範囲において終了するように、当該リストに含まれる1つまたは複数のコンテンツを差し替えることで当該リストを更新することと、を含む、
車載情報再生装置。
続きを表示(約 1,400 文字)
【請求項2】
前記処理は、
前記特定のコンテンツと、前記特定のコンテンツに類似する1または複数のコンテンツとを組み合わせることにより、前記リストを生成することを含む、
請求項1に記載の車載情報再生装置。
【請求項3】
前記処理は、
前記変更後の到着予測時間が、当該変更前の到着予測時間よりも早い場合、当該変更前の到着予測時間から第2所定時間遡った時間までの範囲である変更領域において再生されるコンテンツを、当該コンテンツとは異なるコンテンツに差し替えることで当該リストを更新することを含む、
請求項1に記載の車載情報再生装置。
【請求項4】
前記処理は、
前記変更後の到着予測時間が、当該変更前の到着予測時間から前記第1所定時間遡った時間よりも早い場合、当該変更前の到着予測時間から第2所定時間遡った時間までの範囲である変更領域において再生されるコンテンツを、当該コンテンツとは異なるコンテンツに差し替えることで当該リストを更新することを含む、
請求項1に記載の車載情報再生装置。
【請求項5】
前記処理は、
前記最後に再生されるコンテンツの再生中に前記到着予測時間に変更が生じ、かつ、当該変更後の到着予測時間が当該変更前の到着予測時間よりも遅い場合、前記複数のコンテンツのうち、再生時間が当該変更前後の到着予測時間の差分以下のコンテンツを追加することにより前記リストを更新することを含む、
請求項1に記載の車載情報再生装置。
【請求項6】
前記処理は、
前記リストの更新のために、当該リストに含まれる1つまたは複数のコンテンツの前記特定のコンテンツに類似しない1または複数のコンテンツへの差し替え、または、当該リストへの前記特定のコンテンツに類似しない1または複数のコンテンツの追加を行う場合は、前記車両の乗員の許可に基づいて、当該更新を実行することを含む、
請求項1に記載の車載情報再生装置。
【請求項7】
前記コンテンツは、音楽、動画および動画に含まれる1または複数のチャプタを含む、
請求項1に記載の車載情報再生装置。
【請求項8】
前記処理は、
前記車両の乗員による前記特定のコンテンツの指定を受け付けることを含む、
請求項1に記載の車載情報再生装置。
【請求項9】
リストに含まれる1または複数のコンテンツの再生を制御する情報再生方法であって、
車両の目的地への到着予測時間を取得し、
複数のコンテンツのうち特定のコンテンツの指定を受け付け、
前記特定のコンテンツと、前記複数のコンテンツのそれぞれの再生時間と、前記到着予測時間とに基づいて、最後に再生されるコンテンツの再生が、前記到着予測時間から第1所定時間遡った時間までの範囲において終了するように前記リストを生成し、
前記到着予測時間に変更が生じた場合、最後に再生されるコンテンツの再生が、変更後の到着予測時間から前記第1所定時間遡った時間までの範囲において終了するように、当該リストに含まれる1つまたは複数のコンテンツを差し替えることで当該リストを更新する、
情報再生方法。
発明の詳細な説明
【技術分野】
【0001】
本開示は、車載情報再生装置および情報再生方法に関する。
続きを表示(約 1,700 文字)
【背景技術】
【0002】
従来、車両の乗員が、当該車両内において過ごす時間を快適なものとするために、車両内で音楽または動画等のコンテンツを再生する技術が知られている。例えば、特許文献1には、コンテンツを含む番組表を作成する情報提供センターと、当該番組表にしたがってコンテンツ情報を再生する車載システムが開示されている。当該車載システムは、車両が目的地に到着するまでの見込み所要時間を算出し、算出した時間に応じて未再生のコンテンツ情報の候補を変更してコンテンツ情報を再生する。
【先行技術文献】
【特許文献】
【0003】
特許第3702843号公報
【発明の概要】
【発明が解決しようとする課題】
【0004】
車内で音楽または動画等のコンテンツが再生されている場合、車両の乗員のユーザ体験を考慮すると、例えば、車両が目的地へ到着する直前等のタイミングで当該コンテンツの再生が終了することが好ましい。
【0005】
本開示は、上述した従来の状況に鑑みて案出され、車両の乗員のユーザ体験の向上を目的とする。
【課題を解決するための手段】
【0006】
本開示は、リストに含まれる1または複数のコンテンツの再生を制御する車載情報再生装置であって、制御装置と、プログラムが記憶された記憶媒体と、を備え、前記制御装置が前記プログラムを実行することにより処理を実行し、前記処理は、車両の目的地への到着予測時間を取得することと、複数のコンテンツのうち特定のコンテンツの指定を受け付けることと、前記特定のコンテンツと、前記複数のコンテンツのそれぞれの再生時間と、前記到着予測時間とに基づいて、最後に再生されるコンテンツの再生が、前記到着予測時間から第1所定時間遡った時間までの範囲において終了するように前記リストを生成することと、前記到着予測時間に変更が生じた場合、最後に再生されるコンテンツの再生が、変更後の到着予測時間から前記第1所定時間遡った時間までの範囲において終了するように、当該リストに含まれる1つまたは複数のコンテンツを差し替えることで当該リストを更新することと、を含む、車載情報再生装置を提供する。
【0007】
また、本開示は、リストに含まれる1または複数のコンテンツの再生を制御する情報再生方法であって、車両の目的地への到着予測時間を取得し、複数のコンテンツのうち特定のコンテンツの指定を受け付け、前記特定のコンテンツと、前記複数のコンテンツのそれぞれの再生時間と、前記到着予測時間とに基づいて、最後に再生されるコンテンツの再生が、前記到着予測時間から第1所定時間遡った時間までの範囲において終了するように前記リストを生成し、前記到着予測時間に変更が生じた場合、最後に再生されるコンテンツの再生が、変更後の到着予測時間から前記第1所定時間遡った時間までの範囲において終了するように、当該リストに含まれる1つまたは複数のコンテンツを差し替えることで当該リストを更新する、情報再生方法を提供する。
【0008】
なお、以上の構成要素の任意の組み合わせ、本開示の表現を方法、装置、システム、記憶媒体、コンピュータプログラムなどの間で変換したものもまた、本開示の態様として有効である。
【発明の効果】
【0009】
本開示によれば、車両の乗員のユーザ体験の向上が可能となる。
【図面の簡単な説明】
【0010】
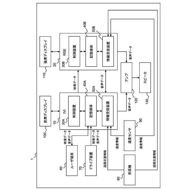
実施の形態1に係る制御装置を搭載する車両の構成例を示すブロック図
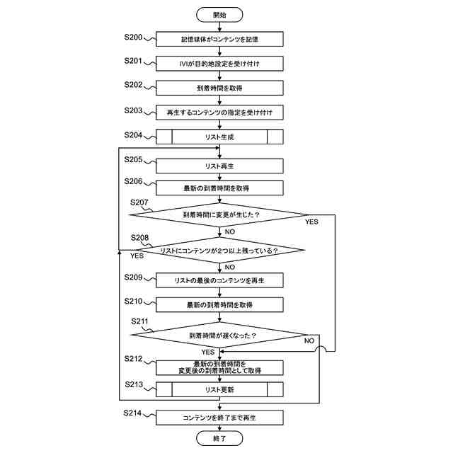
実施の形態1に係る制御装置の処理の全体概要を示すフローチャート
実施の形態1に係るリスト生成処理を示すフローチャート
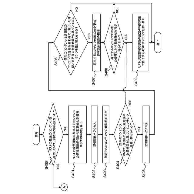
実施の形態1に係るリスト更新処理を示すフローチャート
実施の形態1に係るリスト更新処理を示すフローチャート
実施の形態1に係るリスト更新の例を示す概略図
【発明を実施するための形態】
(【0011】以降は省略されています)
この特許をJ-PlatPat(特許庁公式サイト)で参照する
関連特許
個人
木管楽器
3日前
株式会社豊田中央研究所
吸音構造体
11日前
本田技研工業株式会社
車室環境制御装置
7日前
株式会社東芝
吸音装置
9日前
株式会社イノアックコーポレーション
吸音材
1か月前
積水樹脂株式会社
吸音シート
7日前
株式会社第一興商
カラオケ装置
11日前
カシオ計算機株式会社
減音器具
9日前
日本軽金属株式会社
遮音壁
1日前
カシオ計算機株式会社
減音器具
9日前
株式会社第一興商
カラオケ装置
1日前
株式会社第一興商
カラオケ装置
7日前
KDDI株式会社
認証装置、認証方法及び認証プログラム
1か月前
中原大學
能動騒音除去機能を持つレンジフード
11日前
日本電気株式会社
放送用システムおよび字幕作成方法
3日前
シャープ株式会社
電子機器および電子機器の制御方法
1日前
ブラザー工業株式会社
カラオケ装置及びカラオケプログラム
1日前
カシオ計算機株式会社
電子鍵盤楽器
7日前
トヨタ自動車株式会社
電気自動車
1か月前
株式会社JVCケンウッド
クリッピング装置及びクリッピング方法
11日前
ブラザー工業株式会社
カラオケ用プログラム、及び、カラオケ装置
今日
ブラザー工業株式会社
音声録音装置、及び、音声録音用プログラム
今日
カシオ計算機株式会社
電子楽器、電子楽器の制御方法及びプログラム
7日前
株式会社河合楽器製作所
鍵盤楽器の鍵盤装置
2日前
トヨタ自動車株式会社
運転者認知機能改善システム
7日前
株式会社河合楽器製作所
鍵盤楽器の鍵盤装置
2日前
株式会社NTTドコモ
情報処理装置及び情報処理方法
1日前
株式会社リコー
対話装置、対話システム、対話方法及びプログラム
今日
株式会社東芝
吸音装置及び音響メタマテリアル
9日前
カシオ計算機株式会社
制御装置、方法およびプログラム
11日前
カシオ計算機株式会社
制御装置、方法およびプログラム
11日前
株式会社河合楽器製作所
鍵盤楽器の楽音制御装置
2日前
株式会社河合楽器製作所
鍵盤楽器の楽音制御方法
2日前
株式会社河合楽器製作所
鍵盤楽器の楽音制御方法
2日前
カシオ計算機株式会社
演奏装置、方法およびプログラム
8日前
カシオ計算機株式会社
演奏装置、方法およびプログラム
9日前
続きを見る
他の特許を見る