TOP
|
特許
|
意匠
|
商標
特許ウォッチ
Twitter
他の特許を見る
10個以上の画像は省略されています。
公開番号
2025140638
公報種別
公開特許公報(A)
公開日
2025-09-29
出願番号
2024040165
出願日
2024-03-14
発明の名称
制御装置、方法およびプログラム
出願人
カシオ計算機株式会社
代理人
インフォート弁理士法人
主分類
G10H
7/04 20060101AFI20250919BHJP(楽器;音響)
要約
【課題】楽音を発音させたときのユーザの聴感上の違和感を抑えること。
【解決手段】制御装置は、第1区間と、第1区間に続く第2区間と、を含む波形データであって、第2区間が第1のピッチの波形が記録された区間であり、第1区間が第1のピッチの音が発せられる前のノイズが記録された区間である、波形データ、を記憶する記憶部と、複数の演奏操作子のうち、ユーザが操作した演奏操作子に対応付けられた波形データを、ユーザが操作した演奏操作子に対応するピッチに応じた速度で、記憶部から読み出す、少なくとも1つのプロセッサと、を備える。少なくとも1つのプロセッサは、演奏操作子をユーザが操作した場合に、第1区間において、波形データを、第1の処理で決定された第1の速度で読み出し、第2区間において、波形データを、第1の処理と異なる第2の処理で決定された第2の速度で読み出す。
【選択図】図6
特許請求の範囲
【請求項1】
第1区間と、前記第1区間に続く第2区間と、を含む波形データであって、前記第2区間が第1のピッチの波形が記録された区間であり、前記第1区間が前記第1のピッチの音が発せられる前のノイズが記録された区間である、前記波形データ、を記憶する記憶部と、
複数の演奏操作子のうち、ユーザが操作した演奏操作子に対応付けられた波形データを、前記ユーザが操作した前記演奏操作子に対応するピッチに応じた速度で、前記記憶部から読み出す、少なくとも1つのプロセッサと、を備え、
前記少なくとも1つのプロセッサは、前記演奏操作子を前記ユーザが操作した場合に、前記第1区間において、前記波形データを、第1の処理で決定された第1の速度で読み出し、前記第2区間において、前記波形データを、前記第1の処理と異なる第2の処理で決定された第2の速度で読み出す、
制御装置。
続きを表示(約 1,600 文字)
【請求項2】
前記波形データは、所定の音域に含まれる2以上のピッチのそれぞれに対応する2以上の前記演奏操作子に対応付けられており、
前記第1のピッチと異なる第2のピッチに対応する前記演奏操作子が操作された場合、前記少なくとも1つのプロセッサは、前記第1の処理において、前記第1の速度を、前記第2の速度と異なる速度に決定する、
請求項1に記載の制御装置。
【請求項3】
前記少なくとも1つのプロセッサは、
前記第1の処理において、所定の関数を用いて前記第1の速度を決定し、
前記第2の処理において、前記所定の関数を用いずに前記第2の速度を決定する、
請求項1に記載の制御装置。
【請求項4】
前記少なくとも1つのプロセッサは、前記第1のピッチと前記第2のピッチとの差分に基づいて前記第1の速度を決定する、
請求項2に記載の制御装置。
【請求項5】
前記少なくとも1つのプロセッサは、
前記第2のピッチが前記第1のピッチよりも高い場合、前記第1の速度を、前記第2の速度よりも遅い速度であって、前記第2の速度と比べて前記第1のピッチに対応する第3の速度に近い速度に決定し、
前記第2のピッチが前記第1のピッチよりも低い場合、前記第1の速度を、前記第2の速度よりも速い速度であって、前記第2の速度と比べて前記第3の速度に近い速度に決定する、
請求項2に記載の制御装置。
【請求項6】
前記少なくとも1つのプロセッサは、
前記第2のピッチが前記第1のピッチと一致する場合、前記第1の速度と前記第2の速度とを同じ速度に決定する、
請求項5に記載の制御装置。
【請求項7】
前記第1区間は、前段区間と前記前段区間に続く後段区間とを含み、
前記少なくとも1つのプロセッサは、
前記前段区間において前記波形データを前記第1の速度で読み出し、
前記後段区間において前記波形データを前記第1の速度から前記第2の速度まで連続的または段階的に変化させながら読み出す、
請求項1から請求項6の何れか一項に記載の制御装置。
【請求項8】
第1のピッチの音が発せられる前のノイズが記録された第1区間と、前記第1区間に続く第2区間であって、前記第1のピッチの波形が記録された第2区間と、を含む波形データを、記憶部から読み出す方法であって、
複数の演奏操作子のうち、ユーザが操作した前記演奏操作子に対応付けられた波形データを、前記ユーザが操作した前記演奏操作子に対応するピッチに応じた速度で、前記記憶部から読み出す処理を、コンピュータに実行させ、
前記読み出す処理において、前記波形データが、前記第1区間において、第1の処理で決定された第1の速度で読み出され、前記第2区間において、前記第1の処理と異なる第2の処理で決定された第2の速度で読み出される、
方法。
【請求項9】
第1のピッチの音が発せられる前のノイズが記録された第1区間と、前記第1区間に続く第2区間であって、前記第1のピッチの波形が記録された第2区間と、を含む波形データを、記憶部から読み出すプログラムであって、
複数の演奏操作子のうち、ユーザが操作した前記演奏操作子に対応付けられた波形データを、前記ユーザが操作した前記演奏操作子に対応するピッチに応じた速度で、前記記憶部から読み出す処理を、コンピュータに実行させ、
前記読み出す処理において、前記波形データが、前記第1区間において、第1の処理で決定された第1の速度で読み出され、前記第2区間において、前記第1の処理と異なる第2の処理で決定された第2の速度で読み出される、
プログラム。
発明の詳細な説明
【技術分野】
【0001】
本開示は、制御装置、方法およびプログラムに関する。
続きを表示(約 1,700 文字)
【背景技術】
【0002】
電子楽器などの演奏装置では、波形データの読み出し速度を変えることで、発音される楽音のピッチを変えることができる(例えば特許文献1参照)。
【先行技術文献】
【特許文献】
【0003】
特開平8-44362号公報
【発明の概要】
【発明が解決しようとする課題】
【0004】
演奏装置では、様々な楽器の音色で楽音を発音することができる。例えば、ギターや管楽器などの音色の楽音を再生する際、その音色特有のニュアンスを表現するため、波形データの先頭部分に極短いノイズ区間(例えばギターではピッキングノイズが発せられる区間)を設けることが考えられる。
【0005】
原音と異なるピッチで楽音を発音させるため、波形データの読み出し速度を原音時の速度から変えると、ノイズ区間の長さも変わる。ノイズ区間の長さが原音時に対して変わりすぎると、ユーザが聴感上違和感を覚えることがある。
【0006】
本開示の実施形態は上記の事情に鑑み、楽音を発音させたときのユーザの聴感上の違和感が抑えられる、制御装置、方法およびプログラムを提供することを目的とする。
【課題を解決するための手段】
【0007】
本開示の一実施形態に係る制御装置は、第1区間と、第1区間に続く第2区間と、を含む波形データであって、第2区間が第1のピッチの波形が記録された区間であり、第1区間が第1のピッチの音が発せられる前のノイズが記録された区間である、波形データ、を記憶する記憶部と、複数の演奏操作子のうち、ユーザが操作した演奏操作子に対応付けられた波形データを、ユーザが操作した演奏操作子に対応するピッチに応じた速度で、記憶部から読み出す、少なくとも1つのプロセッサと、を備える。少なくとも1つのプロセッサは、演奏操作子をユーザが操作した場合に、第1区間において、波形データを、第1の処理で決定された第1の速度で読み出し、第2区間において、波形データを、第1の処理と異なる第2の処理で決定された第2の速度で読み出す。
【発明の効果】
【0008】
本開示の一実施形態によれば、楽音を発音させたときのユーザの聴感上の違和感が抑えられる、制御装置、方法およびプログラムが提供される。
【図面の簡単な説明】
【0009】
本開示の一実施形態に係る電子楽器の外観図である。
本開示の一実施形態に係る電子楽器の構成を示すブロック図である。
本開示の一実施形態に係る電子楽器に備えられる音源LSI(Large Scale Integration)の構成を示すブロック図である。
本開示の一実施形態に係る音源LSIで使用されるピッチエンベロープおよび音源LSIで読み出される波形データの一例を示す図である。
本開示の一実施形態において波形データのアタック部に適用されるキーフォロー関数の一例を示す図である。
本開示の一実施形態に係る音源LSIで使用されるピッチエンベロープおよび音源LSIで読み出される波形データの一例を示す図である。
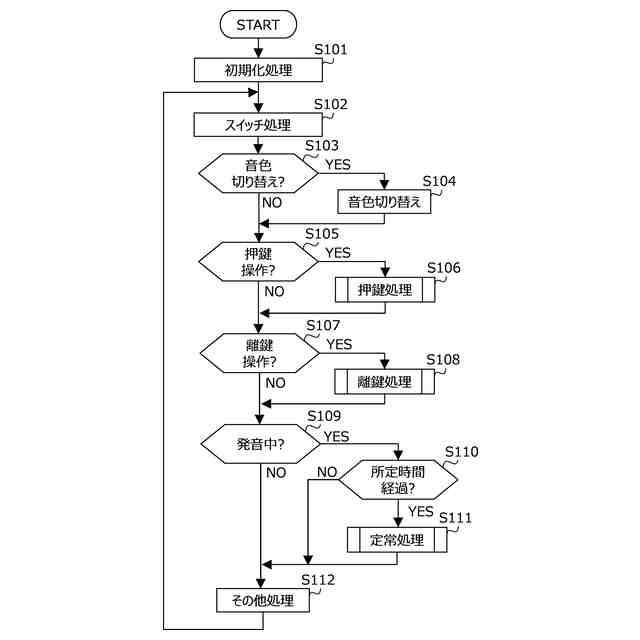
本開示の一実施形態において電子楽器により実行される処理を示すフローチャートである。
図7の押鍵処理(ステップS106)のサブルーチンである。
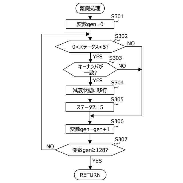
図7の離鍵処理(ステップS108)のサブルーチンである。
図7の定常処理(ステップS111)のサブルーチンである。
図7の定常処理(ステップS111)のサブルーチンである。
従来装置で読み出された波形データの一例を示す図である。
【発明を実施するための形態】
【0010】
以下の説明は、本開示の一実施形態に係る制御装置、方法およびプログラムに関する。共通の又は対応する要素については、同一又は類似の符号を付して、重複する説明を適宜簡略又は省略する。
(【0011】以降は省略されています)
この特許をJ-PlatPat(特許庁公式サイト)で参照する
関連特許
個人
破裂爆発波動体感バルーン
1か月前
株式会社白鳩
音漏れ抑制マスク
27日前
株式会社白鳩
音漏れ抑制マスク
27日前
株式会社豊田中央研究所
吸音構造体
1日前
川崎重工業株式会社
表面材
29日前
日本音響エンジニアリング株式会社
騒音低減装置
1か月前
株式会社イノアックコーポレーション
吸音材
20日前
株式会社フジタ
環境音快音化システム
1か月前
個人
歌唱技術表示装置および歌唱技術表示方法
1か月前
KDDI株式会社
認証装置、認証方法及び認証プログラム
20日前
株式会社第一興商
カラオケ装置
29日前
株式会社第一興商
カラオケ装置
21日前
株式会社第一興商
カラオケ装置
1日前
中原大學
能動騒音除去機能を持つレンジフード
1日前
個人
楽曲検索装置、楽曲検索方法、及び楽曲検索プログラム
1か月前
株式会社JVCケンウッド
クリッピング装置及びクリッピング方法
1日前
トヨタ自動車株式会社
電気自動車
21日前
宮澤フル-ト製造株式会社
タンポ及び木管楽器
1か月前
ローランド株式会社
打楽器および打面の形成方法
28日前
カシオ計算機株式会社
演奏装置、方法およびプログラム
1か月前
カシオ計算機株式会社
制御装置、方法およびプログラム
1日前
カシオ計算機株式会社
制御装置、方法およびプログラム
1日前
ローランド株式会社
打楽器および取付部材の取付方法
28日前
株式会社SOKEN
吸音構造体
1か月前
株式会社日立製作所
音声分析システム及び音声分析方法
5日前
本田技研工業株式会社
音声認識装置、音声認識方法、及びプログラム
1日前
株式会社東芝
異常要因推定システム、方法及びプログラム
1か月前
公立大学法人広島市立大学
音質改善装置、音質改善方法及びプログラム
1か月前
株式会社リコー
音声認識装置、音声認識システム、音声認識方法及びプログラム
4日前
トヨタ自動車株式会社
車両制御方法及び車両制御装置
29日前
トヨタ自動車株式会社
音制御システム及び電気自動車
12日前
株式会社河合楽器製作所
ドロップアクションを有するピアノ
11日前
セイコーエプソン株式会社
音声出力方法、プロジェクター及びプログラム
1か月前
京セラ株式会社
表示システム、表示制御装置及び表示制御プログラム
20日前
京セラ株式会社
表示システム、表示制御装置及び表示制御プログラム
20日前
トヨタ自動車株式会社
車両管理システム及び電気自動車
1か月前
続きを見る
他の特許を見る