TOP
|
特許
|
意匠
|
商標
特許ウォッチ
Twitter
他の特許を見る
10個以上の画像は省略されています。
公開番号
2025128546
公報種別
公開特許公報(A)
公開日
2025-09-03
出願番号
2024025265
出願日
2024-02-22
発明の名称
音漏れ抑制マスク
出願人
株式会社白鳩
代理人
個人
,
個人
主分類
G10K
11/16 20060101AFI20250827BHJP(楽器;音響)
要約
【課題】イヤホン又はヘッドホンを備える音漏れ抑制マスクについて、その取り扱いを容易とすること。
【解決手段】音漏れ抑制マスクは、ユーザの口を覆うマスク本体11と、マスク本体11に取り付けられる有線式のイヤホン13とを備える。マスク本体11は、マスク本体11の前面を形成する前板部17と、前板部17の周縁側から後方に延び、マスク本体11の周面を形成する周壁部とを有している。周壁部の下面側には、イヤホン用端子82が設けられ、イヤホン13のケーブル13aには、マグネット式の端子13bが設けられている。イヤホン13の端子13bは、磁力によりイヤホン用端子82に吸着されることでイヤホン用端子82に接続される。
【選択図】 図12
特許請求の範囲
【請求項1】
ユーザが発する音声が外部に漏れるのを抑制する音漏れ抑制マスクであって、
前記ユーザの口を覆うマスク本体と、
前記マスク本体に取り付けられる有線式のイヤホン又はヘッドホンと、を備え、
前記マスク本体は、
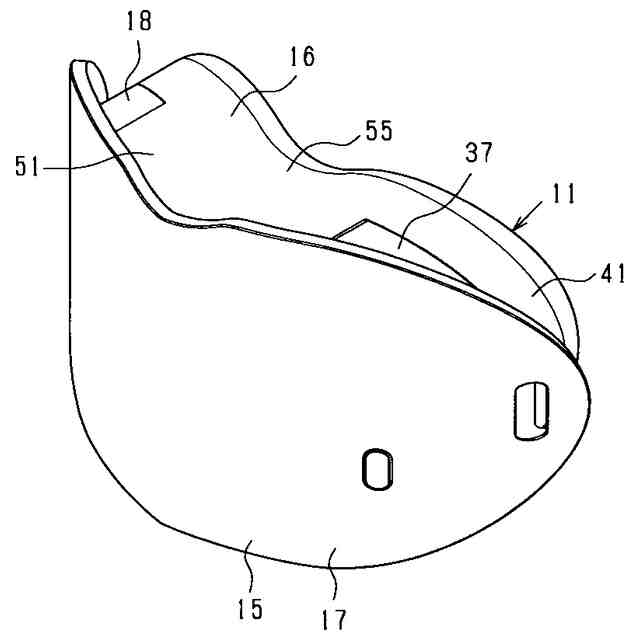
前記マスク本体の前面を形成する前板部と、
前記前板部の周縁側から後方に延び、前記マスク本体の周面を形成する周壁部と、
を有しており、
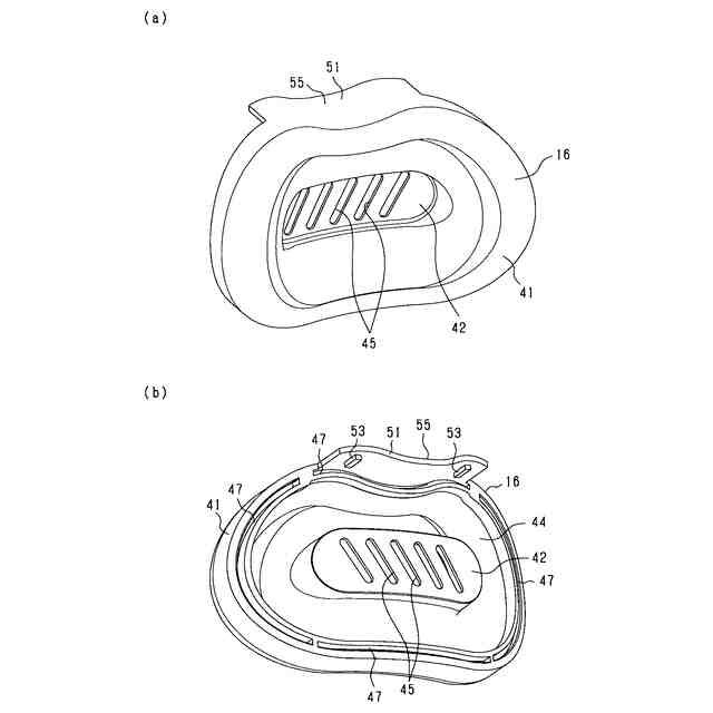
前記周壁部には、第1端子部が設けられ、
前記イヤホン又は前記ヘッドホンのケーブルには、第2端子部が設けられ、
前記第2端子部は、マグネット式の端子からなり、磁力により前記第1端子部に吸着されることで前記第1端子部に接続される、音漏れ抑制マスク。
続きを表示(約 790 文字)
【請求項2】
前記第1端子部は、前記周壁部の下面側に設けられている、請求項1に記載の音漏れ抑制マスク。
【請求項3】
前記前板部は、前記周壁部よりも外側に延出したフランジ部を有し、
前記第2端子部は、前記第1端子部に接続された状態で、少なくとも一部が前記フランジ部により前方から覆われる、請求項1又は2に記載の音漏れ抑制マスク。
【請求項4】
前記イヤホンとして、ユーザの片耳に装着される片耳用イヤホンを一対備え、
前記一対の片耳用イヤホンにはそれぞれ前記第2端子部が設けられており、
前記周壁部には、前記一対の片耳用イヤホンの前記第2端子部がそれぞれ接続される一対の前記第1端子部が設けられている、請求項1又は2に記載の音漏れ抑制マスク。
【請求項5】
前記各第1端子部は、前記周壁部の下面側において左右方向に並んで配置され、
前記周壁部により囲まれた内側には、ユーザの音声を検出するマイクロフォンを実装した基板が設けられ、
前記基板に前記各第1端子部が実装されている、請求項4に記載の音漏れ抑制マスク。
【請求項6】
前記周壁部の下面側には、外部電源を接続可能な第3端子部が設けられ、
前記各第1端子部は、前記第3端子部を挟んだ左右方向の両側にそれぞれ配置され、
前記第3端子部は、前記基板に実装されている、請求項5に記載の音漏れ抑制マスク。
【請求項7】
前記周壁部により囲まれた内側には、前記基板としての第1基板よりも左右方向の一方側に第2基板が設けられ、前記第1基板よりも左右方向の他方側にバッテリが設けられ、
前記第1基板は、前記第2基板と前記バッテリとをつないでいる、請求項5又は6に記載の音漏れ抑制マスク。
発明の詳細な説明
【技術分野】
【0001】
本発明は、ユーザが発する音声が外部に漏れるのを抑制する音漏れ抑制マスクに関するものである。
続きを表示(約 1,700 文字)
【背景技術】
【0002】
特許文献1には、ユーザが発した音声が外部に漏れるのを抑制する音漏れ抑制機能を有したマスクが開示されている。このマスクは、ユーザの口を覆うマスク本体を備え、そのマスク本体にユーザの音声を吸収する吸音材が設けられている。また、マスク本体には、ユーザの音声を検出するマイクが内蔵され、そのマイクを用いて他者と通話を行うことが可能となっている。かかる特許文献1のマスクによれば、ユーザが他者と通話を行う際、ユーザの音声が吸音材により吸収されるため、音声が外部に漏れるのを抑制することが可能となる。
【0003】
また、特許文献1のマスクには、ユーザの耳に装着されるイヤーパッド型のスピーカーが設けられている。このイヤーパッド型のスピーカーは、支持部材を介してマスク本体に取り付けられている。これにより、ユーザが他者と通話を行う際に、そのスピーカーを通じて他者の声を聞き取ることが可能となっている。
【先行技術文献】
【特許文献】
【0004】
特許第5896548号公報
【発明の概要】
【発明が解決しようとする課題】
【0005】
ここで、上記特許文献1のマスクにおいて、そのマスク本体に、イヤーパッド型のスピーカーに代えて、有線式のイヤホン又はヘッドホンを取り付けることが考えられる。しかしながら、その場合、マスク本体を顔に装着する際にイヤホン又はヘッドホンが邪魔になる等、その取り扱いが大変になると考えられる。
【0006】
本発明は、上記事情に鑑みてなされたものであり、イヤホン又はヘッドホンを備える音漏れ抑制マスクについて、その取り扱いを容易とすることを主たる目的とする。
【課題を解決するための手段】
【0007】
上記目的を達成すべく、本発明の音漏れ抑制マスクは、
ユーザが発する音声が外部に漏れるのを抑制する音漏れ抑制マスクであって、
前記ユーザの口を覆うマスク本体と、
前記マスク本体に取り付けられる有線式のイヤホン又はヘッドホンと、を備え、
前記マスク本体は、
前記マスク本体の前面を形成する前板部と、
前記前板部の周縁側から後方に延び、前記マスク本体の周面を形成する周壁部と、
を有しており、
前記周壁部には、第1端子部が設けられ、
前記イヤホン又は前記ヘッドホンのケーブルには、第2端子部が設けられ、
前記第2端子部は、マグネット式の端子からなり、磁力により前記第1端子部に吸着されることで前記第1端子部に接続される。
【発明の効果】
【0008】
本発明によれば、マスク本体の周壁部に第1端子部が設けられ、イヤホン又はヘッドホン(以下、イヤホン等という)のケーブルに第2端子部が設けられている。第2端子部はマグネット式の端子からなり、磁力により第1端子部に吸着されることで当該第1端子部に接続される。これにより、イヤホン等をマスク本体に着脱可能に取り付けることができる。かかる構成では、ユーザがマスク本体を顔に装着する際にはイヤホン等をマスク本体から取り外しておき、マスク本体を顔に装着した後にイヤホン等をマスク本体に取り付けることが可能となる。そのため、マスク本体を顔に装着する際にイヤホン等が邪魔になるのを回避できる。
【0009】
ところで、マスク本体を顔に装着した状態では、マスク本体の第1端子部を視認するのが困難になると考えられる。そのため、マスク本体を顔に装着した後、第1端子部にイヤホン等の第2端子部を接続する際、その接続作業が困難になると考えられる。その点、本発明では、接続作業の際、第2端子部を第1端子部に近づければ、第2端子部が磁力により第1端子部に吸着され接続される。そのため、マスク本体を顔に装着した状態でも接続作業を容易に行うことができる。
【0010】
以上より、本発明によれば、イヤホン又はヘッドホンを備える音漏れ抑制マスクについて、その取り扱いを容易とすることができる。
【図面の簡単な説明】
(【0011】以降は省略されています)
この特許をJ-PlatPat(特許庁公式サイト)で参照する
関連特許
株式会社白鳩
音漏れ抑制マスク
今日
株式会社白鳩
禁煙補助用マスク
29日前
株式会社白鳩
音漏れ抑制マスク
2か月前
株式会社白鳩
音漏れ抑制マスク
2か月前
株式会社白鳩
音漏れ抑制マスク
2か月前
株式会社白鳩
マスク及びマスクの検査方法
1か月前
個人
遮音材
21日前
個人
歌唱補助器具
1か月前
個人
管楽器用リガチャ-
1か月前
個人
音声出力装置
21日前
横浜ゴム株式会社
音響材
14日前
大和ハウス工業株式会社
音低減設備
1か月前
DIC株式会社
吸音材及び吸音部品
1か月前
個人
管楽器用音質改善留め具
8日前
NOK株式会社
吸音構造体
23日前
矢崎総業株式会社
車両用対話システム
22日前
横浜ゴム株式会社
多層空洞音響材
21日前
株式会社SinasSP
自動騒音低減装置
1か月前
カシオ計算機株式会社
発音装置、発音方法及びプログラム
1か月前
株式会社第一興商
カラオケ装置
22日前
トヨタ自動車株式会社
判定装置
1か月前
ヤマハ株式会社
鍵盤装置
1日前
ブラザー工業株式会社
音声録音装置、及び、音声録音用プログラム
1か月前
ブラザー工業株式会社
カラオケ用プログラム、及び、カラオケ装置
1か月前
株式会社JVCケンウッド
収音装置、収音方法、およびプログラム
1か月前
大建工業株式会社
吸音体及び音環境調整構造
1か月前
ヤマハ株式会社
音処理装置及び音処理方法
8日前
有限会社ツバサ
エレキギターおよび保護フィルム付きの樹脂プレート
1か月前
有限会社 宮脇工房
モーター挙動音発生装置
1か月前
株式会社SUBARU
乗物用遮音構造体、及び車両
1か月前
株式会社リコー
対話装置、対話システム、対話方法及びプログラム
1か月前
株式会社デンソー
制御装置、制御方法、及び制御プログラム
14日前
株式会社第一興商
カラオケ装置、カラオケシステム
16日前
本田技研工業株式会社
能動型振動騒音制御装置
1か月前
株式会社第一興商
カラオケ装置、カラオケシステム
今日
本田技研工業株式会社
能動型振動騒音制御装置
1か月前
続きを見る
他の特許を見る