TOP
|
特許
|
意匠
|
商標
特許ウォッチ
Twitter
他の特許を見る
10個以上の画像は省略されています。
公開番号
2025140755
公報種別
公開特許公報(A)
公開日
2025-09-29
出願番号
2024040321
出願日
2024-03-14
発明の名称
音漏れ抑制マスク
出願人
株式会社白鳩
代理人
個人
,
個人
主分類
A41D
13/11 20060101AFI20250919BHJP(衣類)
要約
【課題】ユーザの呼気中の水分により電気部品が悪影響を受けるのを抑制でき、しかもマスク本体の装着性を良いものとすることができる音漏れ抑制マスクを提供する。
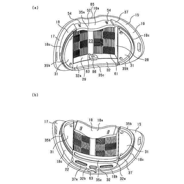
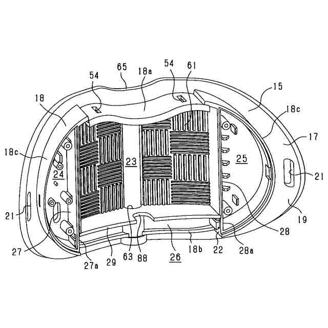
【解決手段】音漏れ抑制マスクは、ユーザの口を覆うマスク本体を備える。マスク本体のベース部15には、ユーザの口に向けて開口しユーザの呼気が入る第1空間23と、第1空間23と左右方向に隣接する第2空間24,25と、第1空間23と上下方向に隣接する第3空間26とが形成されている。第1空間23は、区画壁27により第2空間24と区画され、区画壁28により第2空間25と区画され、区画壁29により第3空間26と区画されている。第2空間24には基板71が収容され、第2空間25にはバッテリ73が収容され、第3空間26には基板72及びマイクロフォン81が収容されている。
【選択図】 図9
特許請求の範囲
【請求項1】
ユーザが発する音声が外部に漏れるのを抑制する音漏れ抑制マスクであって、
前記ユーザの口を覆うマスク本体を備え、
前記マスク本体には、前記ユーザの口に向けて開口し前記ユーザの呼気が入る第1空間と、前記第1空間と左右方向又は上下方向に隣接する隣接空間とが形成されており、
前記第1空間と前記隣接空間との間には、それら両空間を区画する区画壁が設けられ、
前記隣接空間に電気部品が収容されている、音漏れ抑制マスク。
続きを表示(約 1,200 文字)
【請求項2】
前記マスク本体は、左右方向に延びる横長形状とされ、
前記隣接空間として、前記第1空間と左右方向に隣接する第2空間が設けられ、
前記区画壁として、前記第1空間と前記第2空間とを区画する第1区画壁が設けられ、
前記第2空間に前記電気部品が収容されている、請求項1に記載の音漏れ抑制マスク。
【請求項3】
前記マスク本体には、前記第1空間を挟んだ左右方向の両側にそれぞれ前記第2空間が設けられ、
前記第2空間ごとに前記第1区画壁が設けられ、
前記各第2空間に前記電気部品がそれぞれ収容されている、請求項2に記載の音漏れ抑制マスク。
【請求項4】
前記隣接空間として、前記第1空間と上下方向に隣接する第3空間が設けられ、
前記区画壁として、前記第1空間と前記第3空間とを区画する第2区画壁が設けられ、
前記第3空間には、前記ユーザの音声を検出するマイクロフォンが前記電気部品として設けられている、請求項3に記載の音漏れ抑制マスク。
【請求項5】
前記マイクロフォンは、前記各第2空間に収容された前記電気部品とそれぞれ接続されており、
前記第3空間は、左右方向に延びており、その両端側において前記各第2空間とそれぞれ連通している、請求項4に記載の音漏れ抑制マスク。
【請求項6】
前記第3空間は、前記第1空間の下方に隣接しており、
前記マスク本体には、前記第3空間を挟んで前記第2区画壁と対向するとともに、前記マスク本体の下面を形成する下壁部が設けられており、
前記第3空間には、前記電気部品としての基板が、その両板面を上下方向に向けた状態で収容されており、
前記基板には、上側の板面に前記マイクロフォンが実装され、下側の板面に前記電気部品としての接続端子が実装され、
前記接続端子は、前記第3空間に収容され、前記下壁部に形成された開口部を通じて外部機器を接続可能となっている、請求項4又は5に記載の音漏れ抑制マスク。
【請求項7】
前記第2区画壁には、前記マイクロフォンと上下に並ぶ位置に前記第1空間と前記第3空間とを連通する連通部が形成され、
前記連通部には、前記第1空間に入った前記ユーザの音声を前記マイクロフォンに導く音声導き部が設けられており、
前記音声導き部は、
前記連通部を塞ぐようにして前記連通部に取り付けられる取付部と、
前記取付部から前記マイクロフォン側に筒状に延び、内側に前記マイクロフォンが嵌め込まれる筒状部と、
前記第1空間に開口し前記筒状部の内側まで延びる音声通路部と、を有している、請求項4又は5に記載の音漏れ抑制マスク。
【請求項8】
前記各第2空間に収容された前記電気部品のうち一方は基板であり、他方はバッテリである、請求項3乃至5のいずれか一項に記載の音漏れ抑制マスク。
発明の詳細な説明
【技術分野】
【0001】
本発明は、ユーザが発する音声が外部に漏れるのを抑制する音漏れ抑制マスクに関するものである。
続きを表示(約 1,500 文字)
【背景技術】
【0002】
特許文献1には、ユーザが発した音声が外部に漏れるのを抑制する音漏れ抑制機能を有したマスクが開示されている。このマスクは、ユーザの口を覆うマスク本体を備える。マスク本体には、ユーザの口に向けて開口し、ユーザの音声が入る内部空間が形成され、その内部空間においてユーザの音声が減衰されるようになっている。
【0003】
また、特許文献1のマスクでは、マスク本体の内部空間にユーザの音声を検出するマイクロフォンが内蔵されている。この場合、マイクロフォンを用いて他者と通話を行うことが可能となっている。また、マスク本体にはバッテリが内蔵され、そのバッテリの電力によりマイクロフォンを駆動させることが可能となっている。
【先行技術文献】
【特許文献】
【0004】
特開2022-153249号公報
【発明の概要】
【発明が解決しようとする課題】
【0005】
ここで、上記特許文献1では、バッテリがマスク本体においていずれの位置に配置されているかについて何も記載がされていない。そこで、上記特許文献1の構成において、例えばバッテリをマスク本体の内部空間に配置することが考えられる。しかしながら、内部空間にはユーザの音声とともにユーザの呼気が入るため、この場合、呼気に含まれる水分がバッテリに悪影響を及ぼすおそれがある。
【0006】
また、上記特許文献1において、例えばバッテリをマスク本体において内部空間よりも前方に配置することも考えられる。しかしながら、その場合、マスク本体を前後方向に長く形成する必要があり、しかも前後方向に長いマスク本体の前端側にバッテリを配置することになる。このため、マスク本体を顔に装着した際にマスク本体の前側が下方に倒れ易くなり、マスク本体の装着性が悪くなるおそれがある。
【0007】
なお、上述した問題は、マスク本体にバッテリが設けられる場合にのみ生じる問題ではなく、マスク本体に基板等、バッテリ以外の電気部品が設けられる場合にも同様に生じうる問題である。
【0008】
本発明は、上記事情に鑑みてなされたものであり、ユーザの呼気中の水分により電気部品が悪影響を受けるのを抑制でき、しかもマスク本体の装着性を良いものとすることができる音漏れ抑制マスクを提供することを主たる目的とする。
【課題を解決するための手段】
【0009】
上記目的を達成すべく、本発明の音漏れ抑制マスクは、
ユーザが発する音声が外部に漏れるのを抑制する音漏れ抑制マスクであって、
前記ユーザの口を覆うマスク本体を備え、
前記マスク本体には、前記ユーザの口に向けて開口し前記ユーザの呼気が入る第1空間と、前記第1空間と左右方向又は上下方向に隣接する隣接空間とが形成されており、
前記第1空間と前記隣接空間との間には、それら両空間を区画する区画壁が設けられ、
前記隣接空間に電気部品が収容されている。
【発明の効果】
【0010】
本発明によれば、マスク本体に、ユーザの口に向けて開口しユーザの呼気が入る第1空間と、第1空間と左右方向又は上下方向に隣接する隣接空間とが形成されている。隣接空間は、第1空間と区画壁により区画されているため、第1空間から隣接空間に呼気が流入するのを抑制することができる。そして、この隣接空間に電気部品が収容されている。この場合、呼気中の水分により電気部品が悪影響を受けるのを抑制することができる。
(【0011】以降は省略されています)
この特許をJ-PlatPat(特許庁公式サイト)で参照する
関連特許
株式会社白鳩
音漏れ抑制マスク
今日
株式会社白鳩
禁煙補助用マスク
29日前
株式会社白鳩
音漏れ抑制マスク
2か月前
株式会社白鳩
音漏れ抑制マスク
2か月前
株式会社白鳩
マスク及びマスクの検査方法
1か月前
個人
衿芯
4か月前
個人
和服
7か月前
個人
中間着
22日前
個人
シャツ
2か月前
個人
ネクタイ
2か月前
個人
二部式袍
10か月前
個人
下着
5か月前
個人
靴下
11か月前
個人
衣装
7か月前
個人
マスク
2か月前
個人
防虫服
22日前
個人
多機能装身具
3か月前
個人
簡単帯
11か月前
個人
ショーツ
11か月前
個人
作業補助ミトン
9か月前
個人
健康靴下
12か月前
個人
シャツ改造方法
7か月前
個人
肩章付き衣服。
5か月前
個人
マスクインナー
今日
東レ株式会社
防護服
1か月前
個人
:マスクカバー
3か月前
個人
車椅子用グローブ
3か月前
株式会社聖
手足保護具
1か月前
東洋紡株式会社
マスク
1か月前
株式会社聖
手足保護具
10か月前
個人
ソフトキャミブラ
7か月前
個人
手袋
8か月前
個人
足首用サポーター
9か月前
個人
内フィルムマスク
2か月前
有限会社原電業
指手袋
12か月前
個人
レインコート
6か月前
続きを見る
他の特許を見る