TOP
|
特許
|
意匠
|
商標
特許ウォッチ
Twitter
他の特許を見る
公開番号
2025141940
公報種別
公開特許公報(A)
公開日
2025-09-29
出願番号
2025040774
出願日
2025-03-14
発明の名称
内フィルムマスク
出願人
個人
代理人
主分類
A41D
13/11 20060101AFI20250919BHJP(衣類)
要約
【課題】マスクを通して呼吸する面積の効率が良く、息苦しさを発生させず、かつ透明体シールドの接着が外れることが無いマスクを提供する。
【解決手段】不織布等マスク上縁内側に、目をカバーする透明体の下縁外側を結合する事を特徴とするマスク。
【選択図】図1
特許請求の範囲
【請求項1】
不織布等マスク上縁内側に、目をカバーする透明体の下縁外側を結合する事を特徴とするマスク。
続きを表示(約 360 文字)
【請求項2】
請求項1に於いて、前記透明体の下縁部が、不織布等マスクの鼻形状に合わす金具と兼用し得る事を特徴とするマスク。
【請求項3】
請求項1に於いて、前記透明体は、不織布等マスクの上縁部に設けられたマスク鼻形状に合わす金具保持部の、一部のみに接着されている事を特徴とするマスク。
【請求項4】
請求項3に於いて、前記透明体の下縁部は全て不織布等マスクの内側に設ける事を特徴とするマスク。
【請求項5】
請求項4に於いて、前記不織布等マスクの外側を覆う透明又は不透明体を設ける事を特徴とするマスク。
【請求項6】
不織布等マスク上縁内側に透明体の下縁外側を結合し得るパーマネント接着又はリムーバブル接着部を前記透明体の下縁に設けた事を特徴とする透明体。
発明の詳細な説明
【技術分野】
【0001】
本発明は衛生マスク又は衛生マスクに設けるシールドに関する。
続きを表示(約 2,500 文字)
【背景技術】
【0002】
新型コロナウイルスの警戒が緩和されたにも関わらず、あまり報道されないが被患者は依然と多く、問題である。またコロナだけでなくインフルエンザ等のウィウルス感染対策や黄砂対策としてマスクは必須である。
【先行技術文献】
【特許文献】
【0003】
特開2015-142654 公報
【発明の概要】
【発明が解決しようとする課題】
【0004】
特許文献1には、マスクに貼りつけて使用し、目から異物やウイルス等が入る事を防ぐシールドが開示される。
しかし、公知シールドは、マスクに接着を強固の行うためマスク上部のひろい部分で接着することとなる(図1のL1)ので不織布マスクを通して呼吸する面積の効率が悪くなり、息苦しさも発生したりする。なぜなら、公知の不織布等マスクにシールドを設ける場合、顔面に沿って湾曲させるので周辺部の接着が弱いと、例えば口等を動かし不織布等マスクが形状変化すると、シールドとマスクの接着が外れてしまうなどの不具合が生じることもある為である。
特に、がマスク上端部に設けられた鼻形状に合わせる金具にてマスク形状を変化させる場合、公知では鼻近傍のシールドを切り欠きしていてもシールドの弾性によりマスクとの接着が外れシールドが取れる事が有る。
本課題を解決したのが本発明である。
【課題を解決するための手段】
【0005】
本発明は、不織布等マスクの上縁内側と、目をカバーする透明体の下縁外側を、結合する事を特徴とするマスクである。
鼻形状に合わせる金具が不用であるマスクである。
前記結合は、着脱可能又は不可能な粘着剤により結合され得るものである。
前記結合部は、前記不織布等マスクの上端を鼻形状に合わせずに本発明マスクと顔面の鼻周辺の間に隙間を設ける方法である。
透明体の下縁内側に顔接触用クッション等部材を設けてもよい。
前記不織布等マスクの外側に、不織布等マスクの表面を保護する透明体を設けてもよい。
【発明の効果】
【0006】
本発明には大きな効果がある。
(1)鼻形状に合わせる金具が不用である。
(2)マスク上端の鼻形状に合わせる金具部分のみに透明体下縁を貼りつけるので、公知マスクを通して呼吸する面積の効率は良く、息苦しさを発生させない。
(3)公知マスクの内側に接着し透明体の下縁がすべてマスクの内がとなる構成とする事で、口等動かしても顔面にそってマスクが湾曲しても本発明の透明体シールドの接着が外れることは無い。
(2)本発明のシールドと顔面の鼻周辺に隙間ができ、体温又は呼気により上昇気流が起こる煙突効果により、ウイルス等が本発明シールドの側方から入ってこない。
(3)本シールドが公知マスクのカバーとなる。
(4)目から入るコロナ等ウイルスを防御可能のみならず、花粉も防御し花粉症にも効く。
(5)公知マスクに押し付ける圧がシールドに働くので、弱い粘着力で公知マスクと結合が可能であり、強固に接合できる。
【図面の簡単な説明】
【0007】
公知マスク用シールドを示す図。
本発明第1実施形態を示す図。
本発明第1実施形態の原理を示す図。
本発明第2から第4の実施形態を示す図。
マスク3と透明体4を接合した本発明の側断面拡大図であり、本発明第5から第6実施形態を示す図。
本発明第7実施形態を示す図。
本発明第8実施形態を示す図。
【発明を実施するための形態】
【0008】
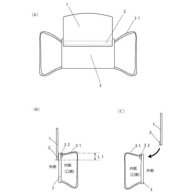
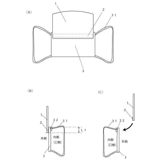
図1に示す如く、公知の不織布等の鼻口を覆うマスク3では、目を覆っていないので、ウイルスの侵入を防げない。そのため目の部分に図1(C)の矢印の如くシールド1を前記マスクの外側上端部と接着する。しかしマスク材質やマスクの湾曲や振動や風などによりマスクに設けたシールドは剥離してしまうことが有る。
そのためしっかりとマスクにシールドを接着するため接着力を上げたり、図1(B)に記載した如くマスクとシールドが重なる部分の寸法L1を長くしたりすることとなる。
また、前記マスクの上端縁には装着者の鼻形状に合わせるための金具(ノーズフィット)32が設けられている。
【0009】
それに対し、本発明は、画期的な多くの機能がある発明である。目を防御するための、非常に簡易でずれたり外れない透明体シールドを有する、コストパーフォーマンスも良いマスクである。
以下に本発明の実施例を説明する。
【0010】
[本発明第1実施形態]
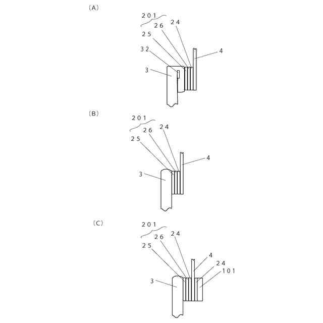
本発明の第1実施形態は、図2、3に示す如く、透明体4の下縁外側に接着部2を設け、呼吸出来る不織布等のマスク3の上縁の内側に接着したことを特徴とする実施例である。
図2(A)は、透明体シールド4の正面図で、表面の下縁部に接着部2を設ける。本透明体シールド4の巾はマスクと同等寸法で、高さは目が防御可能な高さとし、厚さは湾曲可能な厚さである。
図2(B)は、(A)の側断面図であり、透明シールド4の下縁の接着部2は、接着剤201の表面に剥離シート202がはりつけてあり、使用時に剥離シート202を剥がし、公知マスク上端の内側(顔側)へ貼りつける。
前記接着剤201は、着脱可能又は不可能な粘着剤とし、着脱可能な粘着剤201を用いるときは、図2(B)の如くパーマネント接着層24、テープ基材26、リムーバブル粘着(PSA)層25で構成され、不織布等のマスク3が交換可能となる。
前記接着剤201の材質は、ゴム系(固着タイプ)やアクリル系(固着又は着脱可能)のどちらを用いてもよい。
図2(C)は公知マスク上端の内側(顔側)へ透明体シールド4を貼りつけた時の正面図であり、(D)はその側面図である。
(【0011】以降は省略されています)
この特許をJ-PlatPat(特許庁公式サイト)で参照する
関連特許
個人
和服
5か月前
個人
衿芯
3か月前
個人
シャツ
1か月前
個人
二部式袍
9か月前
個人
ネクタイ
1か月前
個人
靴下
10か月前
個人
下着
4か月前
個人
衣装
6か月前
個人
マスク
1か月前
個人
多機能装身具
1か月前
個人
シャツ改造方法
6か月前
個人
:マスクカバー
2か月前
個人
作業補助ミトン
8か月前
個人
肩章付き衣服。
4か月前
東レ株式会社
防護服
20日前
個人
車椅子用グローブ
2か月前
個人
足首用サポーター
8か月前
東洋紡株式会社
マスク
26日前
個人
手袋
7か月前
個人
内フィルムマスク
28日前
株式会社聖
手足保護具
13日前
個人
ソフトキャミブラ
6か月前
株式会社聖
手足保護具
9か月前
個人
レインコート
5か月前
株式会社マルイチ
二部式帯
20日前
グンゼ株式会社
衣服
6か月前
個人
被介護者用上衣
3か月前
興和株式会社
マスク
8か月前
豊鷹株式会社
冷却装置
7か月前
株式会社マルイチ
2部式着物
1か月前
株式会社カネカ
収納物
8か月前
個人
マスク(多機能マスク)
2か月前
個人
ブラカップを有する衣類
1か月前
個人
ブラカップを有する衣類
1か月前
LUDO合同会社
手袋
7か月前
個人
ワイヤー付き衣類
10か月前
続きを見る
他の特許を見る