TOP
|
特許
|
意匠
|
商標
特許ウォッチ
Twitter
他の特許を見る
公開番号
2025023704
公報種別
公開特許公報(A)
公開日
2025-02-17
出願番号
2023128074
出願日
2023-08-04
発明の名称
マスク
出願人
興和株式会社
代理人
個人
主分類
A41D
13/11 20060101AFI20250207BHJP(衣類)
要約
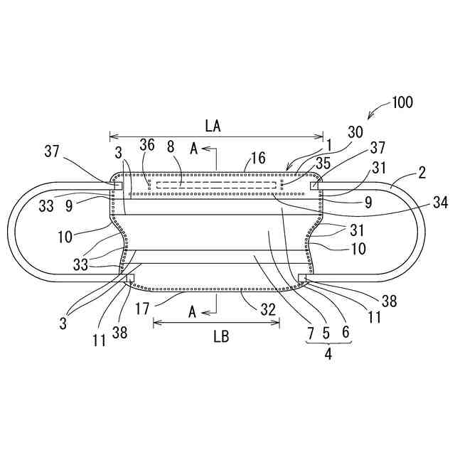
【課題】密着性を向上させながらも口元空間を十分に確保し、また、肌への接触面積を最小限に抑えたマスクを提供する。
【解決手段】マスク100は、少なくとも着用者の鼻孔と口を覆うマスク本体1と、マスク本体1における左右両側端の上下に取り付けられる一対の耳掛け部2とを備え、マスク本体1が、着用者の口元に対応する部分に配設されるセンタープリーツ5と、当該センタープリーツ5から上方向及び下方向のそれぞれに凸状に折り畳まれた一又は複数のサイドプリーツ6、7とを有するプリーツ部4と、少なくともセンタープリーツ5左右両側端に配設され、左右方向内側に湾曲した湾曲凹部10とを備えるとともに、下端17の左右方向における長さが上端16の左右方向における長さよりも短く形成される。
【選択図】図1
特許請求の範囲
【請求項1】
少なくとも着用者の鼻孔と口を覆うマスク本体と、前記マスク本体における左右両側端の上下に取り付けられる一対の耳掛け部とを備えるマスクであって、
前記マスク本体が、
着用者の口元に対応する部分に配設されるセンタープリーツと、当該センタープリーツから上方向及び下方向のそれぞれに凸状に折り畳まれた一又は複数のサイドプリーツとを有するプリーツ部と、
少なくとも前記センタープリーツの左右両側端に配設され、左右方向内側に湾曲した湾曲凹部とを備えるとともに、
下端の左右方向における長さが上端の左右方向における長さよりも短く形成されることを
特徴とするマスク。
続きを表示(約 640 文字)
【請求項2】
請求項1に記載のマスクにおいて、
前記マスク本体が、左右両側部に直線部を備えることを
特徴とするマスク。
【請求項3】
請求項2に記載のマスクにおいて、
前記直線部が、前記マスク本体上端と直交する方向に平行となるように形成されることを
特徴とするマスク。
【請求項4】
請求項2又は3に記載のマスクにおいて、
前記直線部が、前記マスク本体の左右両側端上部に形成されることを
特徴とするマスク。
【請求項5】
請求項1に記載のマスクにおいて、
前記湾曲凹部の頂点が、前記センタープリーツの両側端下部に配置されることを
特徴とするマスク。
【請求項6】
請求項1に記載のマスクにおいて、
前記湾曲凹部が、前記マスク本体の下部側である終点が前記マスク本体の上部側である始点よりも左右方向内側に配置されるとともに、前記終点から前記湾曲凹部の頂点までの曲率が前記始点から前記湾曲凹部の頂点までの曲率よりも小さく形成されることを
特徴とするマスク。
【請求項7】
請求項1に記載のマスクにおいて、
前記マスク本体が、前記湾曲凹部から下端まで配設される傾斜部を備え、
前記耳掛け部が、前記プリーツ部が形成されていない、前記直線部及び前記傾斜部近傍に取り付けられることを
特徴とするマスク。
発明の詳細な説明
【技術分野】
【0001】
本発明は、密着性を向上させながらも口元空間を十分に確保し、また、肌への接触面積を最小限に抑えたマスクに関する。
続きを表示(約 1,400 文字)
【背景技術】
【0002】
マスクには、空気中の浮遊物が口や鼻を通して体内に取り込まれることを防ぐのと同時に、口や鼻からの分泌物を空気中に撒き散らすことを防ぐなどの役割がある。
そのため、浮遊物の吸引や口等からの分泌物の飛散を防ぐには、マスクと着用者の顔との密着性を高める必要がある。
【0003】
例えば、従来のサイドフィットしたマスクは、マスク本体と、マスク本体の両側部に設置された耳掛け部材とを有するマスクにおいて、耳掛け部材が設置された間の両側部は、内側に湾曲した形状である(例えば、特許文献1参照)。
【0004】
また、従来のマスクは、鼻部及び口部を覆う被覆シート部と、この被覆シート部の両側縁の上下に設けられた耳掛け部固着部位に固着された耳掛け部とからなるマスクにおいて、前記被覆シート部の両側縁に、上側の耳掛け部固着部位と下側の耳掛け部固着部位との間に位置して円弧状の切欠部が形成され、さらに、前記下側の耳掛け部固着部位は前記上側の耳掛け部固着部位より中央寄りに設けられている(例えば、特許文献2参照)。
【先行技術文献】
【特許文献】
【0005】
実用新案登録第3162028号公報
実用新案登録第3138397号公報
【発明の概要】
【発明が解決しようとする課題】
【0006】
特許文献1に開示されているサイドフィットしたマスクは、マスク本体の耳掛け部材間に内側に湾曲した両側部を形成することで、耳掛け部材の張力を受けても両側部が頬から浮き上がることがなく、頬との間に隙間を生ずることがないとするものである。
【0007】
しかしながら、当該特許文献1に記載のサイドフィットしたマスクは、マスク本体の上端と下端との長さが等しく形成されているため、マスクと着用者の肌との接触面積が大きくなり、肌荒れや、着用者が化粧をしている場合には、マスクとの広範囲での接触による化粧落ちがといった課題を有していた。
また、特許文献1には、プリーツを設けることが記載されているが、その詳細については何ら記載されていない。
【0008】
また、特許文献2に開示されているマスクは、上側の耳掛け部固着部位と下側の耳掛け部固着部位との間に円弧状の切欠部を形成することで、被覆シート部の両側部に皺を生じさせず、また、下側の耳掛け部固着部位が上側の耳掛け部固着部位より中央寄りに設けられることで、下側の耳掛け部固着部位がこの位置で耳掛け部による引っ張り力を受け、これにより、被覆シートの密着性を向上させるものである。
【0009】
しかしながら、当該特許文献2に記載のマスクは、被覆シート部が横長の長方形で平面形状に構成されていることから、口元空間を十分に確保することができず、結果として、着用者の肌との接触面積が大きくなってしまい、肌荒れ等を生じるといった課題を有していた。
【0010】
本発明は、上記課題を解消するためになされたものであり、密着性を向上させながらも口元空間を十分に確保し、また、肌への接触面積を最小限に抑えたマスクを提供することを目的とする。
【課題を解決するための手段】
(【0011】以降は省略されています)
この特許をJ-PlatPat(特許庁公式サイト)で参照する
関連特許
興和株式会社
組成物
2か月前
興和株式会社
組成物
2か月前
興和株式会社
マスク
2か月前
興和株式会社
経口組成物
3か月前
興和株式会社
新薬物複合体
3か月前
興和株式会社
固定装置及び磁場発生ユニット
1か月前
興和株式会社
光学設計方法、光学素子、及び光学素子の評価方法
25日前
三彩化工株式会社
防錆用組成物および防錆方法
1か月前
興和株式会社
水性の組成物-伍-
1か月前
個人
和服
6か月前
個人
衿芯
4か月前
個人
シャツ
2か月前
個人
中間着
17日前
個人
二部式袍
10か月前
個人
ネクタイ
2か月前
個人
衣装
7か月前
個人
下着
5か月前
個人
靴下
11か月前
個人
マスク
2か月前
個人
簡単帯
11か月前
個人
多機能装身具
2か月前
個人
防虫服
17日前
個人
作業補助ミトン
9か月前
個人
シャツ改造方法
7か月前
東レ株式会社
防護服
1か月前
個人
ショーツ
11か月前
個人
肩章付き衣服。
5か月前
個人
健康靴下
11か月前
個人
手首穴付き手袋
12か月前
個人
:マスクカバー
3か月前
個人
ボクサーパンツ
12か月前
個人
手袋
8か月前
個人
内フィルムマスク
1か月前
株式会社聖
手足保護具
10か月前
株式会社聖
手足保護具
1か月前
東洋紡株式会社
マスク
1か月前
続きを見る
他の特許を見る