TOP
|
特許
|
意匠
|
商標
特許ウォッチ
Twitter
他の特許を見る
10個以上の画像は省略されています。
公開番号
2025173992
公報種別
公開特許公報(A)
公開日
2025-11-28
出願番号
2024079931
出願日
2024-05-16
発明の名称
音漏れ抑制マスク
出願人
株式会社白鳩
代理人
個人
,
個人
主分類
A41D
13/11 20060101AFI20251120BHJP(衣類)
要約
【課題】外部への音漏れを好適に抑制することができる音漏れ抑制マスクを提供する。
【解決手段】音漏れ抑制マスクは、着用者の口を覆うマスク本体を備える。マスク本体は、ベース部15を有している。ベース部15には、ユーザの口に向けて開口する第1空間23が形成されている。第1空間23には、第1吸音材61が設けられている。第1吸音材61は、第1空間23の底部23aまで押し込まれた状態で配置されている。
【選択図】 図8
特許請求の範囲
【請求項1】
ユーザが発する音声が外部に漏れるのを抑制する音漏れ抑制マスクであって、
前記ユーザの口を覆うマスク本体を備え、
前記マスク本体には、前記ユーザの口に向けて開口する凹状の内部空間が形成され、
前記内部空間には、第1吸音材が設けられている、音漏れ抑制マスク。
続きを表示(約 970 文字)
【請求項2】
前記マスク本体は、
前記内部空間が形成されたベース部と、
前記ベース部の後方に設けられ、前記ユーザの口の周りで前記ユーザの顔面に密着される環状部と、を有しており、
前記内部空間は、前記環状部に囲まれた内側を介して開口しており、
前記環状部の内部には、環状の第2吸音材が設けられている、請求項1に記載の音漏れ抑制マスク。
【請求項3】
前記第1吸音材と前記第2吸音材とは、別体で形成され互いに当接した状態で設けられている、又は、一体形成されている、請求項2に記載の音漏れ抑制マスク。
【請求項4】
前記マスク本体には、前記内部空間に入る前記ユーザの呼気を前記マスク本体の外部に導く導出路が形成されており、
前記内部空間の底部と前記第1吸音材との間には、所定の空間部が形成されており、
前記導出路は、前記空間部と前記マスク本体の外部とを連通している、請求項1乃至3のいずれか一項に記載の音漏れ抑制マスク。
【請求項5】
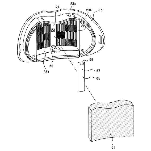
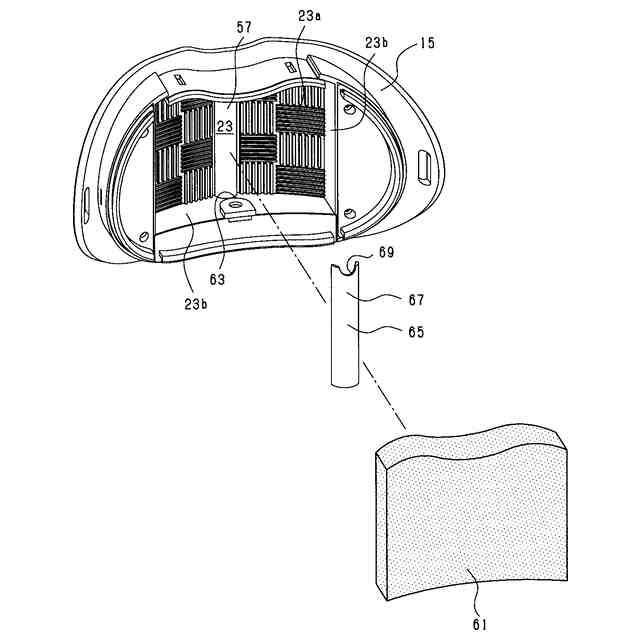
前記第1吸音材は、前記内部空間に前記底部まで押し込まれた状態で配置され、
前記底部から前記第1吸音材に向けて突出して設けられることにより前記第1吸音材を前記底部から部分的に離間させることで前記空間部を形成する突出部を備える、請求項4に記載の音漏れ抑制マスク。
【請求項6】
前記導出路は、前記内部空間の周面部において開口しており、
前記突出部は、前記導出路に向けて前記底部に沿って延びているとともに、管状又は前記底部に向けて開放された溝形状をなしており、
前記突出部の内側には、前記導出路に通じる通路空間が前記空間部として形成され、
前記突出部において前記通路空間を囲む壁部には、前記導出路の側とは反対側に、前記通路空間の内外を連通する連通部が形成されている、請求項5に記載の音漏れ抑制マスク。
【請求項7】
前記突出部は、前記底部に沿って上下方向に延びており、
前記連通部は、前記壁部において上側に配置され、
前記導出路は、前記突出部の下方に配置され、前記ユーザの呼気を前記マスク本体の下方に導く、請求項6に記載の音漏れ抑制マスク。
発明の詳細な説明
【技術分野】
【0001】
本発明は、ユーザが発する音声が外部に漏れるのを抑制する音漏れ抑制マスクに関するものである。
続きを表示(約 1,300 文字)
【背景技術】
【0002】
特許文献1には、ユーザが発した音声が外部に漏れるのを抑制する音漏れ抑制機能を有したマスクが開示されている。
【先行技術文献】
【特許文献】
【0003】
特開2017-3968号公報
【発明の概要】
【発明が解決しようとする課題】
【0004】
しかしながら、上記特許文献1のマスクでは、外部への音漏れを好適に抑制することが難しい。
【0005】
本発明は、上記事情に鑑みてなされたものであり、外部への音漏れを好適に抑制することができる音漏れ抑制マスクを提供することを主たる目的とする。
【課題を解決するための手段】
【0006】
上記目的を達成すべく、本発明の音漏れ抑制マスクは、
ユーザが発する音声が外部に漏れるのを抑制する音漏れ抑制マスクであって、
前記ユーザの口を覆うマスク本体を備え、
前記マスク本体には、前記ユーザの口に向けて開口する凹状の内部空間が形成され、
前記内部空間には、第1吸音材が設けられている。
【発明の効果】
【0007】
本発明によれば、マスク本体にユーザの口に向けて開口する内部空間が形成され、その内部空間に第1吸音材が設けられている、これにより、内部空間に入り込むユーザの音声を第1吸音材により吸収することができる。そのため、外部への音漏れを好適に抑制することができる。
【図面の簡単な説明】
【0008】
音漏れ抑制マスクの正面図である。
マスク本体を前方から見た斜視図である。
マスク本体を後方から見た斜視図である。
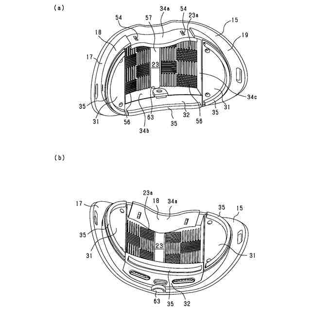
ベース部を後方から見た斜視図である。
ベース部に蓋部が取り付けられた状態を示す斜視図であり、(a)が斜め上方から見ており、(b)が斜め下方から見ている。
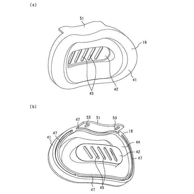
(a)が顔当て部を後方から見た斜視図であり、(b)が顔当て部を前方から見た斜視図である。
音漏れ抑制マスクの着用状態を示す正面図である。
ベース部と通路形成部材と第1吸音材とを示す分解斜視図である。
ベース部の第1空間に通路形成部材と第1吸音材とが設けられた状態を示す正面図である。
顔当て部と第2吸音材とを示す分解斜視図である。
顔当て部の環状部の内部に第2吸音材が設けられた状態を示す斜視図であり、第1吸音材を併せて示している。
図9のA-A線断面図である。
図9のB-B線断面図である。
【発明を実施するための形態】
【0009】
以下、本発明を具体化した一実施形態の音漏れ抑制マスクについて図面を参照しながら説明する。
【0010】
図1に示すように、音漏れ抑制マスク10は、ユーザの口を覆うマスク本体11と、マスク本体11をユーザの顔に装着させるバンド12と、ユーザの耳に装着される有線式の一対のイヤホン13とを備える。マスク本体11は、左右方向に延びる横長形状とされ、ユーザの鼻を覆わず口のみを覆うものとなっている(図7も参照)。
(【0011】以降は省略されています)
この特許をJ-PlatPat(特許庁公式サイト)で参照する
関連特許
株式会社白鳩
音漏れ抑制マスク
今日
株式会社白鳩
禁煙補助用マスク
29日前
株式会社白鳩
音漏れ抑制マスク
2か月前
株式会社白鳩
音漏れ抑制マスク
2か月前
株式会社白鳩
音漏れ抑制マスク
2か月前
株式会社白鳩
マスク及びマスクの検査方法
1か月前
個人
衿芯
4か月前
個人
和服
7か月前
個人
中間着
22日前
個人
シャツ
2か月前
個人
ネクタイ
2か月前
個人
二部式袍
10か月前
個人
下着
5か月前
個人
靴下
11か月前
個人
衣装
7か月前
個人
マスク
2か月前
個人
防虫服
22日前
個人
多機能装身具
3か月前
個人
簡単帯
11か月前
個人
ショーツ
11か月前
個人
作業補助ミトン
9か月前
個人
健康靴下
12か月前
個人
シャツ改造方法
7か月前
個人
肩章付き衣服。
5か月前
個人
マスクインナー
今日
東レ株式会社
防護服
1か月前
個人
:マスクカバー
3か月前
個人
車椅子用グローブ
3か月前
株式会社聖
手足保護具
1か月前
東洋紡株式会社
マスク
1か月前
株式会社聖
手足保護具
10か月前
個人
ソフトキャミブラ
7か月前
個人
手袋
8か月前
個人
足首用サポーター
9か月前
個人
内フィルムマスク
2か月前
有限会社原電業
指手袋
12か月前
続きを見る
他の特許を見る