TOP
|
特許
|
意匠
|
商標
特許ウォッチ
Twitter
他の特許を見る
10個以上の画像は省略されています。
公開番号
2025142449
公報種別
公開特許公報(A)
公開日
2025-10-01
出願番号
2024041798
出願日
2024-03-18
発明の名称
演奏装置、方法およびプログラム
出願人
カシオ計算機株式会社
代理人
インフォート弁理士法人
主分類
G10H
1/053 20060101AFI20250924BHJP(楽器;音響)
要約
【課題】適切でない演奏操作を行ったことをユーザに認識させやすくすること。
【解決手段】演奏装置は、複数の演奏操作子と、少なくとも1つのプロセッサと、を備える。少なくとも1つのプロセッサは、演奏操作子に対する演奏操作を検出すると、演奏操作に応じた第1の音高が進行中の曲のコード構成音の音高か否かを判定し、第1の音高が上記コード構成音の音高でない場合、少なくとも、第1の音高の楽音、上記コード構成音である第2の音高の楽音を順に発音する。
【選択図】図4
特許請求の範囲
【請求項1】
複数の演奏操作子と、
少なくとも1つのプロセッサと、を備え、
前記少なくとも1つのプロセッサは、
前記演奏操作子に対する演奏操作を検出すると、前記演奏操作に応じた第1の音高が進行中の曲のコード構成音の音高か否かを判定し、
前記第1の音高が前記コード構成音の音高でない場合、少なくとも、前記第1の音高の楽音、前記曲のコード構成音である第2の音高の楽音を順に発音する、
演奏装置。
続きを表示(約 1,000 文字)
【請求項2】
前記少なくとも1つのプロセッサは、
前記第1の音高が前記コード構成音の音高でない場合、前記第1の音高から前記第2の音高までを段階的または連続的に変化させながら発音する、
請求項1に記載の演奏装置。
【請求項3】
前記第2の音高は、前記コード構成音の音高のなかで、前記第1の音高よりも高くかつ前記第1の音高に最も近い構成音の音高である、
請求項1に記載の演奏装置。
【請求項4】
前記少なくとも1つのプロセッサは、
前記第1の音高から前記第2の音高までの、発音対象の各楽音の音価を、前記曲のテンポに応じて決定する、
請求項1に記載の演奏装置。
【請求項5】
前記少なくとも1つのプロセッサは、
前記第1の音高から前記第2の音高までの、発音対象の各楽音のうち、前記第2の音高の楽音を、他の音高の楽音よりも大きい音量で発音する、
請求項1に記載の演奏装置。
【請求項6】
前記少なくとも1つのプロセッサは、前記第1の音高が前記コード構成音の音高でない場合、前記演奏操作がオフされるかどうかに拘わらず、前記第2の音高まで順に発音する、
請求項1に記載の演奏装置。
【請求項7】
前記少なくとも1つのプロセッサは、
前記第1の音高が前記コード構成音の音高の場合、前記第1の音高の楽音を発音する、
請求項1に記載の演奏装置。
【請求項8】
演奏装置の演奏操作子に対する演奏操作を検出すると、前記演奏操作に応じた第1の音高が進行中の曲のコード構成音の音高か否かを判定し、
前記第1の音高が前記コード構成音の音高でない場合、少なくとも、前記第1の音高の楽音、前記曲のコード構成音である第2の音高の楽音を順に発音する、処理を、コンピュータに実行させる、
方法。
【請求項9】
演奏装置の演奏操作子に対する演奏操作を検出すると、前記演奏操作に応じた第1の音高が進行中の曲のコード構成音の音高か否かを判定し、
前記第1の音高が前記コード構成音の音高でない場合、少なくとも、前記第1の音高の楽音、前記曲のコード構成音である第2の音高の楽音を順に発音する、処理を、コンピュータに実行させる、
プログラム。
発明の詳細な説明
【技術分野】
【0001】
本開示は、演奏装置、方法およびプログラムに関する。
続きを表示(約 1,400 文字)
【背景技術】
【0002】
楽器演奏が不得手なユーザの演奏を補助する演奏装置が知られている。例えば特許文献1に、この種の演奏装置の具体的構成が記載されている。
【0003】
特許文献1に記載の演奏装置は、ユーザ操作による入力音を、コード対応の変換テーブルを用いて、コードに合う音高に自動的に変換して発音する。更に、演奏装置は、同時に再生している伴奏などに合わない演奏音が発音されないように発音を制御する。
【先行技術文献】
【特許文献】
【0004】
特開2004-206073号公報
【発明の概要】
【発明が解決しようとする課題】
【0005】
特許文献1では、ユーザが適切でない演奏操作子を操作しても音楽的に適切な楽音が発音される。そのため、ユーザは、適切でない演奏操作を行ったことを認識しにくい。すなわち、特許文献1に記載の演奏装置は、適切でない演奏操作を行ったことをユーザに認識させるという観点において改良の余地がある。
【0006】
本開示の実施形態は上記の事情に鑑み、適切でない演奏操作を行ったことをユーザに認識させやすい演奏装置、方法およびプログラムを提供することを目的とする。
【課題を解決するための手段】
【0007】
本開示の一実施形態に係る演奏装置は、複数の演奏操作子と、少なくとも1つのプロセッサと、を備える。少なくとも1つのプロセッサは、演奏操作子に対する演奏操作を検出すると、演奏操作に応じた第1の音高が進行中の曲のコード構成音の音高か否かを判定し、第1の音高が上記コード構成音の音高でない場合、少なくとも、第1の音高の楽音、上記コード構成音である第2の音高の楽音を順に発音する。
【発明の効果】
【0008】
本開示の一実施形態によれば、適切でない演奏操作を行ったことをユーザに認識させやすい演奏装置、方法およびプログラムが提供される。
【図面の簡単な説明】
【0009】
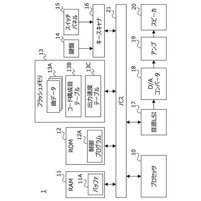
本開示の一実施形態に係る電子楽器の構成を示すブロック図である。
本開示の一実施形態において電子楽器に記憶される曲データに対応する楽譜の一部を示す図である。
本開示の一実施形態において電子楽器で発音される楽音を例示的に説明する図である。
本開示の一実施形態において電子楽器で発音される楽音を例示的に説明する図である。
押鍵操作時の電子楽器の機能を示す機能ブロック図である。
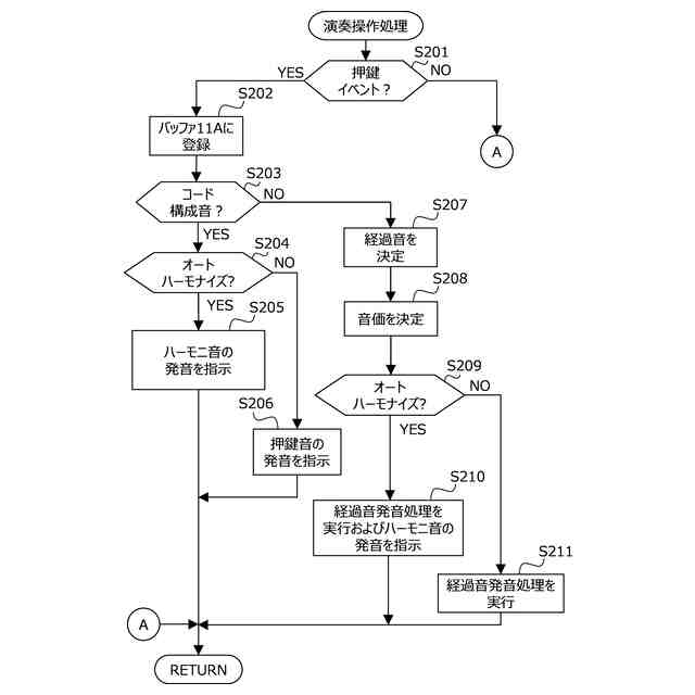
本開示の一実施形態において電子楽器のプロセッサにより実行される処理を示すフローチャートである。
図6のステップS105の演奏操作処理のサブルーチンである。
図6のフローチャートに示される経過音発音処理のサブルーチンである。
本開示の一実施形態において電子楽器のバッファに格納される情報を示す図である。
【発明を実施するための形態】
【0010】
以下の説明は、本開示の一実施形態に係る演奏装置、方法およびプログラムに関する。共通の又は対応する要素については、同一又は類似の符号を付して、重複する説明を適宜簡略又は省略する。
(【0011】以降は省略されています)
この特許をJ-PlatPat(特許庁公式サイト)で参照する
関連特許
カシオ計算機株式会社
印刷装置
14日前
カシオ計算機株式会社
電子装置
22日前
カシオ計算機株式会社
光源装置及び投影装置
9日前
カシオ計算機株式会社
報知システム及び報知方法
24日前
カシオ計算機株式会社
調整装置、方法及びプログラム
22日前
カシオ計算機株式会社
イヤホンデバイス、電子システム
今日
カシオ計算機株式会社
発音装置、発音方法及びプログラム
24日前
カシオ計算機株式会社
電子機器、通知制御方法及びプログラム
23日前
カシオ計算機株式会社
検索装置、検索方法、及び、プログラム
14日前
カシオ計算機株式会社
電子機器、入力制御方法、及びプログラム
11日前
カシオ計算機株式会社
印刷装置、ラベル作成方法及びプログラム
14日前
カシオ計算機株式会社
情報処理装置、情報処理方法、及びプログラム
3日前
カシオ計算機株式会社
ウェアラブル機器、装着判定方法及びプログラム
3日前
カシオ計算機株式会社
情報処理装置、演奏装置、方法およびプログラム
23日前
カシオ計算機株式会社
電子機器、電源供給状態表示方法およびプログラム
21日前
カシオ計算機株式会社
時計
今日
カシオ計算機株式会社
電子鍵盤楽器
2日前
カシオ計算機株式会社
売上データ処理システム、売上データ処理方法、及びプログラム
8日前
カシオ計算機株式会社
カバー付き電子機器
14日前
カシオ計算機株式会社
バンド駒の製造方法
今日
カシオ計算機株式会社
スイッチ装置および時計
24日前
カシオ計算機株式会社
スタンド、鍵盤楽器セット
21日前
カシオ計算機株式会社
情報処理装置、情報制御方法、及び、プログラム
10日前
カシオ計算機株式会社
音量制御装置、電子楽器、音量制御方法及びプログラム
21日前
個人
遮音材
今日
個人
木管楽器
1か月前
個人
管楽器用リガチャ-
17日前
個人
歌唱補助器具
9日前
個人
音声出力装置
今日
大和ハウス工業株式会社
音低減設備
10日前
DIC株式会社
吸音材及び吸音部品
11日前
NOK株式会社
吸音構造体
2日前
矢崎総業株式会社
車両用対話システム
1日前
横浜ゴム株式会社
多層空洞音響材
今日
株式会社SinasSP
自動騒音低減装置
22日前
トヨタ自動車株式会社
判定装置
24日前
続きを見る
他の特許を見る