TOP
|
特許
|
意匠
|
商標
特許ウォッチ
Twitter
他の特許を見る
公開番号
2025146094
公報種別
公開特許公報(A)
公開日
2025-10-03
出願番号
2024046697
出願日
2024-03-22
発明の名称
プリンタ装置
出願人
東芝テック株式会社
代理人
弁理士法人酒井国際特許事務所
主分類
B41J
17/12 20060101AFI20250926BHJP(印刷;線画機;タイプライター;スタンプ)
要約
【課題】無印字領域でのインクリボンの使用量削減を図ることが可能なプリンタ装置を提供する。
【解決手段】プリンタ装置は、媒体を搬送するプラテンローラを含む搬送部と、媒体の搬送速度に応じた供給速度でインクリボンを供給する供給部と、インクリボンのインクを媒体に転写して印字を行うサーマルヘッドと、プラテンローラに対するサーマルヘッドの配置位置を移動する移動部と、供給部及び移動部を制御し、媒体に印字を行わない無印字領域の開始位置で、サーマルヘッドをプラテンローラから離反させて、インクリボンの減速を開始し、無印字領域の終了位置にあわせて、インクリボンを供給速度まで加速して、サーマルヘッドをプラテンローラに接近させるリボンセーブ動作を行う制御部と、を備え、制御部は、リボンセーブ動作において、インクリボンを供給方向と逆方向に移動させた後、無印字領域の終了位置にあわせて、インクリボンを供給速度まで加速させる。
【選択図】図4
特許請求の範囲
【請求項1】
媒体を搬送するプラテンローラを含む搬送部と、
前記媒体の搬送速度に応じた供給速度でインクリボンを供給する供給部と、
前記媒体及び前記インクリボンを介して前記プラテンローラに対向して配置され、前記インクリボンのインクを前記媒体に転写して印字を行うサーマルヘッドと、
前記プラテンローラに対する前記サーマルヘッドの配置位置を移動する移動部と、
前記供給部及び前記移動部を制御し、前記媒体に印字を行わない無印字領域の開始位置で、前記サーマルヘッドを前記プラテンローラから離反させて、前記インクリボンの減速を開始し、前記無印字領域の終了位置にあわせて、前記インクリボンを供給速度まで加速して、前記サーマルヘッドを前記プラテンローラに接近させるリボンセーブ動作を行う制御部と、
を備え、
前記制御部は、前記リボンセーブ動作において、前記インクリボンを供給方向と逆方向に移動させた後、前記無印字領域の終了位置にあわせて、前記インクリボンを前記供給速度まで加速させる、プリンタ装置。
続きを表示(約 740 文字)
【請求項2】
前記制御部は、前記無印字領域の開始位置と終了位置とで前記インクリボン上の位置が同一となるよう、前記インクリボンを前記逆方向に所定量移動させた後、前記無印字領域の終了位置にあわせて、前記インクリボンを前記供給速度まで加速させる、
請求項1に記載のプリンタ装置。
【請求項3】
前記制御部は、前記インクリボンの減速を開始してから前記供給方向の速度がゼロになるまでに供給される前記インクリボンの長さと、前記インクリボンの加速を開始してから前記供給速度に達するまでに供給される前記インクリボンの長さとを加算した長さ分の移動量を、前記逆方向に移動させる、
請求項2に記載のプリンタ装置。
【請求項4】
前記制御部は、前記リボンセーブ動作に先駆けて、前記インクリボンの減速を開始してから前記供給方向の速度がゼロになるまでの時間と、前記逆方向への移動を行う時間と、前記供給方向の速度がゼロの状態から前記供給速度に加速するまでの時間との合計時間を算出し、当該合計時間が前記無印字領域の搬送に要する搬送時間未満の場合に、前記リボンセーブ動作を実行する、
請求項1に記載のプリンタ装置。
【請求項5】
前記制御部は、前記合計時間が前記搬送時間以上となる場合、前記逆方向に移動させる前記インクリボンの移動量を調整して、前記リボンセーブ動作を実行する、
請求項4に記載のプリンタ装置。
【請求項6】
前記制御部は、前記合計時間が前記搬送時間以上となる場合、前記インクリボンの減速度及び/又は加速度の大きさを調整して、前記リボンセーブ動作を実行する、
請求項4に記載のプリンタ装置。
発明の詳細な説明
【技術分野】
【0001】
本発明の実施形態は、プリンタ装置に関する。
続きを表示(約 1,700 文字)
【背景技術】
【0002】
インクリボンを加熱して用紙等の媒体に印字を行う熱転写式のプリンタ装置が存在している。かかるプリンタ装置では、用紙の搬送速度(印字速度)に応じた供給速度でインクリボンを送り出し、当該インクリボンをサーマルヘッドにより媒体に当接させること印字を行う。
【0003】
また、従来、印字を行わない無印字領域と印字を行う印字領域とに応じて、サーマルヘッドのヘッド位置と、インクリボンの供給速度を制御することで、インクリボンの消費を節約する技術が提案されている。例えば、無印字領域の開始位置で、サーマルヘッドを媒体から離反させてインクリボンの供給を停止し、無印字領域の終了少し前からインクリボンの供給を再開して、無印字領域の終了位置でサーマルヘッドを媒体に当接させることが行われている。
【0004】
しかしながら、上述した従来の技術では、インクリボンの供給停止時と供給再開時とで慣性モーメントが生じるため、インクリボンが停止するまでの距離と、インクリボンを供給速度に加速させるまでの距離とを加算した距離分が余分に送り出されることになる。
【発明の概要】
【発明が解決しようとする課題】
【0005】
本発明が解決しようとする課題は、無印字領域でのインクリボンの使用量削減を図ることが可能なプリンタ装置を提供することである。
【課題を解決するための手段】
【0006】
実施形態のプリンタ装置は、媒体を搬送するプラテンローラを含む搬送部と、前記媒体の搬送速度に応じた供給速度でインクリボンを供給する供給部と、前記媒体及び前記インクリボンを介して前記プラテンローラに対向して配置され、前記インクリボンのインクを前記媒体に転写して印字を行うサーマルヘッドと、前記プラテンローラに対する前記サーマルヘッドの配置位置を移動する移動部と、前記供給部及び前記移動部を制御し、前記媒体に印字を行わない無印字領域の開始位置で、前記サーマルヘッドを前記プラテンローラから離反させて、前記インクリボンの減速を開始し、前記無印字領域の終了位置にあわせて、前記インクリボンを供給速度まで加速して、前記サーマルヘッドを前記プラテンローラに接近させるリボンセーブ動作を行う制御部と、を備え、前記制御部は、前記リボンセーブ動作において、前記インクリボンを供給方向と逆方向に移動させた後、前記無印字領域の終了位置にあわせて、前記インクリボンを前記供給速度まで加速させる。
【図面の簡単な説明】
【0007】
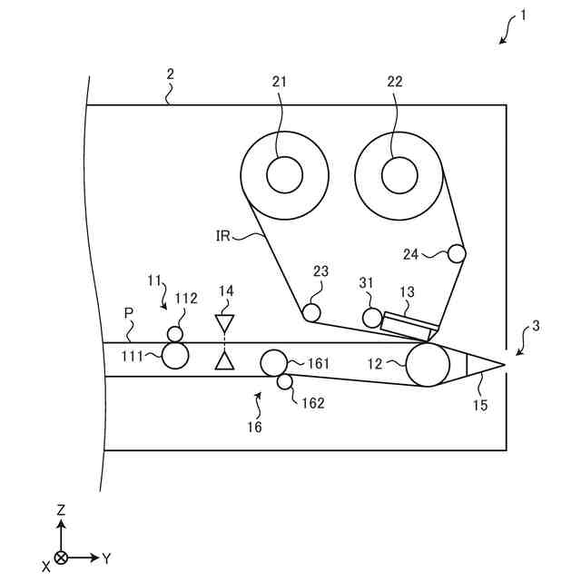
図1は、実施形態に係るラベルプリンタの概略構成を示す図である。
図2は、実施形態に係るラベルプリンタのハードウェア構成の一例を示す図である。
図3は、従来のリボンセーブ動作の参考例を示すタイミングチャートである。
図4は、実施形態のラベルプリンタが行うリボンセーブ動作の一例を示すタイミングチャートである。
図5は、実施形態のラベルプリンタが実行するリボンセーブ処理の一例を示すフローチャートである。
【発明を実施するための形態】
【0008】
以下、図面を参照して、実施形態について詳細に説明する。なお、以下に説明する実施形態によりこの発明が限定されるものではない。
【0009】
図1は、実施形態に係るラベルプリンタの概略構成を示す図である。ラベルプリンタ1は、本開示におけるプリンタ装置の一例である。
【0010】
なお、図1において、X軸は、ラベルプリンタ1を左右に貫き、ラベルプリンタ1の左側から右側に向かう軸である。Y軸は、ラベルプリンタ1を前後に貫き、ラベルプリンタ1の後方から前方に向かう軸である。Z軸は、ラベルプリンタ1を上下に貫き、ラベルプリンタ1の下方から上方に向かう軸である。以下では、Y軸の正方向側をラベルプリンタ1の正面側ともいう。また、Y軸の負方向側をラベルプリンタ1の奥側ともいう。
(【0011】以降は省略されています)
この特許をJ-PlatPat(特許庁公式サイト)で参照する
関連特許
個人
箔熱転写装置
24日前
シヤチハタ株式会社
印判
4か月前
独立行政法人 国立印刷局
印刷物
6か月前
三光株式会社
感熱記録材料
6か月前
キヤノン株式会社
記録装置
17日前
株式会社リコー
液体吐出装置
1か月前
株式会社リコー
液体吐出装置
3か月前
独立行政法人 国立印刷局
貼付装置
1か月前
株式会社リコー
液体吐出装置
7か月前
日本製紙株式会社
感熱記録体
7か月前
株式会社リコー
印刷システム
5日前
株式会社リコー
画像形成装置
5日前
株式会社リコー
液体吐出装置
7か月前
株式会社リコー
画像形成装置
24日前
独立行政法人 国立印刷局
貼付機構
1か月前
株式会社リコー
画像形成装置
1日前
株式会社リコー
液体吐出装置
4か月前
株式会社リコー
液体吐出装置
4か月前
株式会社リコー
液体吐出装置
5か月前
ブラザー工業株式会社
プリンタ
3か月前
ブラザー工業株式会社
液体吐出ヘッド
17日前
理想科学工業株式会社
印刷装置
6か月前
キヤノン株式会社
画像記録装置
17日前
キヤノン株式会社
画像形成装置
1か月前
キヤノン株式会社
画像形成装置
7か月前
キヤノン株式会社
画像形成装置
3か月前
ブラザー工業株式会社
プリンタ
5か月前
キヤノン株式会社
画像処理装置
4か月前
キヤノン株式会社
印刷システム
7か月前
独立行政法人 国立印刷局
潜像印刷物
1か月前
ブラザー工業株式会社
プリンタ
1か月前
理想科学工業株式会社
印刷装置
9日前
ブラザー工業株式会社
プリンタ
1か月前
キヤノン株式会社
画像形成装置
4か月前
独立行政法人 国立印刷局
潜像形成体
1日前
キヤノン株式会社
画像形成装置
5か月前
続きを見る
他の特許を見る