TOP
|
特許
|
意匠
|
商標
特許ウォッチ
Twitter
他の特許を見る
10個以上の画像は省略されています。
公開番号
2025145707
公報種別
公開特許公報(A)
公開日
2025-10-03
出願番号
2024046029
出願日
2024-03-22
発明の名称
形状測定方法、形状測定装置、矢板の測定方法、矢板の計測システム、計測端末、矢板の製造方法、および矢板の品質管理方法
出願人
JFEスチール株式会社
代理人
弁理士法人酒井国際特許事務所
主分類
E02D
5/08 20060101AFI20250926BHJP(水工;基礎;土砂の移送)
要約
【課題】矢板における連結確認を、矢板の状態に関わらずより簡便に行うこと。
【解決手段】矢板同士を連結する継手を有する矢板の組に対して矢板の継手間における干渉の度合いを示す干渉レベルを解析する形状測定方法であって、先配置の矢板と次配置の矢板とのそれぞれの形状のデータに基づいて、先配置の矢板と次配置の矢板との連結が完了した連結完了状態を設定する連結完了状態設定ステップと、連結完了状態において、矢板の継手間の干渉レベルを解析する干渉解析ステップと、を備える。
【選択図】図6
特許請求の範囲
【請求項1】
矢板同士を連結する継手部を有する矢板の組に対して前記矢板の継手部間における干渉の度合いを示す干渉レベルを解析する形状測定方法であって、
先配置の矢板と次配置の矢板とのそれぞれの形状のデータに基づいて、前記先配置の矢板と次配置の矢板との連結が完了した連結完了状態を設定する連結完了状態設定ステップと、
前記連結完了状態において、前記矢板の継手部間の干渉レベルを解析する干渉解析ステップと、を含む
形状測定方法。
続きを表示(約 1,800 文字)
【請求項2】
前記干渉解析ステップにおいて測定された干渉レベルに基づいて、前記矢板の組に関して合否を判定するステップと、
前記干渉解析ステップにおいて測定された干渉レベルに基づいて干渉部分と判定された箇所に対して、前記干渉部分の情報を付与する干渉情報付与ステップと、
のうちの少なくとも一方のステップを含む
請求項1に記載の形状測定方法。
【請求項3】
矢板同士を連結する継手部を有する矢板の組に対し、先配置の矢板と次配置の矢板の形状とをそれぞれ計測する形状計測工程と、
前記形状計測工程において計測された形状のデータに基づいて、請求項1または2に記載の形状測定方法によって、前記矢板の組ごとの干渉レベルを解析する形状測定工程と、を含む
矢板の測定方法。
【請求項4】
矢板同士を連結する継手部を有する矢板の組を製造する矢板の製造方法であって、
矢板を製造する矢板製造工程と、
前記矢板製造工程によって製作された継手部を有する前記矢板の組に対し、請求項3に記載の矢板の測定方法を実行する形状計測工程と、を含む
矢板の製造方法。
【請求項5】
矢板同士を連結する継手部を有する矢板の組に対する品質を管理する矢板の品質管理方法であって、
前記矢板を製造する矢板製造工程と、
前記矢板製造工程によって製作された前記矢板の組に対して、請求項3に記載の矢板の測定方法により前記矢板の形状を計測する形状計測工程と、
前記形状計測工程から得られた結果を用いて、前記製作された矢板の品質を管理する品質管理工程と、を含む
矢板の品質管理方法。
【請求項6】
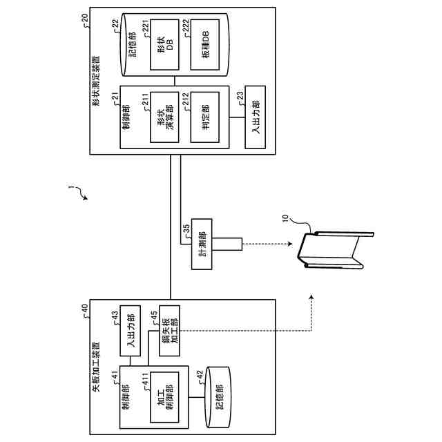
矢板同士を連結する継手部を有する矢板の組に対して前記矢板の継手部間の干渉レベルを解析する形状測定装置であって、
先配置の矢板と次配置の矢板のそれぞれの形状のデータに基づいて、前記矢板同士の連結が完了した連結完了状態を設定する連結完了状態設定処理と、
前記連結完了状態において、前記矢板の継手部間の干渉レベルを解析する干渉解析処理と、を実行する制御部を備える
形状測定装置。
【請求項7】
さらに、通信部を備え、
前記通信部は、前記制御部によって、
先配置の矢板と次配置の矢板のそれぞれの形状のデータの取得処理と、前記干渉解析処理によって得られた干渉レベルに関する情報の出力処理と、の少なくとも一方を実行する
請求項6に記載の形状測定装置。
【請求項8】
矢板同士を連結する継手部を有する矢板の組に対して、先配置の矢板と次配置の矢板の形状とのそれぞれを計測可能に構成された計測部と、
前記計測部によって計測された前記形状のデータに基づいて、前記矢板の組ごとに干渉レベルを解析する、請求項6または7に記載の形状測定装置と、を備える
矢板の計測システム。
【請求項9】
矢板同士を連結する継手部を有する矢板の組に対して、前記矢板の継手部間の干渉レベルを解析可能に構成され、制御部によって制御される計測端末であって、
前記制御部の制御によって、先配置の矢板と次配置の矢板の形状とをそれぞれ計測する計測部と、
前記制御部の制御によって、計測された前記形状をデータとして請求項6に記載の形状測定装置に出力する出力処理、および前記形状測定装置から、前記矢板の組ごとに前記干渉レベルに関する情報を取得する取得処理の少なくとも一方の処理を実行する、通信部と、
前記制御部の制御によって、取得した前記情報を予め定められた形式によって出力可能な出力部と、を備える
計測端末。
【請求項10】
前記制御部は、
取得した前記干渉レベルに関する前記情報と所定の基準とに基づいて、前記矢板の組に関して合否を判定する処理と、
取得した前記干渉レベルに関する前記情報と所定の基準とに基づいて干渉部分と判定された箇所に対して、前記干渉部分の情報を付与する干渉情報付与処理と、の少なくとも一方の処理を実行する
請求項9に記載の計測端末。
(【請求項11】以降は省略されています)
発明の詳細な説明
【技術分野】
【0001】
本発明は、矢板同士を連結する継手を有する矢板における、形状測定方法、形状測定装置、矢板の測定方法、矢板の計測システム、計測端末、矢板の製造方法、および矢板の品質管理方法に関する。
続きを表示(約 1,500 文字)
【背景技術】
【0002】
一般に、矢板は、土を止めて空間を創出する、土留め壁として利用され、鉄道、道路、建物など、建設工事において広く使用されている。矢板は、構造物の大規模化や作業の効率化の観点から、大型化や長尺化が進んでいる。
【0003】
矢板には、矢板同士を連結する継手が設けられ、継手を連結させることによって壁を構築して土留め壁とする。継手部には、連結するためのクリアランス(隙間)が設けられているが、継手部の剛性や止水性の確保のためにクリアランスは小さくなるように設定される。
【0004】
矢板の施工は、1体目の矢板を打撃や振動、圧入などにより地盤に貫入した後、2体目の矢板を、矢板同士の継手部が連結するようにしつつ、同様に貫入する手順を繰り返し、土留め壁を構築することにより完了する。
【先行技術文献】
【特許文献】
【0005】
特開2002-201633号公報
【発明の概要】
【発明が解決しようとする課題】
【0006】
矢板は、矢板同士を連結する継手部の形状により連結可否が決定されるため、使用前に連結確認が行うことが求められる。しかしながら、矢板の条件、特に、矢板が大型であったり、長尺であったり、材質が鋼などの金属材料からなる重量物であったりすると、連結確認は困難になる。この場合、連結確認に大幅な手間や、継手自体の破損や、安全の確保に関する懸念などが生じるという問題がある。
【0007】
特に、矢板は15m程度の長尺となる場合もあり、矢板同士を連結する継手に差し込み始めた連結開始位置から、矢板同士の連結が完了している状態の連結完了位置までの間に、矢板10の曲がりや継手部11の変形により、継手部が干渉する位置が存在する可能性がある。継手部が干渉する位置が存在すると、継手の連結工程が中断する可能性が生じる。そのため、矢板において、連結可能な継手形状であるか否かを、現場において使用前に、矢板の状態に関わらずより簡便に把握可能な技術が求められていた。
【0008】
本発明は、上記に鑑みてなされたものであって、その目的は、矢板における連結確認を、矢板の状態に関わらずより簡便に行うことができる、形状測定方法、形状測定装置、矢板の測定方法、矢板の計測システム、計測端末、矢板の製造方法、矢板の品質管理方法を提供することにある。
【課題を解決するための手段】
【0009】
(1)上述した課題を解決し、上記目的を達成するために、本発明の一態様に係る形状測定方法は、矢板同士を連結する継手部を有する矢板の組に対して前記矢板の継手部間における干渉の度合いを示す干渉レベルを解析する形状測定方法であって、先配置の矢板と次配置の矢板とのそれぞれの形状のデータに基づいて、前記先配置の矢板と次配置の矢板との連結が完了した連結完了状態を設定する連結完了状態設定ステップと、前記連結完了状態において、前記矢板の継手部間の干渉レベルを解析する干渉解析ステップと、を含む。
【0010】
(2)本発明の一態様に係る形状測定方法は、(1)に記載の発明において、前記干渉解析ステップにおいて測定された干渉レベルに基づいて、前記矢板の組に関して合否を判定するステップと、前記干渉解析ステップにおいて測定された干渉レベルに基づいて干渉部分と判定された箇所に対して、前記干渉部分の情報を付与する干渉情報付与ステップと、のうちの少なくとも一方のステップを含む。
(【0011】以降は省略されています)
この特許をJ-PlatPat(特許庁公式サイト)で参照する
関連特許
個人
鋼管
19日前
FKS株式会社
擁壁
8日前
鈴健興業株式会社
敷板部材
4日前
株式会社奥村組
ケーソン工法
11日前
株式会社クボタ
作業車
6日前
株式会社クボタ
作業車
6日前
個人
擁壁用ブロックおよび擁壁
5日前
株式会社ネクステリア
平板基礎
4日前
株式会社大林組
建物の構造
5日前
株式会社奥村組
ケーソン刃口金物
11日前
株式会社熊谷組
地盤改良方法
今日
株式会社熊谷組
密度計測方法
6日前
株式会社大林組
袋体付き排水パイプ
18日前
株式会社大林組
袋体付き排水パイプ
18日前
大和ハウス工業株式会社
杭抜き先端具
12日前
日立建機株式会社
建設機械
4日前
ヤマト発動機株式会社
浮遊型消波装置
8日前
日立建機株式会社
作業機械
8日前
ゼニヤ海洋サービス株式会社
通船ゲート
18日前
鹿島建設株式会社
接続方法および接続構造
18日前
日立建機株式会社
電動式作業機械
4日前
株式会社フジタ
建築物とその施工方法
18日前
JFEスチール株式会社
鋼管矢板の継手構造
8日前
株式会社大林組
建物の構築方法及び建物
18日前
浙江工業大学
多機能土柱モデル装置及び使用方法
4日前
株式会社熊谷組
杭頭処理構造、杭頭処理方法
8日前
ヤンマーホールディングス株式会社
作業機械
今日
住友建機株式会社
作業機械、操作支援システム
12日前
日本コンクリート工業株式会社
堤防の補強構造
18日前
日立建機株式会社
作業機械
今日
日立建機株式会社
作業車両
今日
日立建機株式会社
作業車両
今日
日立建機株式会社
作業機械
5日前
日立建機株式会社
建設機械
8日前
日立建機株式会社
作業機械
18日前
日立建機株式会社
建設機械
今日
続きを見る
他の特許を見る