TOP
|
特許
|
意匠
|
商標
特許ウォッチ
Twitter
他の特許を見る
公開番号
2025145638
公報種別
公開特許公報(A)
公開日
2025-10-03
出願番号
2024045926
出願日
2024-03-22
発明の名称
印刷装置、印刷装置の制御方法及びプログラム
出願人
カシオ計算機株式会社
代理人
インフォート弁理士法人
主分類
B65H
31/00 20060101AFI20250926BHJP(運搬;包装;貯蔵;薄板状または線条材料の取扱い)
要約
【課題】印刷が行われて排出された被印刷媒体の転がりを防止する。
【解決手段】印刷装置(10)は、ロール状の被印刷媒体(TA)を収容する収容部(26)と、被印刷媒体に印刷が行われ、更に切断されることで作成されたカット済み被印刷媒体(TB)を印刷装置本体(11)から排出する排出口(16)と、印刷装置本体に対して開閉可能であり、開放状態において、排出口から排出されたカット済み被印刷媒体を排出口より下方の位置で受け止めるカバー(13)と、を備える。
【選択図】図4
特許請求の範囲
【請求項1】
ロール状の被印刷媒体を収容する収容部と、
前記被印刷媒体に印刷が行われ、更に切断されることで作成されたカット済み被印刷媒体を、前記収容部を備える印刷装置本体から排出する排出口と、
前記印刷装置本体に対して開閉可能であり、開放状態において、前記排出口から排出された前記カット済み被印刷媒体を前記排出口より下方の位置で受け止めるカバーと、
を備えることを特徴とする印刷装置。
続きを表示(約 1,100 文字)
【請求項2】
前記カバーは、閉じた状態で前記排出口と重なる位置に、前記排出口から排出される前記カット済み被印刷媒体が通過可能な開口部を有していることを特徴とする請求項1に記載の印刷装置。
【請求項3】
前記カバーは、前記印刷装置本体に接続する基端部を中心として開閉可能に支持され、
開放状態の前記カバーは、前記基端部よりも先端部の方が上方に位置することを特徴とする請求項1に記載の印刷装置。
【請求項4】
前記カバーの開閉を制御する制御部を備え、
前記制御部は、前記排出口から排出される前記カット済み被印刷媒体の転がり可能性を判定する判定部を備え、
前記制御部は、前記判定部によって前記カット済み被印刷媒体の転がり可能性が高いと判定した場合に、前記カバーを開放状態になるように制御することを特徴とする請求項1から3のいずれかに記載の印刷装置。
【請求項5】
前記判定部は、前記排出口から排出される前記カット済み被印刷媒体に関する情報に基づいて前記カット済み被印刷媒体の転がり可能性を判定することを特徴とする請求項4に記載の印刷装置。
【請求項6】
前記情報は、前記カット済み被印刷媒体の長さ、幅、曲率、厚み、硬さ、材質、前記被印刷媒体の残量、の情報の少なくともいずれかを含むことを特徴とする請求項5に記載の印刷装置。
【請求項7】
印刷装置が備える制御部に、
印刷装置本体の排出口から排出される、印刷が行われたカット済み被印刷媒体の転がり可能性を判定するステップと、
前記カット済み被印刷媒体の転がり可能性が高いと判定した場合に、前記印刷装置本体に対して開閉可能なカバーを開放状態にさせ、前記排出口から排出される前記カット済み被印刷媒体を前記カバーによって前記排出口より下方の位置で受け止めさせるステップと、
を行わせることを特徴とする印刷装置の制御方法。
【請求項8】
印刷装置を制御するプログラムであって、
印刷装置本体の排出口から排出される、印刷が行われたカット済み被印刷媒体の転がり可能性を判定する処理と、
前記カット済み被印刷媒体の転がり可能性が高いと判定した場合に、前記印刷装置本体に対して開閉可能なカバーを開放状態にさせ、前記排出口から排出される前記カット済み被印刷媒体を前記カバーによって前記排出口より下方の位置で受け止めさせる処理と、
を前記印刷装置の制御部に実行させることを特徴とするプログラム。
発明の詳細な説明
【技術分野】
【0001】
本発明は、印刷装置、印刷装置の制御方法及びプログラムに関する。
続きを表示(約 1,500 文字)
【背景技術】
【0002】
特許文献1に開示される印刷装置は、記録媒体が巻かれたロール紙を収容可能なケースと、ケースを開閉可能なカバーとを備え、ロール紙をケース内に取り付ける際にカバーを開き、カバーを閉じた状態で記録媒体に印刷を行い、印刷を行った記録媒体をケースとカバーの境界の排出口から外部に排出する。
【先行技術文献】
【特許文献】
【0003】
特開2023-047480号公報
【発明の概要】
【発明が解決しようとする課題】
【0004】
ロール状の被印刷媒体を装置本体内に収容して印刷を行う印刷装置では、被印刷媒体に巻き癖がついており、印刷が行われて装置本体から外部に排出された被印刷媒体が湾曲したカール形状になる場合が多い。そして、装置本体から外部に排出されたカール形状の被印刷媒体が転がってしまい、印刷後の被印刷媒体を回収しにくいという問題があった。特許文献1に開示された印刷装置は、このような問題に対応するものではなかった。
【0005】
本発明は、印刷が行われて排出された被印刷媒体の転がりを防止することを目的とする。
【課題を解決するための手段】
【0006】
本発明の一態様の印刷装置は、ロール状の被印刷媒体を収容する収容部と、前記被印刷媒体に印刷が行われ、更に切断されることで作成されたカット済み被印刷媒体を、前記収容部を備える印刷装置本体から排出する排出口と、前記印刷装置本体に対して開閉可能であり、開放状態において、前記排出口から排出された前記カット済み被印刷媒体を前記排出口より下方の位置で受け止めるカバーと、を備えることを特徴とする。
【発明の効果】
【0007】
以上の態様によれば、印刷が行われて排出された被印刷媒体の転がりを防止することができる。
【図面の簡単な説明】
【0008】
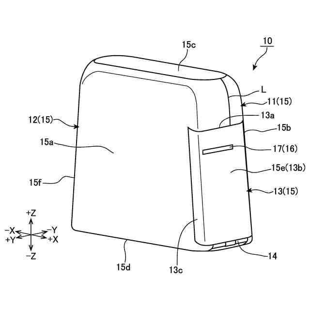
カバーを閉じた状態の印刷装置の斜視図である。
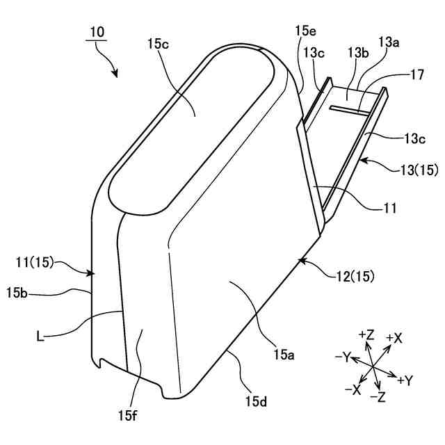
カバーの開放状態の印刷装置の斜視図である。
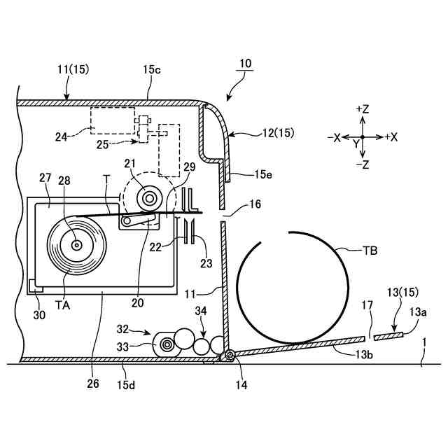
カバーを閉じた状態の印刷装置の断面図である。
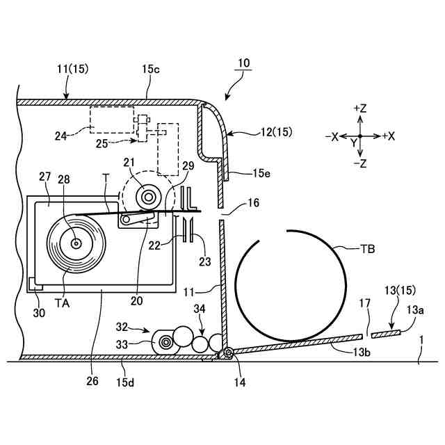
カバーの開放状態の印刷装置の断面図である。
印刷装置の構成を示すブロック図である。
テープの転がり可能性の判定に用いる判定用データの例を示す図である。
【発明を実施するための形態】
【0009】
以下、本発明を実施するための形態について図面を参照しながら詳細に説明する。図示の印刷装置10は、帯状の被印刷媒体であるテープTに印刷を行ってラベルを作成するラベルプリンタである。印刷装置10は、印刷時にZ軸方向が上下方向になるように設置され、X軸方向及びY軸方向が水平方向になる。
【0010】
印刷装置10は、制御部40(図5参照)によって制御される。制御部40は、CPU(Central Processing Unit)などのプロセッサと、ROM(Read Only Memory)やRAM(Random Access Memory)などのメモリと、を備えている。制御部40において、メモリに記憶されているプログラムを読み出して、プロセッサでの演算によって実行させることで、印刷装置10における各部の動作が行われる。印刷装置10に入力された印刷データは制御部40によって処理され、プログラムに従って制御部40が印刷装置10の各部を制御することによって、以下に説明する印刷や搬送などの動作が制御される。後述する記憶部41や判定部42の機能は、プロセッサやメモリなどの動作によって実現される。
(【0011】以降は省略されています)
この特許をJ-PlatPat(特許庁公式サイト)で参照する
関連特許
個人
箱
11か月前
個人
ゴミ箱
11か月前
個人
収容箱
2か月前
個人
コンベア
4か月前
個人
ゴミ収集器
6か月前
個人
段ボール箱
6か月前
個人
容器
8か月前
個人
段ボール箱
6か月前
個人
土嚢運搬器具
7か月前
個人
楽ちんハンド
4か月前
個人
パウチ補助具
11か月前
個人
バンド
1か月前
個人
宅配システム
6か月前
個人
角筒状構造体
4か月前
個人
閉塞装置
9か月前
個人
廃棄物収容容器
1か月前
個人
包装容器
15日前
個人
お薬の締結装置
5か月前
個人
コード類収納具
7か月前
株式会社コロナ
梱包材
4か月前
個人
ゴミ処理機
8か月前
個人
貯蔵サイロ
6か月前
個人
蓋閉止構造
3か月前
株式会社和気
包装用箱
8か月前
個人
蓋閉止構造
3か月前
個人
積み重ね用補助具
2か月前
個人
把手付米袋
3か月前
三甲株式会社
蓋体
7か月前
株式会社KY7
封止装置
2か月前
三甲株式会社
容器
5か月前
三甲株式会社
容器
5か月前
個人
包装箱
9か月前
株式会社新弘
容器
2か月前
個人
コード折り畳み器具
3か月前
個人
輸送積荷用動吸振器
5か月前
株式会社イシダ
包装装置
11か月前
続きを見る
他の特許を見る