TOP
|
特許
|
意匠
|
商標
特許ウォッチ
Twitter
他の特許を見る
公開番号
2025145580
公報種別
公開特許公報(A)
公開日
2025-10-03
出願番号
2024045841
出願日
2024-03-22
発明の名称
磁気部品の通電制御方法
出願人
本田技研工業株式会社
代理人
個人
,
個人
,
個人
主分類
H01F
27/28 20060101AFI20250926BHJP(基本的電気素子)
要約
【課題】リアクトル及びトランスとしての機能を統合することによって、構成が複雑及び大型になることを抑制することができる磁気部品の使用方法を提供する。
【解決手段】磁気部品16は、空間位相で直交する第1軸A及び第2軸Bの交点Cを挟んで各軸A,Bに沿った方向に配置される4つのティース部42aと、第1軸Aに沿った2つのティース部42aに装着される各α相コイルα1,α2と、第2軸Bに沿った2つのティース部42aに装着される各β相コイルβ1,β2とを備える。磁気部品16は、各コイルα1,α2,β1,β2に流れる電流の方向によって、各α相コイルα1,α2の磁束方向Fαが同一になるように、及び、各β相コイルβ1,β2の磁束方向Fβが同一になるように使用される。
【選択図】図2
特許請求の範囲
【請求項1】
空間位相で直交する第1軸及び第2軸の交点を挟んで前記第1軸及び前記第2軸の各々に沿った方向に配置される4つのティース部と、
前記4つのティース部を外周側から取り囲むように接続される外周部と、
前記第1軸に沿った2つの前記ティース部に装着される第1コイル及び第2コイルと、
前記第2軸に沿った2つの前記ティース部に装着される第3コイル及び第4コイルと
を備える磁気部品の通電制御方法であって、
前記第1コイルの磁束方向及び前記第2コイルの磁束方向が同一になるように、及び、前記第3コイルの磁束方向及び前記第4コイルの磁束方向が同一になるように、前記第1コイル、前記第2コイル、前記第3コイル及び前記第4コイルの各々に流れる電流の方向を設定する
磁気部品の通電制御方法。
続きを表示(約 380 文字)
【請求項2】
前記磁気部品は、
前記4つのティース部の内周側に配置されるとともに、間隙が形成される内周部を備える
請求項1に記載の磁気部品の通電制御方法。
【請求項3】
前記間隙は、
前記第1軸又は前記第2軸に沿った方向に平行に形成される
請求項2に記載の磁気部品の通電制御方法。
【請求項4】
前記第1コイル及び前記第2コイルをトランスとして機能させ、
前記第3コイル及び前記第4コイルをリアクトルとして機能させる
請求項1から請求項3のいずれか1項に記載の磁気部品の通電制御方法。
【請求項5】
前記磁気部品は、
外部交流電源と蓄電装置との間の電力変換を制御する電力制御ユニットを構成する
請求項4に記載の磁気部品の通電制御方法。
発明の詳細な説明
【技術分野】
【0001】
本発明は、磁気部品の通電制御方法に関する。
続きを表示(約 1,800 文字)
【背景技術】
【0002】
近年、より多くの人々が手ごろで信頼でき、持続可能かつ先進的なエネルギーへのアクセスを確保できるようにするため、エネルギーの効率化に貢献する二次電池を搭載するモビリティでの充給電に関する研究開発が行われている。
従来、例えば、小型化及び放熱性の向上のために、十字型の第1磁性体と、第1磁性体を取り囲む枠型の第2磁性体とを備え、リアクトル又はトランスとして動作する磁気部品が知られている(例えば、特許文献1参照)。
【先行技術文献】
【特許文献】
【0003】
特開2019-79943号公報
【発明の概要】
【発明が解決しようとする課題】
【0004】
ところで、二次電池を搭載するモビリティでの充給電に関する技術において、磁気部品の構成が複雑になることを抑制しつつ、リアクトル及びトランスの各々としての電力変換での互いに異なる機能を適正に確保することが課題である。例えば、上記従来技術の磁気部品のように、複数の巻線の磁束が互いに干渉することによって、リアクトル又はトランスとして動作するだけでは、リアクトル用及びトランス用の各々の磁気部品が必要になり、構成が複雑及び大型になるおそれがある。
【0005】
本願は、上記課題の解決のため、リアクトル及びトランスとしての機能を統合することによって、構成が複雑及び大型になることの抑制の達成を目的とする。そして、延いてはエネルギーの効率化に寄与するものである。
【課題を解決するための手段】
【0006】
上記課題を解決して係る目的を達成するために、本発明は以下の態様を採用した。
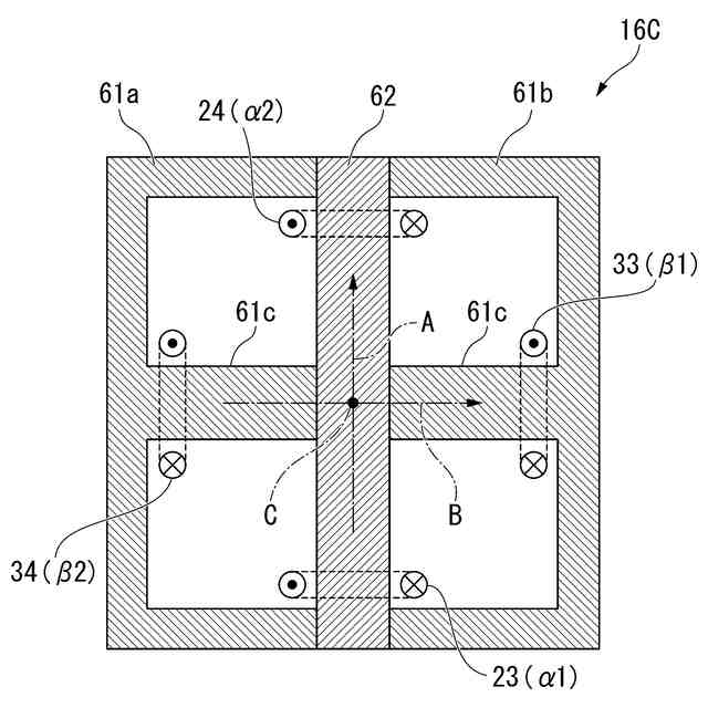
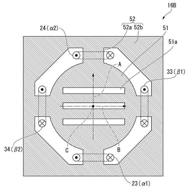
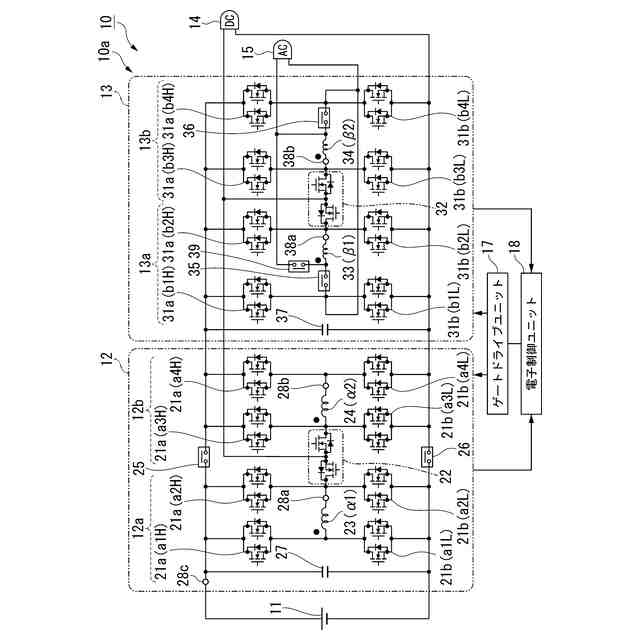
(1):本発明の一態様に係る磁気部品の通電制御方法は、空間位相で直交する第1軸(例えば、実施形態での第1軸A)及び第2軸(例えば、実施形態での第2軸B)の交点(例えば、実施形態での交点C)を挟んで前記第1軸及び前記第2軸の各々に沿った方向に配置される4つのティース部(例えば、実施形態でのティース部42a,52a)と、前記4つのティース部を外周側から取り囲むように接続される外周部(例えば、実施形態での外周部42b,52b)と、前記第1軸に沿った2つの前記ティース部に装着される第1コイル(例えば、実施形態でのα相第1コイル23(α1))及び第2コイル(例えば、実施形態でのα相第2コイル24(α2))と、前記第2軸に沿った2つの前記ティース部に装着される第3コイル(例えば、実施形態でのβ相第1コイル33(β1))及び第4コイル(例えば、実施形態でのβ相第2コイル34(β2))とを備える磁気部品(例えば、実施形態での磁気部品16,16A,16B,16C,16D)の通電制御方法であって、前記第1コイルの磁束方向(例えば、実施形態での磁束方向Fα)及び前記第2コイルの磁束方向(例えば、実施形態での磁束方向Fα)が同一になるように、及び、前記第3コイルの磁束方向(例えば、実施形態での磁束方向Fβ)及び前記第4コイルの磁束方向(例えば、実施形態での磁束方向Fβ)が同一になるように、前記第1コイル、前記第2コイル、前記第3コイル及び前記第4コイルの各々に流れる電流の方向を設定する。
【0007】
(2):上記(1)に記載の磁気部品の通電制御方法では、前記磁気部品は、前記4つのティース部の内周側に配置されるとともに、間隙(例えば、実施形態でのスリット(空隙)41a,51a)が形成される内周部(例えば、実施形態での内周側コア41A,51)を備えてもよい。
【0008】
(3):上記(2)に記載の磁気部品の通電制御方法では、前記間隙は、前記第1軸又は前記第2軸に沿った方向に平行に形成されてもよい。
【0009】
(4):上記(1)から(3)のいずれか1つに記載の磁気部品の通電制御方法は、前記第1コイル及び前記第2コイルをトランスとして機能させ、前記第3コイル及び前記第4コイルをリアクトルとして機能させてもよい。
【0010】
(5):上記(4)に記載の磁気部品の通電制御方法では、前記磁気部品は、外部交流電源と蓄電装置(例えば、実施形態での蓄電装置11)との間の電力変換を制御する電力制御ユニット(例えば、実施形態での電力制御ユニット10a)を構成してもよい。
【発明の効果】
(【0011】以降は省略されています)
この特許をJ-PlatPat(特許庁公式サイト)で参照する
関連特許
本田技研工業株式会社
装置
11日前
本田技研工業株式会社
車両
12日前
本田技研工業株式会社
モータ
8日前
本田技研工業株式会社
受電装置
6日前
本田技研工業株式会社
内燃機関
11日前
本田技研工業株式会社
バッテリ
5日前
本田技研工業株式会社
車両構造
8日前
本田技研工業株式会社
車両構造
8日前
本田技研工業株式会社
バッテリ
5日前
本田技研工業株式会社
内燃機関
11日前
本田技研工業株式会社
断続装置
6日前
本田技研工業株式会社
ステータ
4日前
本田技研工業株式会社
固体電池
6日前
本田技研工業株式会社
保管装置
6日前
本田技研工業株式会社
会話装置
4日前
本田技研工業株式会社
保管装置
6日前
本田技研工業株式会社
送電装置
6日前
本田技研工業株式会社
切断装置
4日前
本田技研工業株式会社
保持装置
5日前
本田技研工業株式会社
通知装置
11日前
本田技研工業株式会社
電解装置
19日前
本田技研工業株式会社
リンク機構
4日前
本田技研工業株式会社
リアクトル
11日前
本田技研工業株式会社
鞍乗型車両
18日前
本田技研工業株式会社
分離システム
8日前
本田技研工業株式会社
電源システム
6日前
本田技研工業株式会社
ガス回収装置
今日
本田技研工業株式会社
クラッチ装置
27日前
本田技研工業株式会社
鞍乗り型車両
26日前
本田技研工業株式会社
放電処理方法
6日前
本田技研工業株式会社
車両制御装置
20日前
本田技研工業株式会社
潤滑システム
6日前
本田技研工業株式会社
鞍乗り型車両
4日前
本田技研工業株式会社
車両制御装置
今日
本田技研工業株式会社
運転制御装置
8日前
本田技研工業株式会社
車両制御装置
12日前
続きを見る
他の特許を見る