TOP
|
特許
|
意匠
|
商標
特許ウォッチ
Twitter
他の特許を見る
公開番号
2025144941
公報種別
公開特許公報(A)
公開日
2025-10-03
出願番号
2024044877
出願日
2024-03-21
発明の名称
鋳造成形装置
出願人
UBEマシナリー株式会社
代理人
個人
,
個人
,
個人
主分類
B22D
17/32 20060101AFI20250926BHJP(鋳造;粉末冶金)
要約
【課題】ダイカスト製品の更なる品質向上に有効な鋳造成形装置を提供する。
【解決手段】鋳造成形装置1は、金型10と、金型10によって形成されるキャビティ13と、作動油によって駆動され、キャビティ13内に金属溶湯を射出する射出手段20と、射出手段20の射出速度を制御する制御手段100と、射出速度と、キャビティ13内に金属溶湯を供給するのに必要な射出力と、の相関を示すダイラインL1と、射出速度と、射出手段20が発生可能な射出力と、の相関を示すマシンラインL2と、を備え、制御手段100は、射出力を増やす方向に所定の補正量でダイラインL1をシフトさせた余裕ダイラインL11を生成することと、余裕ダイラインL11とマシンラインL2との交点に対応する射出速度を目標射出速度として特定することと、射出速度を目標射出速度まで加速し、射出速度を目標射出速度の近傍に維持することと、を実行するように構成されている。
【選択図】図3
特許請求の範囲
【請求項1】
金型と、
前記金型によって形成されるキャビティと、
作動油によって駆動され、前記キャビティ内に金属溶湯を射出する射出手段と、
前記射出手段の射出速度を制御する制御手段と、
前記射出速度と、前記キャビティ内に前記金属溶湯を供給するのに必要な射出力と、の相関を示すダイラインと、
前記射出速度と、前記射出手段が発生可能な射出力と、の相関を示すマシンラインと、
を備え、
前記制御手段は、
射出力を増やす方向に所定の補正量で前記ダイラインをシフトさせた余裕ダイラインを生成することと、
前記余裕ダイラインと前記マシンラインとの交点に対応する前記射出速度を目標射出速度として特定することと、
前記射出速度を前記目標射出速度まで加速し、前記射出速度を前記目標射出速度の近傍に維持することと、
を実行するように構成されている、鋳造成形装置。
続きを表示(約 520 文字)
【請求項2】
前記射出手段は、前記金属溶湯の供給に伴って移動する可動部を有し、
前記所定の補正量は、前記可動部の質量と所定の加速度との乗算値以上であり、
前記制御手段は、前記所定の加速度にて前記射出速度を前記目標射出速度まで加速する、
請求項1記載の鋳造成形装置。
【請求項3】
前記制御手段は、前記射出速度を前記目標射出速度まで加速させた後に、射出力を前記ダイラインに対応する値まで低下させる、
請求項2記載の鋳造成形装置。
【請求項4】
前記作動油は、蓄圧手段により前記射出手段に供給され、
前記制御手段は、前記可動部の変位に応じて前記マシンラインを補正することを更に実行し、
前記余裕ダイラインと補正済みの前記マシンラインとの交点に対応する前記射出速度を前記目標射出速度として特定する、
請求項2又は3記載の鋳造成形装置。
【請求項5】
前記制御手段は、前記金属溶湯を射出する方向への前記可動部の変位量が大きくなるのに応じて、射出力を減らす方向に前記マシンラインをシフトさせる、
請求項4記載の鋳造成形装置。
発明の詳細な説明
【技術分野】
【0001】
本開示は、鋳造成形装置に関する。
続きを表示(約 1,400 文字)
【背景技術】
【0002】
特許文献1には、設定された鋳造条件におけるP-Q2線図を描き、マシン特性線と金型特性線との交点たるプロセスポイントの横軸座標値を、実鋳造時の溶湯流量の2乗値として求め、溶湯流量の2乗値に基づいてダイカストの品質を判定する方法が開示されている。
【先行技術文献】
【特許文献】
【0003】
特開2009-154193号公報
【発明の概要】
【発明が解決しようとする課題】
【0004】
特許文献1においては、プロセスポイントに着目してダイカストの品質が評価されているが、実鋳造においては、プロセスポイントに到達するまでの応答性もダイカスト製品の品質に影響する。
【0005】
本開示は、ダイカスト製品の更なる品質向上に有効な鋳造成形装置を提供する。
【課題を解決するための手段】
【0006】
本開示の一側面に係る鋳造成形装置は、金型と、金型によって形成されるキャビティと、作動油によって駆動され、キャビティ内に金属溶湯を射出する射出手段と、射出手段の射出速度を制御する制御手段と、射出速度と、キャビティ内に金属溶湯を供給するのに必要な射出力と、の相関を示すダイラインと、射出速度と、射出手段が発生可能な射出力と、の相関を示すマシンラインと、を備え、制御手段は、射出力を増やす方向に所定の補正量でダイラインをシフトさせた余裕ダイラインを生成することと、余裕ダイラインとマシンラインとの交点に対応する射出速度を目標射出速度として特定することと、射出速度を目標射出速度まで加速し、射出速度を目標射出速度の近傍に維持することと、を実行するように構成されている。
【発明の効果】
【0007】
本開示によれば、ダイカスト製品の更なる品質向上に有効な鋳造成形装置を提供することができる。
【図面の簡単な説明】
【0008】
鋳造成形装置の構成を例示する模式図である。
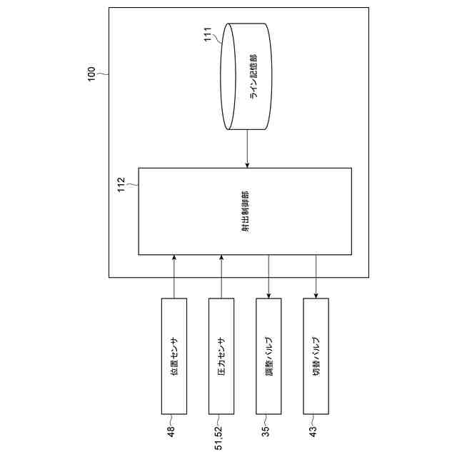
制御装置の機能的な構成を例示するブロック図である。
ダイライン及びマシンラインを例示するグラフである。
射出速度の推移を例示するグラフである。
制御装置の変形例を示すグラフである。
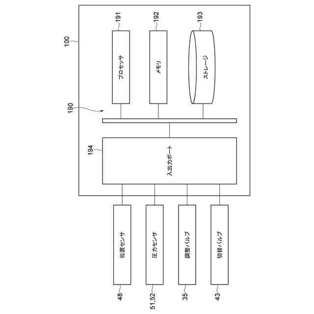
制御装置のハードウェア構成を例示するブロック図である。
鋳造成形手順を例示するフローチャートである。
【発明を実施するための形態】
【0009】
以下、図面を参照して一実施形態について説明する。説明において、同一要素又は同一機能を有する要素には同一の符号を付し、重複する説明を省略する。
【0010】
〔鋳造成形装置〕
図1は、鋳造成形装置1の構成を例示する模式図である。鋳造成形装置1は、溶けた状態の金属(以下、「金属溶湯」という。)を金型内に充填して成形することで、鋳造品を製造する装置である。金属溶湯は、例えば、アルミニウム合金である。鋳造成形装置1は、ダイカストマシン、又はダイカスト装置とも称される。鋳造成形装置1は、例えば、金型10と、射出装置20と、油圧駆動部40と、位置センサ48と、圧力センサ51,52と、制御装置100と、を備える。以下、鋳造成形装置1が備える各要素について説明する。
(【0011】以降は省略されています)
この特許をJ-PlatPat(特許庁公式サイト)で参照する
関連特許
UBEマシナリー株式会社
ダイカストマシンの速度制御用バルブ及びダイカストマシン
9日前
個人
鋼の連続鋳造用鋳型
1か月前
個人
ピストンの低圧鋳造金型
5か月前
芝浦機械株式会社
成形システム
今日
トヨタ自動車株式会社
押湯入子
2か月前
友鉄工業株式会社
錫プレート成形方法
1か月前
大阪硅曹株式会社
無機中子用水性塗型剤
1か月前
日本製鉄株式会社
モールドパウダー
8日前
株式会社プロテリアル
合金粉末の製造方法
6か月前
トヨタ自動車株式会社
中子の製造方法
3か月前
株式会社キャステム
鋳造品の製造方法
5か月前
山石金属株式会社
ガスアトマイズ装置
2か月前
芝浦機械株式会社
射出装置及び成形機
2か月前
トヨタ自動車株式会社
中子の製造方法
2か月前
山石金属株式会社
ガスアトマイズ装置
2か月前
トヨタ自動車株式会社
鋳バリ抑制方法
6か月前
トヨタ自動車株式会社
突き折り棒
5か月前
山石金属株式会社
アルミニウム含有粒子
7日前
株式会社日本触媒
窒素被覆金属粒子の製造方法
3か月前
トヨタ自動車株式会社
鋳物砂の再生方法
3か月前
旭有機材株式会社
鋳型の製造方法
2か月前
トヨタ自動車株式会社
ケースの製造方法
4か月前
山石金属株式会社
アルミニウム含有粒子
7日前
株式会社プロテリアル
金属付加製造物の製造方法
2か月前
トヨタ自動車株式会社
金型冷却構造
5か月前
愛知製鋼株式会社
継ぎ目なし管の製造方法
1か月前
JFEミネラル株式会社
Ni合金粉
7日前
福田金属箔粉工業株式会社
Cu系粉末
4か月前
株式会社豊田中央研究所
積層造形装置
4か月前
住友金属鉱山株式会社
金粉の製造方法
28日前
日本製鉄株式会社
Al脱酸鋼の連続鋳造方法
5か月前
株式会社神戸製鋼所
炭素-銅含有粉末
5か月前
ポーライト株式会社
焼結部品の製造方法
3か月前
日立Astemo株式会社
成形装置
6か月前
artience株式会社
接合用ペースト、及び接合体
3か月前
artience株式会社
接合用ペースト、及び接合体
3か月前
続きを見る
他の特許を見る