TOP
|
特許
|
意匠
|
商標
特許ウォッチ
Twitter
他の特許を見る
10個以上の画像は省略されています。
公開番号
2025144829
公報種別
公開特許公報(A)
公開日
2025-10-03
出願番号
2024044693
出願日
2024-03-21
発明の名称
荷電粒子線装置および荷電粒子線装置の制御方法
出願人
日本電子株式会社
代理人
個人
,
個人
,
個人
主分類
H01J
37/18 20060101AFI20250926BHJP(基本的電気素子)
要約
【課題】試料室の真空度を低下させることなく、試料を試料室に導入できる荷電粒子線装置を提供する。
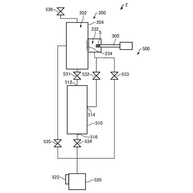
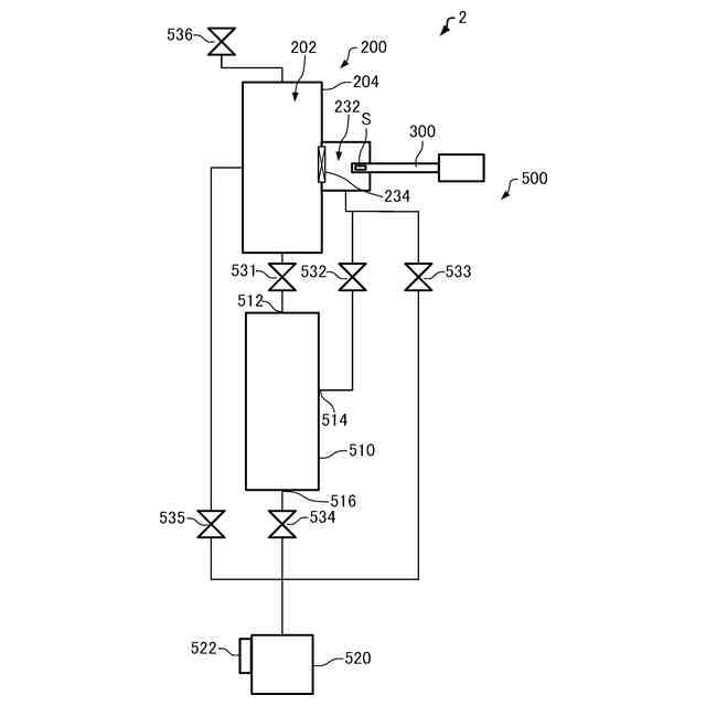
【解決手段】荷電粒子線装置は、試料室202と、試料室202に接続された予備排気室232と、第1ポート512が試料室202に接続され第2ポート514が予備排気室232に接続された主排気ポンプ510と、予備排気室232、排気口516、および試料室202に接続された副排気ポンプ520と、主排気ポンプ510および副排気ポンプ520を制御する制御部と、を含み、制御部は、試料が予備排気室232に導入された場合に予備排気室232を副排気ポンプ520に排気させる処理と、副排気ポンプ520の電力に基づいて予備排気室232の真空度が所定の真空度に到達したか否かを判定する処理と、予備排気室232の真空度が所定の真空度に到達したと判断した場合に予備排気室232を主排気ポンプ510に排気させる処理と、を行う。
【選択図】図4
特許請求の範囲
【請求項1】
試料に荷電粒子線を照射する荷電粒子線装置であって、
前記試料が配置される試料室と、
仕切弁を介して前記試料室に接続された予備排気室と、
第1ポート、第2ポート、および排気口を有し、前記第1ポートが前記試料室に接続され、前記第2ポートが前記予備排気室に接続された第1排気ポンプと、
前記予備排気室、前記排気口、および前記試料室に接続された第2排気ポンプと、
前記第1排気ポンプおよび前記第2排気ポンプを制御する制御部と、
を含み、
前記制御部は、前記試料が前記予備排気室に導入された場合に、
前記予備排気室を前記第2排気ポンプに排気させる処理と、
前記第2排気ポンプの電力に基づいて、前記予備排気室の真空度が第1真空度に到達したか否かを判定する処理と、
前記予備排気室の真空度が前記第1真空度に到達したと判断した場合に、前記予備排気室を前記第1排気ポンプに排気させる処理と、
を行う、荷電粒子線装置。
続きを表示(約 1,700 文字)
【請求項2】
請求項1において、
前記第2排気ポンプの温度を測定する温度計を含み、
前記制御部は、前記予備排気室の真空度が前記第1真空度に到達したか否かを判定する処理において、前記第2排気ポンプの電力および前記第2排気ポンプの温度に基づいて、前記予備排気室の真空度が前記第1真空度に到達したか否かを判定する、荷電粒子線装置。
【請求項3】
請求項1において、
前記制御部は、
前記予備排気室を前記第1排気ポンプに排気させる処理の後に、前記第1排気ポンプの電力に基づいて前記予備排気室の真空度が第2真空度に到達したか否かを判定する処理と、
前記予備排気室の真空度が前記第2真空度に到達した場合に、前記試料を前記試料室に導入可能な旨を通知する処理と、
を行う、荷電粒子線装置。
【請求項4】
請求項1において、
前記制御部は、
前記試料室を前記第1排気ポンプに排気させる処理と、
前記第1排気ポンプの電力に基づいて、前記第1排気ポンプの背圧が第1圧力よりも大きいか否かを判定する処理と、
前記第1排気ポンプの背圧が前記第1圧力よりも大きいと判定した場合に、前記排気口を前記第2排気ポンプに排気させる処理と、
前記第1排気ポンプの電力に基づいて、前記第1排気ポンプの背圧が第2圧力以下か否かを判定する処理と、
前記第1排気ポンプの背圧が第2圧力以下と判定した場合に、前記第2排気ポンプを停止する処理と、
を行う、荷電粒子線装置。
【請求項5】
請求項1において、
前記制御部は、荷電粒子線が前記試料に照射されている場合に、
前記試料室を前記第1排気ポンプに排気させる処理と、
前記第1排気ポンプの電力に基づいて、前記第1排気ポンプの背圧が第1圧力よりも大きいか否かを判定する処理と、
前記第1排気ポンプの背圧が前記第1圧力よりも大きいと判定した場合に、前記排気口を前記第2排気ポンプに排気させる処理と、
前記第1排気ポンプの電力に基づいて、前記第1排気ポンプの背圧が第2圧力以下か否かを判定する処理と、
前記第1排気ポンプの背圧が第2圧力以下と判定した場合に、前記第2排気ポンプを停止する処理と、
を行う、荷電粒子線装置。
【請求項6】
請求項5において、
前記制御部は、荷電粒子線が前記試料に照射されていない場合に、
前記試料室を前記第1排気ポンプに排気させる処理と、
前記第2排気ポンプを第1時間動作させて前記排気口を前記第2排気ポンプで排気させる処理と、前記第2排気ポンプを第2時間停止する処理を繰り返す処理と、
を行う、荷電粒子線装置。
【請求項7】
請求項1ないし6のいずれか1項において、
荷電粒子線を発生させる荷電粒子源を含み、
前記試料室と前記荷電粒子源が収容された空間とは、連通している、荷電粒子線装置。
【請求項8】
試料が配置される試料室と、
仕切弁を介して前記試料室に接続された予備排気室と、
第1ポート、第2ポート、および排気口を有し、前記第1ポートが前記試料室に接続され、前記第2ポートが前記予備排気室に接続された第1排気ポンプと、
前記予備排気室、前記排気口、および前記試料室に接続された第2排気ポンプと、
を含む荷電粒子線装置の制御方法であって、
前記試料が前記予備排気室に導入された場合に、前記予備排気室を前記第2排気ポンプに排気させる工程と、
前記第2排気ポンプの電力に基づいて、前記予備排気室の真空度が第1真空度に到達したか否かを判定する工程と、
前記予備排気室の真空度が前記第1真空度に到達したと判断した場合に、前記予備排気室を前記第1排気ポンプに排気させる工程と、
を含む、荷電粒子線装置の制御方法。
発明の詳細な説明
【技術分野】
【0001】
本発明は、荷電粒子線装置および荷電粒子線装置の制御方法に関する。
続きを表示(約 2,200 文字)
【背景技術】
【0002】
透過電子顕微鏡や、走査電子顕微鏡、集束イオンビーム装置などの荷電粒子線装置では、試料を試料室に導入する際には、試料室の真空度を低下させないために、予備排気を行う。
【0003】
例えば、特許文献1では、試料を予備排気室に導入し、予備排気室を租排気ポンプで排気し、予備排気室の真空度が所望の真空度よりも高くなったことを確認した後、予備排気室と試料室とを仕切る仕切り弁を開いて、試料を試料室に導入している。
【先行技術文献】
【特許文献】
【0004】
特開2021-118056号公報
【発明の概要】
【発明が解決しようとする課題】
【0005】
このような荷電粒子線装置では、試料室の真空度を低下させることなく、試料を予備排気室から試料室に導入できることが望まれている。
【課題を解決するための手段】
【0006】
本発明に係る荷電粒子線装置の一態様は、
試料に荷電粒子線を照射する荷電粒子線装置であって、
前記試料が配置される試料室と、
仕切弁を介して前記試料室に接続された予備排気室と、
第1ポート、第2ポート、および排気口を有し、前記第1ポートが前記試料室に接続され、前記第2ポートが前記予備排気室に接続された第1排気ポンプと、
前記予備排気室、前記排気口、および前記試料室に接続された第2排気ポンプと、
前記第1排気ポンプおよび前記第2排気ポンプを制御する制御部と、
を含み、
前記制御部は、前記試料が前記予備排気室に導入された場合に、
前記予備排気室を前記第2排気ポンプに排気させる処理と、
前記第2排気ポンプの電力に基づいて、前記予備排気室の真空度が第1真空度に到達したか否かを判定する処理と、
前記予備排気室の真空度が前記第1真空度に到達したと判断した場合に、前記予備排気室を前記第1排気ポンプに排気させる処理と、
を行う。
【0007】
このような荷電粒子線装置では、第1排気ポンプを用いて予備排気室を排気できるため、仕切弁を開いて予備排気室から試料室に試料を導入する際に、試料室の真空度の低下を低減できる。さらに、このような荷電粒子線装置では、予備排気室の真空度を第2排気ポンプの電力から判断するため、予備排気室の真空度を測定するための真空計が不要である。したがって、このような荷電粒子線装置では、部品点数を削減できる。
【0008】
本発明に係る荷電粒子線装置の制御方法の一態様は、
試料が配置される試料室と、
仕切弁を介して前記試料室に接続された予備排気室と、
第1ポート、第2ポート、および排気口を有し、前記第1ポートが前記試料室に接続され、前記第2ポートが前記予備排気室に接続された第1排気ポンプと、
前記予備排気室、前記排気口、および前記試料室に接続された第2排気ポンプと、
を含む荷電粒子線装置の制御方法であって、
前記試料が前記予備排気室に導入された場合に、前記予備排気室を前記第2排気ポンプに排気させる工程と、
前記第2排気ポンプの電力に基づいて、前記予備排気室の真空度が第1真空度に到達したか否かを判定する工程と、
前記予備排気室の真空度が前記第1真空度に到達したと判断した場合に、前記予備排気室を前記第1排気ポンプに排気させる工程と、
を含む。
【0009】
このような荷電粒子線装置の制御方法では、第1排気ポンプを用いて予備排気室を排気するため、仕切弁を開いて予備排気室から試料室に試料を導入する際に、試料室の真空度の低下を低減できる。さらに、このような荷電粒子線装置の制御方法では、予備排気室の真空度を第2排気ポンプの電力から判断するため、予備排気室の真空度を測定するための真空計が不要である。したがって、このような荷電粒子線装置の制御方法では、部品点数を削減できる。
【図面の簡単な説明】
【0010】
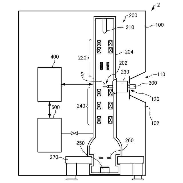
第1実施形態に係る透過電子顕微鏡の構成の一例を示す図。
筐体を模式的に示す斜視図。
筐体を模式的に示す正面図。
真空排気系の構成の一例を示す図。
試料室を排気するときの真空排気系の制御処理の一例を示すフローチャート。
試料を試料室に導入するときの真空排気系の制御処理の一例を示すフローチャート。
検鏡時の真空排気系の制御処理の一例を示すフローチャート。
検鏡時の真空排気系の制御処理の変形例を示すフローチャート。
非検鏡時の真空排気系の制御処理の一例を示すフローチャート。
GUI(Graphical User Interface)画面を模式的に示す図。
GUI画面を模式的に示す図。
真空排気系の構成の変形例を示す図。
非検鏡時の真空排気系の制御処理の一例を示すフローチャート。
真空排気系の構成の変形例を示す図。
【発明を実施するための形態】
(【0011】以降は省略されています)
この特許をJ-PlatPat(特許庁公式サイト)で参照する
関連特許
日本電子株式会社
集束イオンビーム装置
18日前
日本電子株式会社
自動分析装置および自動分析装置の制御方法
4日前
日本電子株式会社
安定同位体標識されたシステイニルドーパ、及び分析方法
4日前
東ソー株式会社
絶縁電線
20日前
APB株式会社
蓄電セル
18日前
個人
フレキシブル電気化学素子
1か月前
株式会社ユーシン
操作装置
1か月前
株式会社東芝
端子台
12日前
マクセル株式会社
電源装置
12日前
日新イオン機器株式会社
イオン源
28日前
ローム株式会社
半導体装置
1か月前
ローム株式会社
半導体装置
19日前
株式会社ホロン
冷陰極電子源
26日前
株式会社GSユアサ
蓄電装置
13日前
株式会社GSユアサ
蓄電装置
13日前
株式会社GSユアサ
蓄電装置
5日前
太陽誘電株式会社
コイル部品
1か月前
株式会社GSユアサ
蓄電設備
1か月前
オムロン株式会社
電磁継電器
1か月前
株式会社GSユアサ
蓄電設備
1か月前
ノリタケ株式会社
熱伝導シート
1か月前
日本特殊陶業株式会社
保持装置
21日前
サクサ株式会社
電池の固定構造
1か月前
トヨタ自動車株式会社
蓄電装置
13日前
日新イオン機器株式会社
基板処理装置
15日前
日本特殊陶業株式会社
保持装置
4日前
トヨタ自動車株式会社
バッテリ
18日前
北道電設株式会社
配電具カバー
18日前
トヨタ自動車株式会社
蓄電装置
1か月前
トヨタ自動車株式会社
バッテリ
1か月前
トヨタ自動車株式会社
冷却構造
20日前
日東電工株式会社
積層体
1か月前
ローム株式会社
半導体装置
1か月前
日本製紙株式会社
導電性フィルム
1か月前
日本製紙株式会社
導電性フィルム
1か月前
ローム株式会社
半導体装置
1か月前
続きを見る
他の特許を見る