TOP
|
特許
|
意匠
|
商標
特許ウォッチ
Twitter
他の特許を見る
10個以上の画像は省略されています。
公開番号
2025144806
公報種別
公開特許公報(A)
公開日
2025-10-03
出願番号
2024044658
出願日
2024-03-21
発明の名称
信号処理回路、加速度センサ、及び電子機器
出願人
ローム株式会社
代理人
弁理士法人 佐野特許事務所
主分類
G01P
21/00 20060101AFI20250926BHJP(測定;試験)
要約
【課題】故障の要因の特定を容易にする。
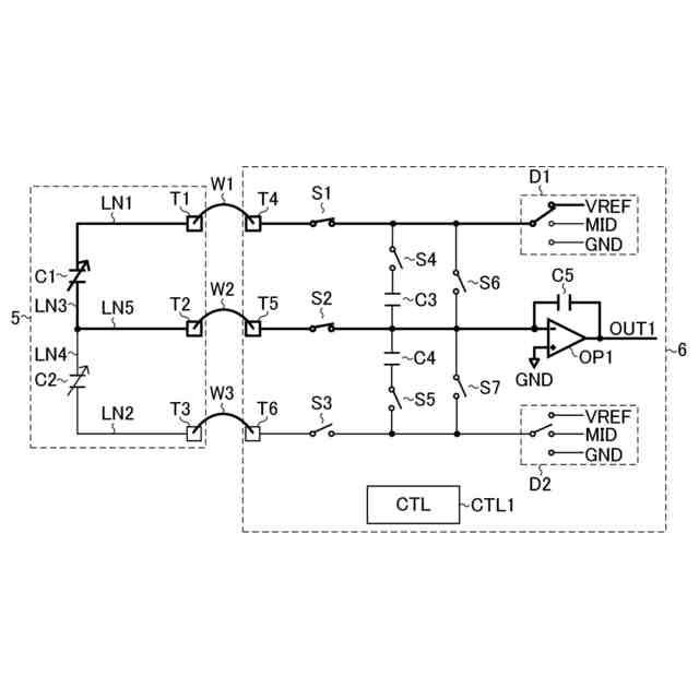
【解決手段】信号処理回路(6)は、第1可変容量(C1)及び第2可変容量(C2)を含むセンサ素子(5)に接続可能な信号処理回路であって、第1~第3端子(T4、T5、T6)と、前記第1可変容量の第1端に第1駆動信号を前記第1端子経由で供給する第1駆動回路(D1)と、前記第2可変容量の第1端に第2駆動信号を前記第3端子経由で供給する第2駆動回路(D2)と、前記第1可変容量の第2端及び前記第2可変容量の第2端に前記第2端子経由で接続されて前記第1可変容量と前記第2可変容量との差に応じた検出信号を生成する検出回路(OP1、C5)と、前記第1端子と前記第1駆動回路との間に設けられる第1スイッチ(S1)と、前記第2端子と前記検出回路との間に設けられる第2スイッチ(S2)と、前記第3端子と前記第2駆動回路との間に設けられる第3イッチ(S3)と、を備える。
【選択図】図2
特許請求の範囲
【請求項1】
第1可変容量及び第2可変容量を含むセンサ素子に接続可能な信号処理回路であって、
第1端子と、
第2端子と、
第3端子と、
前記第1可変容量の第1端に第1駆動信号を前記第1端子経由で供給するように構成された第1駆動回路と、
前記第2可変容量の第1端に第2駆動信号を前記第3端子経由で供給するように構成された第2駆動回路と、
前記第1可変容量の第2端及び前記第2可変容量の第2端に前記第2端子経由で接続されて前記第1可変容量と前記第2可変容量との差に応じた検出信号を生成するように構成された検出回路と、
前記第1端子と前記第1駆動回路との間に設けられる第1スイッチと、
前記第2端子と前記検出回路との間に設けられる第2スイッチと、
前記第3端子と前記第2駆動回路との間に設けられる第3イッチと、
を備える、信号処理回路。
続きを表示(約 770 文字)
【請求項2】
前記第1スイッチと前記第1駆動回路との接続ノードに第1端が接続され、前記第2スイッチと前記検出回路との接続ノードに第2端が接続される第1直列回路と、
前記第2スイッチと前記検出回路との接続ノードに第1端が接続され、前記第3スイッチと前記第2駆動回路との接続ノードに第2端が接続される第2直列回路と、
を備え、
前記第1直列回路は第4スイッチ及び第1容量を含む直列回路であり、
前記第2直列回路は第5スイッチ及び第2容量を含む直列回路である、請求項1に記載の信号処理回路。
【請求項3】
前記第1スイッチと前記第1駆動回路との接続ノードに第1端が接続され、前記第2スイッチと前記検出回路との接続ノードに第2端が接続される第6スイッチと、
前記第2スイッチと前記検出回路との接続ノードに第1端が接続され、前記第3スイッチと前記第2駆動回路との接続ノードに第2端が接続される第7スイッチと、
を備える、請求項1に記載の信号処理回路。
【請求項4】
前記第1駆動回路は、前記第1駆動信号として、第1電圧、前記第1電圧より低い第2電圧、前記第2電圧より低い第3電圧、ハイインピーダンス状態のいずれかを選択可能であるように構成されており、
前記第2駆動回路は、前記第2駆動信号として、前記第1電圧、前記第2電圧、前記第3電圧、前記ハイインピーダンス状態のいずれかを選択可能であるように構成されている、請求項1に記載の信号処理回路。
【請求項5】
請求項1~4のいずれか一項に記載の信号処理回路と、前記センサ素子と、を備える、加速度センサ。
【請求項6】
請求項5に記載の加速度センサを備える、電子機器。
発明の詳細な説明
【技術分野】
【0001】
本開示は、信号処理回路、加速度センサ、及び電子機器に関する。
続きを表示(約 3,300 文字)
【背景技術】
【0002】
近年、半導体製造プロセスを用いて製造されるMEMS(Micro Electro Mechanical Systems)の技術を用いたMEMSセンサ素子が製造されている(例えば、特許文献1参照)。センサ装置は、MEMSセンサ素子と、MEMSセンサ素子に接続される信号処理装置と、を含む。
【先行技術文献】
【特許文献】
【0003】
特開2023-020325号公報
【0004】
[概要]
センサ装置の組み立て不良、組み立て時のダメージによる故障等は、ファイナルテストによって検出される。生産管理の観点から、検出された故障の要因を特定する必要がある。検出された故障の要因を特定するには、故障が検出されたセンサ装置を治具等で解析する必要があるため手間と時間がかかる。
【0005】
また、信号処理装置をウェハの段階で出荷する場合、出荷者と信号処理装置及びMEMSセンサ素子を組み立ててセンサ装置を製造する製造者とのやり取りが発生するため、解析作業がさらに煩雑になるおそれがある。
【0006】
本開示に係る信号処理回路は、第1可変容量及び第2可変容量を含むセンサ素子に接続可能な信号処理回路である。前記信号処理回路は、第1端子と、第2端子と、第3端子と、前記第1可変容量の第1端に第1駆動信号を前記第1端子経由で供給するように構成された第1駆動回路と、前記第2可変容量の第1端に第2駆動信号を前記第3端子経由で供給するように構成された第2駆動回路と、前記第1可変容量の第2端及び前記第2可変容量の第2端に前記第2端子経由で接続されて前記第1可変容量と前記第2可変容量との差に応じた検出信号を生成するように構成された検出回路と、前記第1端子と前記第1駆動回路との間に設けられる第1スイッチと、前記第2端子と前記検出回路との間に設けられる第2スイッチと、前記第3端子と前記第2駆動回路との間に設けられる第3イッチと、を備える。
【0007】
本開示に係る加速度センサは、上記構成の信号処理回路と、前記センサ素子と、を備える。
【0008】
本開示に係る電子機器は、上記構成の加速度センサを備える。
【図面の簡単な説明】
【0009】
図1は、本開示の実施形態に係るセンサ装置の断面構造を模式的に示す図である。
図2は、本開示の実施形態に係るセンサ装置の概略構成を示す図である。
図3は、第1テストモードでのセンサ装置の状態を示す図である。
図4は、第2テストモードでのセンサ装置の状態を示す図である。
図5は、第3テストモードでのセンサ装置の状態を示す図である。
図6は、第4テストモードでのセンサ装置の状態を示す図である。
図7は、第5テストモードでのセンサ装置の状態を示す図である。
図8は、第6テストモードでのセンサ装置の状態を示す図である。
図9は、第1故障パターン及び第2故障パターンの場合の第1テストモードでのセンサ装置の状態を示す図である。
図10は、第1故障パターン及び第2故障パターンの場合の第3テストモードでのセンサ装置の状態を示す図である。
図11は、第1故障パターン及び第2故障パターンの場合の第4テストモードでのセンサ装置の状態を示す図である。
図12は、第3故障パターン及び第4故障パターンの場合の第2テストモードでのセンサ装置の状態を示す図である。
図13は、第3故障パターン及び第4故障パターンの場合の第3テストモードでのセンサ装置の状態を示す図である。
図14は、第3故障パターン及び第4故障パターンの場合の第4テストモードでのセンサ装置の状態を示す図である。
図15は、第5故障パターン及び第6故障パターンの場合の第1テストモードでのセンサ装置の状態を示す図である。
図16は、第5故障パターン及び第6故障パターンの場合の第2テストモードでのセンサ装置の状態を示す図である。
図17は、第7故障パターンの場合の第1テストモードでのセンサ装置の状態を示す図である。
図18は、第7故障パターンの場合の第3テストモードでのセンサ装置の状態を示す図である。
図19は、第7故障パターンの場合の第4テストモードでのセンサ装置の状態を示す図である。
図20は、第8故障パターンの場合の第2テストモードでのセンサ装置の状態を示す図である。
図21は、第8故障パターンの場合の第3テストモードでのセンサ装置の状態を示す図である。
図22は、第8故障パターンの場合の第4テストモードでのセンサ装置の状態を示す図である。
図23は、第9故障パターンの場合の第1テストモードでのセンサ装置の状態を示す図である。
図24は、第9故障パターンの場合の第3テストモードでのセンサ装置の状態を示す図である。
図25は、第9故障パターンの場合の第4テストモードでのセンサ装置の状態を示す図である。
図26は、第10故障パターンの場合の第1テストモードでのセンサ装置の状態を示す図である。
図27は、第10故障パターンの場合の第3テストモードでのセンサ装置の状態を示す図である。
図28は、第10故障パターンの場合の第4テストモードでのセンサ装置の状態を示す図である。
図29は、第11故障パターンの場合の第1テストモードでのセンサ装置の状態を示す図である。
図30は、第11故障パターンの場合の第2テストモードでのセンサ装置の状態を示す図である。
図31は、第12故障パターンの場合の第1テストモードでのセンサ装置の状態を示す図である。
図32は、第12故障パターンの場合の第3テストモードでのセンサ装置の状態を示す図である。
図33は、第12故障パターンの場合の第4テストモードでのセンサ装置の状態を示す図である。
図34は、第12故障パターンの場合の第5テストモードでのセンサ装置の状態を示す図である。
図35は、第13故障パターンの場合の第2テストモードでのセンサ装置の状態を示す図である。
図36は、第13故障パターンの場合の第3テストモードでのセンサ装置の状態を示す図である。
図37は、第13故障パターンの場合の第4テストモードでのセンサ装置の状態を示す図である。
図38は、第13故障パターンの場合の第6テストモードでのセンサ装置の状態を示す図である。
図39は、第14故障パターンの場合の第1テストモードでのセンサ装置の状態を示す図である。
図40は、第14故障パターンの場合の第2テストモードでのセンサ装置の状態を示す図である。
図41は、第14故障パターンの場合の第3テストモードでのセンサ装置の状態を示す図である。
図42は、第14故障パターンの場合の第4テストモードでのセンサ装置の状態を示す図である。
図43は、第14故障パターンの場合の第5テストモードでのセンサ装置の状態を示す図である。
図44は、第14故障パターンの場合の第6テストモードでのセンサ装置の状態を示す図である。
図45は、第1~第14故障パターンと検出信号との関係を示す図である。
図46は、スマートフォンの構成例を示すブロック図である。
【0010】
[詳細な説明]
図1は、本開示の実施形態に係るセンサ装置10の断面構造を模式的に示す図である。センサ装置10は、加速度を検出する加速度センサ装置である。センサ装置10は、基板1と、蓋部2と、半導体チップ3と、樹脂4と、ボンディングワイヤW1~W3と、を備える。
(【0011】以降は省略されています)
特許ウォッチbot のツイートを見る
この特許をJ-PlatPat(特許庁公式サイト)で参照する
関連特許
ローム株式会社
RAM
今日
ローム株式会社
RAM
今日
ローム株式会社
電源装置
今日
ローム株式会社
発振回路
今日
ローム株式会社
駆動回路
2日前
ローム株式会社
半導体装置
1日前
ローム株式会社
半導体装置
1日前
ローム株式会社
半導体装置
1日前
ローム株式会社
半導体装置
今日
ローム株式会社
半導体装置
今日
ローム株式会社
半導体装置
1日前
ローム株式会社
半導体装置
今日
ローム株式会社
半導体装置
2日前
ローム株式会社
暗号化装置
1日前
ローム株式会社
半導体装置
2日前
ローム株式会社
半導体装置
2日前
ローム株式会社
半導体装置
今日
ローム株式会社
半導体装置
今日
ローム株式会社
テスト回路
1日前
ローム株式会社
無線通信回路
2日前
ローム株式会社
無線通信装置
1日前
ローム株式会社
時間測定回路
2日前
ローム株式会社
静電気保護素子
今日
ローム株式会社
異常検知システム
今日
ローム株式会社
フォトダイオード
2日前
ローム株式会社
検証装置及び検証方法
今日
ローム株式会社
半導体装置及び補正方法
今日
ローム株式会社
半導体装置及び半導体チップ
1日前
ローム株式会社
アンテナ付高周波モジュール
2日前
ローム株式会社
信号伝達装置、電子機器、車両
今日
ローム株式会社
半導体装置及びレギュレータ装置
今日
ローム株式会社
半導体装置、および通信システム
1日前
ローム株式会社
半導体装置、および通信システム
1日前
ローム株式会社
音波処理装置、ソナー装置及び車両
1日前
ローム株式会社
レギュレータ回路を備えた集積回路
今日
ローム株式会社
スイッチ装置及び負荷駆動システム
1日前
続きを見る
他の特許を見る