TOP
|
特許
|
意匠
|
商標
特許ウォッチ
Twitter
他の特許を見る
公開番号
2025144197
公報種別
公開特許公報(A)
公開日
2025-10-02
出願番号
2024043864
出願日
2024-03-19
発明の名称
トレンチゲート型の電界効果トランジスタの製造方法
出願人
株式会社デンソー
,
トヨタ自動車株式会社
,
株式会社ミライズテクノロジーズ
代理人
弁理士法人 快友国際特許事務所
主分類
H10D
30/01 20250101AFI20250925BHJP()
要約
【課題】 層間絶縁膜を形成するときに、外周領域に不要な酸化シリコン層が残存することを抑制する。
【解決手段】 電界効果トランジスタの製造方法であって、各ゲートトレンチ内であってゲート電極の上部に物質が充填されていない上部領域が設けられている基板を準備する工程と、ゲートトレンチ領域上に位置する第1酸化シリコン層と外周領域上に位置するとともに前記第1酸化シリコン層よりも厚い第2酸化シリコン層とを有する酸化シリコン層を形成する工程と、前記ゲートトレンチ領域上に位置する第1マスク層と、前記外周領域上に位置するとともに前記第1マスク層よりも厚い第2マスク層と、前記外周領域上に位置する開口部を有するようにマスク層を形成する工程と、前記マスク層を介して前記酸化シリコン層をエッチングする工程を有する。
【選択図】図10
特許請求の範囲
【請求項1】
トレンチゲート型の電界効果トランジスタの製造方法であって、
半導体基板(12)とゲート電極(18)とを有する基板(100)であって、前記半導体基板の主面(12a)が複数のゲートトレンチ(14)が設けられたゲートトレンチ領域(90)と前記ゲートトレンチ領域の周囲に配置された外周領域(92)とを有し、前記ゲート電極が前記各ゲートトレンチ内に配置されており、前記各ゲートトレンチ内であって前記ゲート電極の上部に物質が充填されていない上部領域(19)が設けられている前記基板を準備する工程と、
前記基板の表面に酸化シリコン層(24)を形成する工程であって、前記各上部領域に前記酸化シリコン層(24)が充填され、前記酸化シリコン層が前記ゲートトレンチ領域上に位置する第1酸化シリコン層(24a)と前記外周領域上に位置するとともに前記第1酸化シリコン層よりも厚い第2酸化シリコン層(24b)とを有するように前記酸化シリコン層を形成する工程と、
前記酸化シリコン層の表面を覆うマスク層(40)を形成する工程であって、前記マスク層が前記ゲートトレンチ領域上に位置する第1マスク層(41a)と、前記外周領域上に位置するとともに前記第1マスク層よりも厚い第2マスク層(41b)と、前記外周領域上に位置する開口部(41c)を有するように前記マスク層を形成する工程と、
前記マスク層を介して前記酸化シリコン層をエッチングする工程であって、前記外周領域では、前記第2マスク層が残存するとともに前記開口部の下部の前記酸化シリコン層が除去され、前記ゲートトレンチ領域では、前記第1マスク層が除去され、前記主面より上側の前記酸化シリコン層が除去されるとともに前記上部領域内に前記酸化シリコン層が残存する、工程、
を有する製造方法。
続きを表示(約 720 文字)
【請求項2】
前記マスク層を形成する前記工程が、
前記酸化シリコン層の表面にレジスト層(40)を形成する工程と、
前記レジスト層に、露光部(40c)と、非露光部(40b)と、前記露光部よりも低い照射エネルギー密度で光が照射された中間露光部(40a)とが形成されるように前記レジスト層に光を照射する工程と、
前記レジスト層を現像する工程であって、前記露光部が前記開口部となり、前記中間露光部が前記第1マスク層となり、前記非露光部が前記第2マスク層となる工程、
を有する、
請求項1に記載の製造方法。
【請求項3】
光を照射する前記工程では、光透過部(112)と光遮蔽部(114)を有するフォトマスク(110)のパターンを前記レジスト層に投影し、
前記パターンのうちの前記ゲートトレンチ領域に投影される部分が、前記レジスト層に照射される光の波長よりも幅が狭い前記光透過部(112c)を有している、
請求項2に記載の製造方法。
【請求項4】
光を照射する前記工程では、光透過部(112)と光遮蔽部(114)と前記光透過部と前記光遮蔽部の間の光透過率を有するハーフトーン部(118)を有するフォトマスク(110)のパターンを前記レジスト層に投影し、
前記パターンのうちの前記ゲートトレンチ領域に投影される部分が、前記ハーフトーン部を有している、
請求項2に記載の製造方法。
【請求項5】
前記パターンが、前記ゲートトレンチの間の領域に対応する位置に前記光透過部(112d)を有している、請求項4に記載の製造方法。
発明の詳細な説明
【技術分野】
【0001】
本明細書に開示の技術は、トレンチゲート型の電界効果トランジスタの製造方法に関する。
続きを表示(約 3,200 文字)
【0002】
特許文献1には、トレンチゲート型の電界効果トランジスタの製造方法が開示されている。この製造方法では、まず、半導体基板の主面に複数のゲートトレンチを形成する。次に、各ゲートトレンチ内にゲート電極を形成する。この段階では、各ゲートトレンチ内であってゲート電極の上部の領域(以下、上部領域という)には、物質が充填されていない。次に、基板の表面に酸化シリコン層を形成する。このとき、各上部領域に酸化シリコン層が充填される。その後、上部領域内に酸化シリコン層が残存するとともに半導体基板の主面が露出するように酸化シリコン層をエッチバックする。ゲートトレンチ内に残存する酸化シリコン層は、ゲート電極の上部を覆う層間絶縁膜となる。
【先行技術文献】
【特許文献】
【0003】
特開2023-111347号公報
【発明の概要】
【発明が解決しようとする課題】
【0004】
特許文献1の技術では、酸化シリコン層を形成するときにゲートトレンチ内(すなわち、上部領域)に酸化シリコン層が充填される。このため、複数のゲートトレンチが設けられたゲートトレンチ領域では、その周囲の外周領域よりも、半導体基板の主面上において酸化シリコン層の厚さが薄くなる。このため、その後のエッチバック工程においてゲートトレンチ内に酸化シリコン層が残存するようにエッチバックを行うと、外周領域内の酸化シリコン層を除去すべき領域内に不要な酸化シリコン層が残存する。したがって、残存した不要な酸化シリコン層を除去する工程が必要となる。本明細書では、層間絶縁膜を形成するときに、外周領域に不要な酸化シリコン層が残存することを抑制する技術を提案する。
【課題を解決するための手段】
【0005】
本明細書は、トレンチゲート型の電界効果トランジスタの製造方法を提案する。この製造方法は、第1工程、第2工程、第3工程、及び、第4工程を有する。前記第1工程では、半導体基板(12)とゲート電極(18)とを有する基板(100)であって、前記半導体基板の主面(12a)が複数のゲートトレンチ(14)が設けられたゲートトレンチ領域(90)と前記ゲートトレンチ領域の周囲に配置された外周領域(92)とを有し、前記ゲート電極が前記各ゲートトレンチ内に配置されており、前記各ゲートトレンチ内であって前記ゲート電極の上部に物質が充填されていない上部領域(19)が設けられている前記基板を準備する。前記第2工程では、前記基板の表面に酸化シリコン層(24)を形成する。前記第2工程では、前記各上部領域に前記酸化シリコン層(24)が充填され、前記酸化シリコン層が前記ゲートトレンチ領域上に位置する第1酸化シリコン層(24a)と前記外周領域上に位置するとともに前記第1酸化シリコン層よりも厚い第2酸化シリコン層(24b)とを有するように前記酸化シリコン層を形成する。前記第3工程では、前記酸化シリコン層の表面を覆うマスク層(40)を形成する。前記第3工程では、前記マスク層が前記ゲートトレンチ領域上に位置する第1マスク層(41a)と、前記外周領域上に位置するとともに前記第1マスク層よりも厚い第2マスク層(41b)と、前記外周領域上に位置する開口部(41c)を有するように前記マスク層を形成する。前記第4工程では、前記マスク層を介して前記酸化シリコン層をエッチングする。前記第4工程では、前記外周領域では、前記第2マスク層が残存するとともに前記開口部の下部の前記酸化シリコン層が除去され、前記ゲートトレンチ領域では、前記第1マスク層が除去され、前記主面より上側の前記酸化シリコン層が除去されるとともに前記上部領域内に前記酸化シリコン層が残存する。
【0006】
この製造方法では、第3工程において、ゲートトレンチ領域上に薄い第1マスク層を形成し、外周領域上に厚い第2マスク層と開口部を形成する。このため、第4工程において、ゲートトレンチ領域では、第1マスク層が除去された後に、酸化シリコン層がエッチングされる。また、開口部内では、酸化シリコン層が直接エッチングされる。このため、ゲートトレンチ領域で上部領域内に酸化シリコン層(すなわち、層間絶縁膜)を残存させながら、開口部内の酸化シリコン層を除去することができる。このように、この製造方法によれば、層間絶縁膜を形成するときに、外周領域における不要な酸化シリコン層の残存を抑制できる。
【図面の簡単な説明】
【0007】
電界効果トランジスタ10の断面図。
実施例1の製造方法の説明図。
実施例1の製造方法の説明図。
実施例1の製造方法の説明図。
実施例1の製造方法の説明図。
実施例1の製造方法の説明図。
実施例1の製造方法の説明図。
実施例1の露光工程の説明図。
実施例1で使用するフォトマスクの平面図。
実施例1の製造方法の説明図。
実施例1の製造方法の説明図。
実施例2の露光工程の説明図。
実施例3の露光工程の説明図。
【発明を実施するための形態】
【実施例】
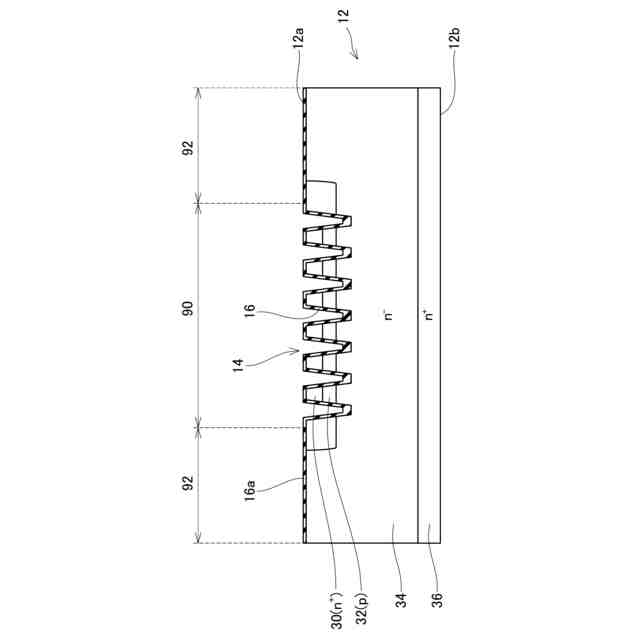
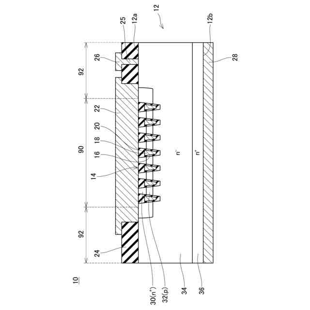
【0008】
図1に示す実施例1の電界効果トランジスタ10は、半導体基板12を有している。本実施形態では、半導体基板12はSiC(すなわち、炭化ケイ素)により構成されている。半導体基板12の上面12aには、複数のゲートトレンチ14が設けられている。以下では、半導体基板12の上面12aのうち、複数のゲートトレンチ14が設けられている領域をゲートトレンチ領域90といい、ゲートトレンチ領域90の周囲の領域を外周領域92という。各ゲートトレンチ14の内面は、ゲート絶縁膜16によって覆われている。各ゲートトレンチ14内に、ゲート電極18が設けられている。各ゲート電極18は、ゲート絶縁膜16によって半導体基板12から絶縁されている。ゲート電極18の上面は、層間絶縁膜20によって覆われている。
【0009】
半導体基板12の上面12aには、ソース電極22と酸化シリコン層24が設けられている。ソース電極22は、ゲートトレンチ領域90を覆っている。ソース電極22は上面12aに接している。ソース電極22は、層間絶縁膜20によってゲート電極18から絶縁されている。酸化シリコン層24は、外周領域92を覆っている。酸化シリコン層24には、コンタクトホール25が設けられている。コンタクトホール25内には、半導体基板12に接する電極26が設けられている。半導体基板12の下面12bには、ドレイン電極28が設けられている。
【0010】
半導体基板12は、ソース領域30、ボディ領域32、ドリフト領域34、及び、ドレイン領域36を有している。ソース領域30は、n型領域であり、ゲートトレンチ14によって挟まれた領域に配置されている。ソース領域30は、ソース電極22にオーミック接触している。ソース領域30は、ゲート絶縁膜16に接している。ボディ領域32は、p型領域であり、ソース領域30に対して下側から接している。ボディ領域32は、ソース領域30の下側でゲート絶縁膜16に接している。ドリフト領域34は、n型領域であり、ボディ領域32に対して下側から接している。ドリフト領域34は、ボディ領域32によってソース領域30から分離されている。ドリフト領域34は、ボディ領域32の下側でゲート絶縁膜16に接している。ドレイン領域36は、高濃度のn型領域であり、ドリフト領域34に対して下側から接している。ドレイン領域36は、ドレイン電極28にオーミック接触している。
(【0011】以降は省略されています)
この特許をJ-PlatPat(特許庁公式サイト)で参照する
関連特許
株式会社デンソー
車載器
9日前
株式会社デンソー
接合体
23日前
株式会社デンソー
ステータ
24日前
株式会社デンソー
ステータ
24日前
株式会社デンソー
反力装置
3日前
株式会社デンソー
電子装置
4日前
株式会社デンソー
ステータ
9日前
株式会社デンソー
ステータ
9日前
株式会社デンソー
ねじ部材
9日前
株式会社デンソー
電子装置
3日前
株式会社デンソーエレクトロニクス
発音装置
13日前
株式会社デンソー
電子装置
13日前
株式会社デンソー
太陽電池
25日前
株式会社デンソーエレクトロニクス
発音装置
1か月前
株式会社デンソーテン
インバータ
3日前
株式会社デンソー
レーダ装置
13日前
株式会社デンソー
半導体装置
9日前
株式会社デンソー
農業用装置
5日前
株式会社デンソー
レーダ装置
2日前
株式会社デンソー
電気化学セル
13日前
株式会社デンソー
ステータコア
16日前
株式会社デンソー
衝突予測装置
4日前
株式会社デンソー
運転支援装置
4日前
株式会社デンソー
衝突予測装置
4日前
株式会社デンソー
電圧検出回路
5日前
株式会社デンソー
通信システム
13日前
株式会社デンソー
電力変換装置
5日前
株式会社デンソー
電子制御装置
13日前
株式会社デンソー
フィルタ回路
17日前
株式会社デンソーテン
車載映像装置
9日前
株式会社デンソー
電子制御装置
9日前
株式会社デンソーエアクール
換気空調装置
10日前
株式会社デンソー
電力変換装置
9日前
株式会社デンソー
制御システム
16日前
株式会社デンソー
電波吸収装置
13日前
株式会社デンソー
電力変換装置
17日前
続きを見る
他の特許を見る