TOP
|
特許
|
意匠
|
商標
特許ウォッチ
Twitter
他の特許を見る
10個以上の画像は省略されています。
公開番号
2025144021
公報種別
公開特許公報(A)
公開日
2025-10-02
出願番号
2024043574
出願日
2024-03-19
発明の名称
深礎基礎および深礎基礎の施工方法
出願人
東日本旅客鉄道株式会社
,
鉄建建設株式会社
,
日鉄建材株式会社
代理人
弁理士法人樹之下知的財産事務所
主分類
E02D
17/08 20060101AFI20250925BHJP(水工;基礎;土砂の移送)
要約
【課題】ライナープレートによる土留構造を有する地中構造物において、杭頭部などにおける過密配筋を解消する。
【解決手段】地盤を掘削して形成された立坑の壁面に沿って深さ方向および周方向に配列され、本体部、前記深さ方向に延びる軸方向フランジ、および前記周方向に延びる周方向フランジを有するライナープレートと、前記ライナープレートと前記立坑の壁面との間に充填される外側固化材料と、前記ライナープレートの内側に充填される内側固化材料とを備える深礎基礎であって、前記ライナープレートは、前記深礎基礎の上部において前記深さ方向の複数段の間で前記周方向の連結位置を揃えて配置される第1のライナープレートと、前記深礎基礎の下部において前記深さ方向の複数段の間で前記周方向の連結位置をずらして配置される第2のライナープレートとを含む深礎基礎が提供される。
【選択図】図2
特許請求の範囲
【請求項1】
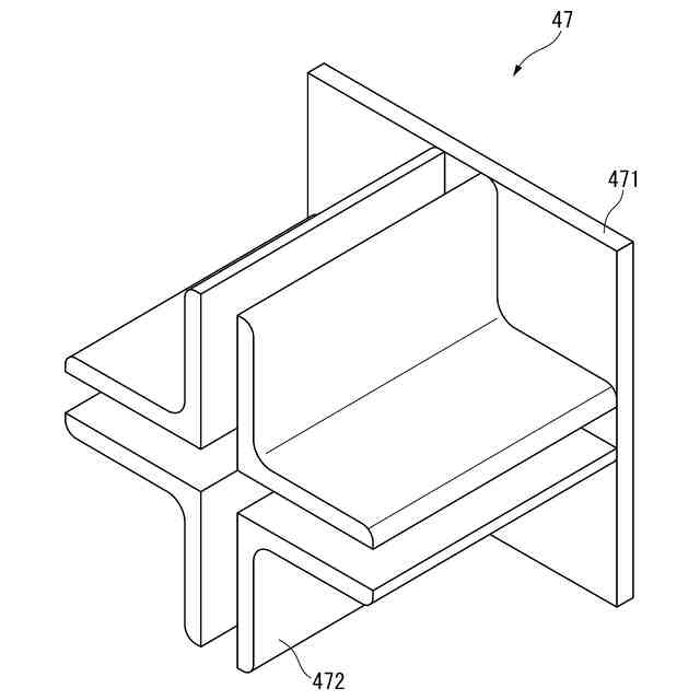
地盤を掘削して形成された立坑の壁面に沿って深さ方向および周方向に配列され、本体部、前記深さ方向に延びる軸方向フランジ、および前記周方向に延びる周方向フランジを有するライナープレートと、
前記ライナープレートと前記立坑の壁面との間に充填される外側固化材料と、
前記ライナープレートの内側に充填される内側固化材料と
を備える深礎基礎であって、
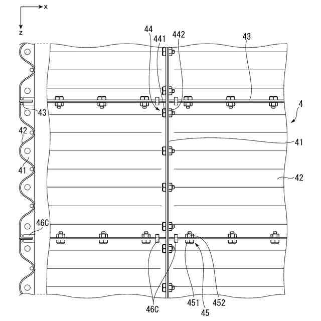
前記ライナープレートは、前記深礎基礎の上部において前記深さ方向の複数段の間で前記周方向の連結位置を揃えて配置される第1のライナープレートと、前記深礎基礎の下部において前記深さ方向の複数段の間で前記周方向の連結位置をずらして配置される第2のライナープレートとを含む、深礎基礎。
続きを表示(約 950 文字)
【請求項2】
前記第1のライナープレートの前記軸方向フランジの板厚は、前記第1のライナープレートの前記本体部の板厚よりも1.3mm以上厚い、請求項1に記載の深礎基礎。
【請求項3】
前記第1のライナープレートが前記周方向に配置される数は、周長を1570mmで割って切り上げた数よりも多い、請求項1に記載の深礎基礎。
【請求項4】
前記第1のライナープレートの前記深さ方向の複数段にまたがって、前記軸方向フランジの間に介挿される連結部材をさらに備える、請求項1に記載の深礎基礎。
【請求項5】
前記第1のライナープレートの前記周方向フランジの両端部に設置される補強部材をさらに備える、請求項1から請求項4のいずれか1項に記載の深礎基礎。
【請求項6】
前記補強部材は、前記深さ方向に隣接する前記第1のライナープレートの前記周方向フランジ同士を連結するボルトおよびナットと前記周方向フランジとの間に介挿される補強板を含む、請求項5に記載の深礎基礎。
【請求項7】
前記補強部材は、前記第1のライナープレートの前記周方向フランジと前記軸方向フランジとの間の角部に接合される補強リブを含む、請求項5に記載の深礎基礎。
【請求項8】
前記補強部材は、前記深さ方向に隣接する前記第1のライナープレートの前記周方向フランジ同士を挟持する連結金具を含む、請求項5に記載の深礎基礎。
【請求項9】
前記補強部材は、前記深さ方向および前記周方向について隣接する4つの前記第1のライナープレートの前記軸方向フランジおよび前記周方向フランジによって形成される十字状の交差部を差し込むことが可能な溝部を有する、請求項5に記載の深礎基礎。
【請求項10】
前記補強部材は、前記深さ方向および前記周方向について隣接する4つの前記第1のライナープレートの前記軸方向フランジおよび前記周方向フランジによって形成される十字状の交差部でそれぞれの前記軸方向フランジおよび前記周方向フランジの間の角部に差し込むことが可能な棒状部分を有する、請求項5に記載の深礎基礎。
(【請求項11】以降は省略されています)
発明の詳細な説明
【技術分野】
【0001】
本発明は、深礎基礎および深礎基礎の施工方法に関する。
続きを表示(約 3,000 文字)
【背景技術】
【0002】
深礎基礎は、一般に、地盤を掘削しながらライナープレートの左右ならびに上下の縁端を順次接続する手順を所定深度まで繰り返すことで、立坑の内側に土留壁を構築し、土留壁の内側に鉄筋を建て込み、さらにコンクリートを打設することによって施工される。このような深礎基礎に関する従来技術の例が、特許文献1に記載されている。
【0003】
特許文献1に記載された技術では、スペースホルダーをライナープレートに固定し、スペースホルダーにガイドバーを介して取り付けられるブラケットにフープ筋を載置し、ブラケットとフープ筋との交点を針金で緊縛し、さらにフープ筋の内側に主鉄筋を建て込み、主鉄筋とフープ筋との交点を針金で緊縛することによって、深礎基礎におけるコンクリート打設前の鉄筋の建て込み工程が完了する。
【先行技術文献】
【特許文献】
【0004】
実用新案登録第3158383号
【発明の概要】
【発明が解決しようとする課題】
【0005】
しかしながら、特許文献1に記載された技術では、鉄筋を建て込むためにスペースホルダー、ガイドバー、およびブラケットなどの部材が必要であり、部材のコストが上昇するのに加えて、地震時などに杭頭部に作用する断面力が大きい場合は過密配筋になって設計や施工が困難になる場合があるという問題があった。
【0006】
そこで、本発明は、ライナープレートによる土留構造を有する深礎基礎において、コストの上昇を抑え、また、杭頭部などにおける過密配筋の解消を可能にする深礎基礎および深礎基礎の施工方法を提供することを目的とする。
【課題を解決するための手段】
【0007】
[1]地盤を掘削して形成された立坑の壁面に沿って深さ方向および周方向に配列され、本体部、前記深さ方向に延びる軸方向フランジ、および前記周方向に延びる周方向フランジを有するライナープレートと、前記ライナープレートと前記立坑の壁面との間に充填される外側固化材料と、前記ライナープレートの内側に充填される内側固化材料とを備える深礎基礎であって、前記ライナープレートは、前記深礎基礎の上部において前記深さ方向の複数段の間で前記周方向の連結位置を揃えて配置される第1のライナープレートと、前記深礎基礎の下部において前記深さ方向の複数段の間で前記周方向の連結位置をずらして配置される第2のライナープレートとを含む、深礎基礎。
[2]前記第1のライナープレートの前記軸方向フランジの板厚は、前記第1のライナープレートの前記本体部の板厚よりも1.3mm以上厚い、[1]に記載の深礎基礎。
[3]前記第1のライナープレートが前記周方向に配置される数は、周長を1570mmで割って切り上げた数よりも多い、[1]に記載の深礎基礎。
[4]前記第1のライナープレートの前記深さ方向の複数段にまたがって、前記軸方向フランジの間に介挿される連結部材をさらに備える、[1]に記載の深礎基礎。
[5]前記第1のライナープレートの前記周方向フランジの両端部に設置される補強部材をさらに備える、[1]から[4]のいずれか1項に記載の深礎基礎。
[6]前記補強部材は、前記深さ方向に隣接する前記第1のライナープレートの前記周方向フランジ同士を連結するボルトおよびナットと前記周方向フランジとの間に介挿される補強板を含む、[5]に記載の深礎基礎。
[7]前記補強部材は、前記第1のライナープレートの前記周方向フランジと前記軸方向フランジとの間の角部に接合される補強リブを含む、[5]に記載の深礎基礎。
[8]前記補強部材は、前記深さ方向に隣接する前記第1のライナープレートの前記周方向フランジ同士を挟持する連結金具を含む、[5]に記載の深礎基礎。
[9]前記補強部材は、前記深さ方向および前記周方向について隣接する4つの前記第1のライナープレートの前記軸方向フランジおよび前記周方向フランジによって形成される十字状の交差部を差し込むことが可能な溝部を有する、[5]に記載の深礎基礎。
[10]前記補強部材は、前記深さ方向および前記周方向について隣接する4つの前記第1のライナープレートの前記軸方向フランジおよび前記周方向フランジによって形成される十字状の交差部でそれぞれの前記軸方向フランジおよび前記周方向フランジの間の角部に差し込むことが可能な棒状部分を有する、[5]に記載の深礎基礎。
[11]地盤を掘削して立坑を形成する掘削工程、前記立坑の壁面に沿ってライナープレートを深さ方向および周方向に配列するライナープレート設置工程、前記ライナープレートと前記立坑の壁面との間に外側固化材料を充填する外側充填工程、および前記ライナープレートの内側に内側固化材料を充填する内側充填工程を含む深礎基礎の施工方法であって、前記ライナープレート設置工程は、前記深礎基礎の上部において前記深さ方向の複数段の間で前記周方向の連結位置を揃えて前記ライナープレートを配置する第1のライナープレート設置工程と、前記深礎基礎の下部において前記深さ方向の複数段の間で前記周方向の連結位置をずらして前記ライナープレートを配置する第2のライナープレート設置工程とを含む、深礎基礎の施工方法。
【発明の効果】
【0008】
上記の構成によれば、深礎基礎の上部では深さ方向の複数段の間でライナープレートが軸方向フランジ同士の連結位置を揃えて配置されるため、軸方向フランジを深さ方向の鉄筋の代替として機能させることが可能になり、鉄筋の本数やサイズの削減、さらに断面耐力が上がるため、杭径を減らすことも可能となる。その一方で、土圧が比較的大きい深礎基礎の下部では深さ方向の複数段の間でライナープレートが軸方向フランジ同士の連結位置をずらして配置されるため、ライナープレートによる土留構造の変形を防止できる。
【図面の簡単な説明】
【0009】
本発明の一実施形態に係る深礎基礎の断面図である。
図1に示した深礎基礎におけるライナープレートの配置の例を示す図である。
周方向フランジの補強部材の第1の例を示す図である。
周方向フランジの補強部材の第2の例を示す図である。
周方向フランジの補強部材の第3の例を示す図である。
周方向フランジの補強部材の第4の例を示す図である。
周方向フランジの補強部材の第4の例を示す図である。
周方向フランジの補強部材の第5の例を示す図である。
周方向フランジの補強部材の第5の例を示す図である。
軸方向フランジ同士を直接的に連結する例を示す図である。
【発明を実施するための形態】
【0010】
以下に添付図面を参照しながら、本発明の好適な実施形態について詳細に説明する。なお、本明細書および図面において、実質的に同一の機能構成を有する構成要素については、同一の符号を付することにより重複説明を省略する。
(【0011】以降は省略されています)
この特許をJ-PlatPat(特許庁公式サイト)で参照する
関連特許
個人
バケット
27日前
個人
建物の不同沈下の修正方法
1か月前
鹿島建設株式会社
接続方法
7日前
株式会社富田製作所
継手部構造
27日前
株式会社大林組
操縦装置
1か月前
千代田工営株式会社
回転貫入杭
1か月前
株式会社郷土開発
傾斜地の切土工法
6日前
株式会社熊谷組
山留壁用親杭
1か月前
日立建機株式会社
作業機械
19日前
株式会社クボタ
作業機
6日前
日立建機株式会社
作業機械
1か月前
日立建機株式会社
作業車両
1か月前
ヤンマーホールディングス株式会社
作業機械
1か月前
日立建機株式会社
建設機械
20日前
日立建機株式会社
作業機械
1か月前
日本車輌製造株式会社
建設機械
1か月前
ヤンマーホールディングス株式会社
作業機械
1か月前
FKS株式会社
擁壁及び擁壁の築造方法
29日前
鹿島建設株式会社
接続方法および接続構造
1か月前
株式会社三誠
建物の免震構造
1か月前
株式会社次世代一次産業実践所
登山道の施工装置
1か月前
株式会社竹内製作所
作業用車両
1か月前
株式会社竹内製作所
作業用車両
1か月前
株式会社竹内製作所
作業用車両
1か月前
株式会社竹内製作所
作業用車両
1か月前
山形新興株式会社
建築物の基礎及び基礎成形型
1か月前
ナブテスコ株式会社
ドーザブレード駆動機構
19日前
個人
アンカーボルト支持装置
1か月前
日本車輌製造株式会社
杭打機の表示システム
22日前
日本車輌製造株式会社
杭打機の制御システム
1か月前
株式会社大林組
施工支援装置及び施工支援方法
29日前
日立建機株式会社
作業機械
1か月前
株式会社大林組
評価支援装置及び評価支援方法
28日前
日本車輌製造株式会社
建設機械の電源システム
1か月前
日立建機株式会社
作業機械
1か月前
株式会社大林組
施工支援装置及び施工支援方法
29日前
続きを見る
他の特許を見る