TOP
|
特許
|
意匠
|
商標
特許ウォッチ
Twitter
他の特許を見る
10個以上の画像は省略されています。
公開番号
2025144018
公報種別
公開特許公報(A)
公開日
2025-10-02
出願番号
2024043571
出願日
2024-03-19
発明の名称
半導体基板のリサイクル方法およびリサイクル半導体基板
出願人
株式会社デンソー
,
トヨタ自動車株式会社
,
株式会社ミライズテクノロジーズ
代理人
弁理士法人 快友国際特許事務所
主分類
H01L
21/02 20060101AFI20250925BHJP(基本的電気素子)
要約
【課題】半導体基板のリサイクル技術を提供する。
【解決手段】ワイドギャップ化合物半導体の半導体基板のリサイクル方法は、表面に第1導電型の第1層が表出しているベース基板を準備する準備工程を備える。第1層の表面に、第1層とは異なる特性を有する第2層をエピタキシャル成長させる第1成長工程を備える。第2層の表面に第1導電型のデバイス層をエピタキシャル成長させる第2成長工程を備える。デバイス層にデバイス素子構造を形成するデバイス形成工程を備える。デバイス層の内部にデバイス層の表面に平行な剥離面を形成する剥離面形成工程を備える。剥離面によってデバイス層を分離する分離工程を備える。分離工程によって、第2層の表面に第1層が表出している構造を備えるベース基板が形成される。第1成長工程、第2成長工程、デバイス形成工程、剥離面形成工程、分離工程が、この順番で繰り返し実行可能に構成されている。
【選択図】図1
特許請求の範囲
【請求項1】
ワイドギャップ化合物半導体(GaN)の半導体基板のリサイクル方法であって、
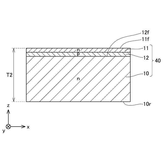
表面に第1導電型(n型)の第1層(11)が表出している構造を備えるベース基板(40)を準備する準備工程と、
前記第1層の表面に、前記第1層とは異なる特性を有する第2層(12)をエピタキシャル成長させる第1成長工程と、
前記第2層の表面に第1導電型のデバイス層(13)をエピタキシャル成長させる第2成長工程と、
前記デバイス層にデバイス素子構造(20)を形成するデバイス形成工程と、
前記デバイス層を、下側に位置する前記第1層と、上側に位置する上部層とに分離するように、前記デバイス層の内部に前記デバイス層の表面に平行な剥離面(SP)を形成する剥離面形成工程と、
前記剥離面によって前記デバイス層を分離する分離工程と、
を備え、
前記分離工程によって、前記第2層の表面に前記第1層が表出している構造を備える前記ベース基板が形成され、
前記第1成長工程、前記第2成長工程、前記デバイス形成工程、前記剥離面形成工程、前記分離工程が、この順番で繰り返し実行可能に構成されている、
半導体基板のリサイクル方法。
続きを表示(約 890 文字)
【請求項2】
前記第2層は、第2導電型(p型)の半導体層である、請求項1に記載の半導体基板のリサイクル方法。
【請求項3】
前記第2層は、第1導電型の半導体層であり、
前記第2層と前記第1層とは、前記第1導電型のキャリア濃度が異なっている、請求項1に記載の半導体基板のリサイクル方法。
【請求項4】
前記分離工程の後に、前記第2層の積層数を非破壊で測定する測定工程をさらに備える、請求項1-3の何れか1項に記載の半導体基板のリサイクル方法。
【請求項5】
前記測定工程は、前記ベース基板の表面に対して、ラマン分光分析またはX線反射率測定を行う工程を備えている、請求項4に記載の半導体基板のリサイクル方法。
【請求項6】
前記分離工程の後に、前記ベース基板の表面または裏面の少なくとも一方を研磨する工程をさらに備える、請求項1に記載の半導体基板のリサイクル方法。
【請求項7】
ワイドギャップ化合物半導体(GaN)のリサイクル半導体基板(1)であって、
第1導電型(n型)の支持基板(10)と、
前記支持基板の上方にk個積層されている第2層(12)であって、kは1以上の自然数である、前記第2層と、
上下方向に互いに隣接する前記第2層の間に配置されている、第1導電型の第1層(11)と、
最上層の前記第2層の上面に配置されている、第1導電型のデバイス層(13)と、
を備え、
前記第2層は、前記第1層とは異なる特性を有しており、
前記kの値は、リサイクル回数に対応している、
リサイクル半導体基板。
【請求項8】
前記第2層は、第2導電型(p型)の半導体層である、請求項7に記載のリサイクル半導体基板。
【請求項9】
前記第2層は、第1導電型の半導体層であり、
前記第2層と前記第1層とは、前記第1導電型のキャリア濃度が異なっている、請求項7に記載のリサイクル半導体基板。
発明の詳細な説明
【技術分野】
【0001】
本明細書では、半導体基板のリサイクル方法およびリサイクル半導体基板に関する技術を開示する。
続きを表示(約 2,200 文字)
【背景技術】
【0002】
窒化ガリウムなどのワイドギャップ半導体の半導体基板は、シリコン基板に比して高価である。この高価なワイドギャップ半導体基板のコスト低減手法として、デバイスを作成した半導体基板をベース基板とデバイス層に分離し、ベース基板を再利用する、リサイクルプロセスが提案されている。なお、関連する技術が、特許文献1に開示されている。
【先行技術文献】
【特許文献】
【0003】
特開2022-135625号公報
【発明の概要】
【発明が解決しようとする課題】
【0004】
基板リサイクルプロセスでは、リサイクル回数の上限を定めた運用が必要とされる場合がある。リサイクル回数が多くなると、基板やデバイスへの影響(例:基板の金属汚染、PN接合リークの増加、など)が無視できなくなる場合があるためである。しかし、リサイクル回数を管理する方法は、確立されていない。
【課題を解決するための手段】
【0005】
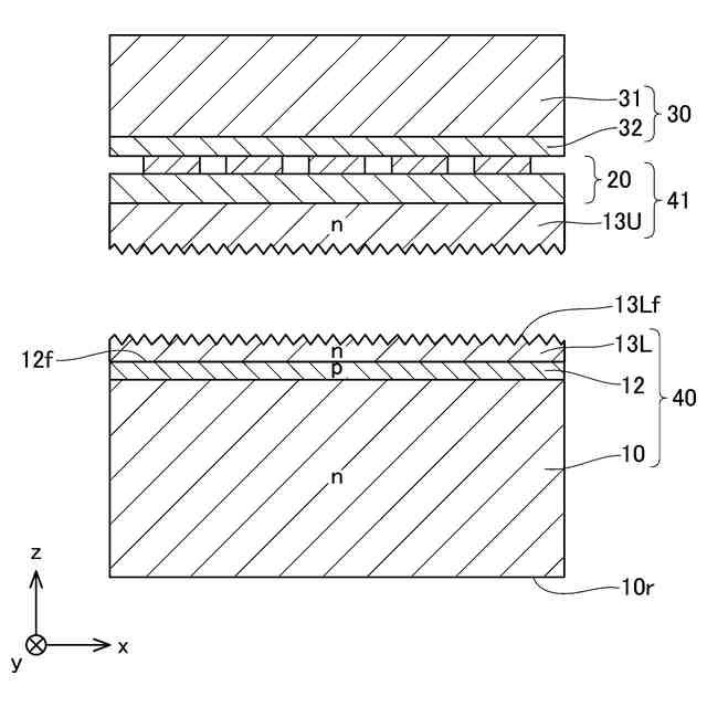
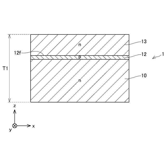
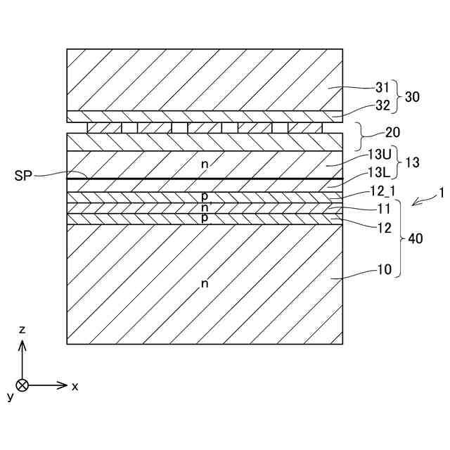
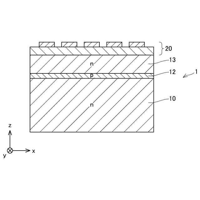
本明細書では、ワイドギャップ化合物半導体(GaN)の半導体基板のリサイクル方法を開示する。リサイクル方法は、表面に第1導電型(n型)の第1層(11)が表出している構造を備えるベース基板(40)を準備する準備工程を備える。リサイクル方法は、第1層の表面に、第1層とは異なる特性を有する第2層(12)をエピタキシャル成長させる第1成長工程を備える。リサイクル方法は、第2層の表面に第1導電型のデバイス層(13)をエピタキシャル成長させる第2成長工程を備える。リサイクル方法は、デバイス層にデバイス素子構造(20)を形成するデバイス形成工程を備える。リサイクル方法は、デバイス層を、下側に位置する第1層と、上側に位置する上部層とに分離するように、デバイス層の内部にデバイス層の表面に平行な剥離面(SP)を形成する剥離面形成工程を備える。リサイクル方法は、剥離面によってデバイス層を分離する分離工程を備える。分離工程によって、第2層の表面に第1層が表出している構造を備えるベース基板が形成される。第1成長工程、第2成長工程、デバイス形成工程、剥離面形成工程、分離工程が、この順番で繰り返し実行可能に構成されている。
【0006】
上記の構成によると、第1成長工程、第2成長工程、デバイス形成工程、剥離面形成工程、分離工程、をこの順番で繰り返すたびに、半導体基板をリサイクルすることができる。そして、第2層の間に第1層が配置されている積層構造を、リサイクルを行うたびに、ベース基板の表面に追加形成することができる。これにより、リサイクル回数が増加することに応じて、ベース基板の表面に配置されている第2層の層数を増加させることができる。従って、第2層の層数を測定することにより、リサイクル回数を管理することが可能となる。
【0007】
本明細書では、ワイドギャップ化合物半導体(GaN)のリサイクル半導体基板(1)を開示する。リサイクル半導体基板は、第1導電型(n型)の支持基板(10)を備える。リサイクル半導体基板は、支持基板の上方にk個積層されている第2層(12)を備える。kは1以上の自然数である。リサイクル半導体基板は、上下方向に互いに隣接する第2層の間に配置されている、第1導電型の第1層(11)を備える。リサイクル半導体基板は、最上層の第2層の上面に配置されている、第1導電型のデバイス層(13)を備える。第2層は、第1層とは異なる特性を有している。kの値は、リサイクル回数に対応している。
【0008】
本明細書のリサイクル半導体基板では、第2層の層数であるkの値を測定することで、リサイクル回数を管理することができる。
【図面の簡単な説明】
【0009】
半導体基板のリサイクル方法について説明するフローチャートである。
半導体基板のリサイクル方法について説明する断面概略図である。
半導体基板のリサイクル方法について説明する断面概略図である。
半導体基板のリサイクル方法について説明する断面概略図である。
半導体基板のリサイクル方法について説明する断面概略図である。
半導体基板のリサイクル方法について説明する断面概略図である。
半導体基板のリサイクル方法について説明する断面概略図である。
半導体基板のリサイクル方法について説明する断面概略図である。
半導体基板のリサイクル方法について説明する断面概略図である。
半導体基板のリサイクル方法について説明する断面概略図である。
【発明を実施するための形態】
【実施例】
【0010】
(半導体基板のリサイクル方法)
図1のフローチャートおよび図2~図10の断面概略図を参照して、半導体基板のリサイクル方法について説明する。なお以下において、ステップを「S」と略記することがある。また図2~図10では、半導体基板の表面に平行な方向を、xおよびy方向としている。また表面に垂直な方向を、z方向としている。また本実施例では、図2~図7を用いて、新品の支持基板10を用いてデバイスを作製する工程を説明する。また図8~図10を用いて、その後に1回目のリサイクル処理を行う工程について説明する。
(【0011】以降は省略されています)
この特許をJ-PlatPat(特許庁公式サイト)で参照する
関連特許
株式会社デンソー
車載器
5日前
株式会社デンソー
電子装置
今日
株式会社デンソー
ステータ
5日前
株式会社デンソーエレクトロニクス
発音装置
9日前
株式会社デンソー
電子装置
9日前
株式会社デンソー
ステータ
5日前
株式会社デンソー
ねじ部材
5日前
株式会社デンソー
レーダ装置
9日前
株式会社デンソー
農業用装置
1日前
株式会社デンソー
半導体装置
5日前
株式会社デンソー
ステータコア
12日前
株式会社デンソー
電力変換装置
5日前
株式会社デンソー
電気化学セル
9日前
株式会社デンソー
通信システム
9日前
株式会社デンソー
制御システム
12日前
株式会社デンソー
電子制御装置
9日前
株式会社デンソーエアクール
換気空調装置
6日前
株式会社デンソー
電子制御装置
5日前
株式会社デンソーテン
車載映像装置
5日前
株式会社デンソー
フィルタ回路
13日前
株式会社デンソー
電力変換装置
13日前
株式会社デンソー
電波吸収装置
9日前
株式会社デンソー
運転支援装置
今日
株式会社デンソー
衝突予測装置
今日
株式会社デンソー
電圧検出回路
1日前
株式会社デンソー
衝突予測装置
今日
株式会社デンソー
電力変換装置
1日前
株式会社デンソー
圧着ヘッド装置
5日前
株式会社デンソー
移動体制御装置
6日前
株式会社デンソー
画像符号化装置
7日前
株式会社デンソー
自己位置推定装置
5日前
株式会社デンソーウェーブ
光学読取システム
6日前
株式会社デンソートリム
エンジン制御装置
5日前
株式会社デンソーテン
電源制御システム
12日前
株式会社デンソーエレクトロニクス
車両用音出力装置
7日前
株式会社デンソーウェーブ
ロボットの操作装置
7日前
続きを見る
他の特許を見る