TOP
|
特許
|
意匠
|
商標
特許ウォッチ
Twitter
他の特許を見る
公開番号
2025143707
公報種別
公開特許公報(A)
公開日
2025-10-02
出願番号
2024043080
出願日
2024-03-19
発明の名称
画像形成装置
出願人
ブラザー工業株式会社
代理人
弁理士法人ネクスト
主分類
G03G
21/16 20060101AFI20250925BHJP(写真;映画;光波以外の波を使用する類似技術;電子写真;ホログラフイ)
要約
【課題】剛性が高くないスキャナフレームを用いた場合でも、水平方向の力に対する強度を向上させることが可能となる技術を提供する。
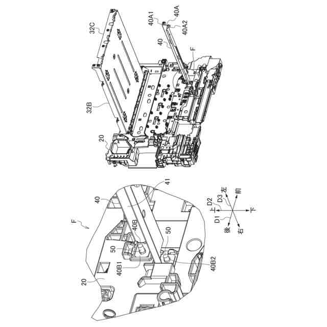
【解決手段】プリンタ1は、本体筐体の相対向する側壁を形成する一対の本体フレーム10,20と、一対の本体フレーム10,20のうちの一方の左側本体フレーム10と他方の右側本体フレーム20との間に懸架されたスキャナフレーム30であって、感光体ドラムを露光するための露光装置を設置するスキャナフレーム30と、を備えている。そして、左側壁面プレート32C、第1補助プレート32AA1及び第3補助プレート32BA1が、左側本体フレーム10にねじ止めされ、右側壁面プレート32D、第2補助プレート32AB1及び第4補助プレート32BB1が、右側本体フレーム20にねじ止めされることで、スキャナフレーム30は一対の本体フレーム10,20の間に懸架される。
【選択図】 図2
特許請求の範囲
【請求項1】
本体筐体の相対向する側壁を形成する一対の本体フレームと、
前記一対の本体フレームのうちの一方の本体フレームと他方の本体フレームとの間に懸架されたスキャナフレームであって、感光体ドラムを露光するための露光装置を設置するスキャナフレームと、
を備え、
前記スキャナフレームは、
前記一方の本体フレームと前記他方の本体フレームとの間において、水平方向に延びる底面プレートであって、前記一方の本体フレーム側に位置する第1端部と、前記他方の本体フレーム側に位置する第2端部と、前記第1端部及び前記第2端部に連接された第3端部と、前記第3端部に対向する第4端部と、を有する底面プレートと、
前記底面プレートの前記第1端部から垂直方向に立設された第1壁面プレートと、
前記底面プレートの前記第2端部から垂直方向に立設された第2壁面プレートと、
前記底面プレートの前記第3端部から垂直方向に立設された第3壁面プレートと、
前記底面プレートの前記第4端部から垂直方向に立設された第4壁面プレートと、
前記第3壁面プレートの前記一方の本体フレーム側端部から前記第1壁面プレートと平行になるように折り曲げられて形成された第1補助プレートと、
前記第3壁面プレートの前記他方の本体フレーム側端部から前記第2壁面プレートと平行になるように折り曲げられて形成された第2補助プレートと、
前記第4壁面プレートの前記一方の本体フレーム側端部から前記第1壁面プレートと平行になるように折り曲げられて形成された第3補助プレートと、
前記第4壁面プレートの前記他方の本体フレーム側端部から前記第2壁面プレートと平行になるように折り曲げられて形成された第4補助プレートと、
を有し、
前記第1壁面プレート、前記第1補助プレート及び前記第3補助プレートが、前記一方の本体フレームにねじ止めされ、
前記第2壁面プレート、前記第2補助プレート及び前記第4補助プレートが、前記他方の本体フレームにねじ止めされる、
ことを特徴とする画像形成装置。
続きを表示(約 830 文字)
【請求項2】
前記第1補助プレートは、前記第1壁面プレート側に折り曲げられ、
前記第2補助プレートは、前記第2壁面プレート側に折り曲げられる、
ことを特徴とする請求項1に記載の画像形成装置。
【請求項3】
前記第3補助プレートは、前記第1壁面プレート側に折り曲げられ、
前記第4補助プレートは、前記第2壁面プレート側に折り曲げられる、
ことを特徴とする請求項1に記載の画像形成装置。
【請求項4】
前記第1壁面プレート、前記第1補助プレート及び前記第3補助プレートと前記一方の本体フレームとのねじ止めは、前記一方の本体フレームの外側からなされ、
前記第2壁面プレート、前記第2補助プレート及び前記第4補助プレートと前記他方の本体フレームとのねじ止めは、前記他方の本体フレームの外側からなされる、
ことを特徴とする請求項1に記載の画像形成装置。
【請求項5】
前記一方の本体フレームと前記他方の本体フレームとの間に懸架された補強フレーム、
をさらに備え、
前記補強フレームは、
前記一方の本体フレームと前記他方の本体フレームとの間に延びる補強フレーム本体と、
前記補強フレーム本体の前記一方の本体フレーム側端部から前記一方の本体フレームと平行になるように折り曲げられて形成された第5補助プレートと、
前記補強フレーム本体の前記他方の本体フレーム側端部から前記他方の本体フレームと平行になるように折り曲げられて形成された第6補助プレートと、
を有し、
前記第5補助プレートは、前記一方の本体フレームと、前記一方の本体フレームの外側からねじ止めされ、
前記第6補助プレートは、前記他方の本体フレームと、前記他方の本体フレームの外側からねじ止めされる、
ことを特徴とする請求項4に記載の画像形成装置。
発明の詳細な説明
【技術分野】
【0001】
本願は、画像形成装置の筐体内に設置されるスキャナフレームを取り付ける技術に関するものである。
続きを表示(約 1,900 文字)
【背景技術】
【0002】
特許文献1には、光学箱のふた部材をビスで画像形成装置の本体フレームに上から組み付けるようにした画像形成装置が記載されている。
【先行技術文献】
【特許文献】
【0003】
特開平11-34392号公報
【発明の概要】
【発明が解決しようとする課題】
【0004】
特許文献1に記載の画像形成装置では、光学箱のふた部材の剛性が高い場合は良いが、コスト削減等の理由で剛性の低い蓋部材を用いた場合には、ふた部材を上から本体フレームに固定しているため、本体フレーム全体として水平方向の力に対する強度が弱いという問題点がある。
【0005】
本願は、剛性が高くないスキャナフレームを用いた場合でも、水平方向の力に対する強度を向上させることが可能となる技術を提供することを目的とする。
【課題を解決するための手段】
【0006】
上記目的を達成するため、本願の画像形成装置は、本体筐体の相対向する側壁を形成する一対の本体フレームと、一対の本体フレームのうちの一方の本体フレームと他方の本体フレームとの間に懸架されたスキャナフレームであって、感光体ドラムを露光するための露光装置を設置するスキャナフレームと、を備え、スキャナフレームは、一方の本体フレームと他方の本体フレームとの間において、水平方向に延びる底面プレートであって、一方の本体フレーム側に位置する第1端部と、他方の本体フレーム側に位置する第2端部と、第1端部及び第2端部に連接された第3端部と、第3端部に対向する第4端部と、を有する底面プレートと、底面プレートの第1端部から垂直方向に立設された第1壁面プレートと、底面プレートの第2端部から垂直方向に立設された第2壁面プレートと、底面プレートの第3端部から垂直方向に立設された第3壁面プレートと、底面プレートの第4端部から垂直方向に立設された第4壁面プレートと、第3壁面プレートの一方の本体フレーム側端部から第1壁面プレートと平行になるように折り曲げられて形成された第1補助プレートと、第3壁面プレートの他方の本体フレーム側端部から第2壁面プレートと平行になるように折り曲げられて形成された第2補助プレートと、第4壁面プレートの一方の本体フレーム側端部から第1壁面プレートと平行になるように折り曲げられて形成された第3補助プレートと、第4壁面プレートの他方の本体フレーム側端部から第2壁面プレートと平行になるように折り曲げられて形成された第4補助プレートと、を有し、第1壁面プレート、第1補助プレート及び第3補助プレートが、一方の本体フレームにねじ止めされ、第2壁面プレート、第2補助プレート及び第4補助プレートが、他方の本体フレームにねじ止めされる、ことを特徴とする。
【0007】
本願の画像形成装置では、第1壁面プレート、第1補助プレート及び第3補助プレートが、一方の本体フレームにねじ止めされ、第2壁面プレート、第2補助プレート及び第4補助プレートが、他方の本体フレームにねじ止めされるので、画像形成装置全体を水平方向の力に対して強固にすることができる。したがって、剛性が高くないスキャナフレームを用いた場合でも、水平方向の力に対する強度を向上させることが可能となる。
【0008】
また、第1補助プレートは、第1壁面プレート側に折り曲げられ、第2補助プレートは、第2壁面プレート側に折り曲げられる、ことを特徴とする。これにより、スキャナフレームの取付位置をコンパクトにまとめることができる。
【0009】
また、第3補助プレートは、第1壁面プレート側に折り曲げられ、第4補助プレートは、第2壁面プレート側に折り曲げられる、ことを特徴とする。これにより、スキャナフレームの取付位置をコンパクトにまとめることができる。
【0010】
また、第1壁面プレート、第1補助プレート及び第3補助プレートと一方の本体フレームとのねじ止めは、一方の本体フレームの外側からなされ、第2壁面プレート、第2補助プレート及び第4補助プレートと他方の本体フレームとのねじ止めは、他方の本体フレームの外側からなされる、ことを特徴とする。このようにねじ止めは同じ方向からなされるので、スキャナフレームを一対の本体フレームに取り付ける際の取付作業の作業効率を高めることができる。
(【0011】以降は省略されています)
この特許をJ-PlatPat(特許庁公式サイト)で参照する
関連特許
ブラザー工業株式会社
ホルダ
27日前
ブラザー工業株式会社
空調機
28日前
ブラザー工業株式会社
ミシン
27日前
ブラザー工業株式会社
ミシン
27日前
ブラザー工業株式会社
印刷媒体
27日前
ブラザー工業株式会社
結紮装置
28日前
ブラザー工業株式会社
印刷媒体
27日前
ブラザー工業株式会社
印刷媒体
27日前
ブラザー工業株式会社
電子機器
2日前
ブラザー工業株式会社
塗工装置
27日前
ブラザー工業株式会社
塗布装置
27日前
ブラザー工業株式会社
塗工装置
27日前
ブラザー工業株式会社
塗工装置
27日前
ブラザー工業株式会社
スキャナ
23日前
ブラザー工業株式会社
回収装置
27日前
ブラザー工業株式会社
結紮装置
28日前
ブラザー工業株式会社
スキャナ
23日前
ブラザー工業株式会社
印刷装置
8日前
ブラザー工業株式会社
印刷装置
20日前
ブラザー工業株式会社
画像形成装置
28日前
ブラザー工業株式会社
画像形成装置
7日前
ブラザー工業株式会社
画像形成装置
7日前
ブラザー工業株式会社
画像形成装置
7日前
ブラザー工業株式会社
画像形成装置
27日前
ブラザー工業株式会社
画像形成装置
27日前
ブラザー工業株式会社
画像形成装置
27日前
ブラザー工業株式会社
画像形成装置
7日前
ブラザー工業株式会社
画像形成装置
27日前
ブラザー工業株式会社
画像形成装置
27日前
ブラザー工業株式会社
画像形成装置
27日前
ブラザー工業株式会社
画像形成装置
27日前
ブラザー工業株式会社
静電塗工装置
27日前
ブラザー工業株式会社
静電塗工装置
27日前
ブラザー工業株式会社
画像形成装置
28日前
ブラザー工業株式会社
画像形成装置
23日前
ブラザー工業株式会社
画像形成装置
23日前
続きを見る
他の特許を見る