TOP
|
特許
|
意匠
|
商標
特許ウォッチ
Twitter
他の特許を見る
10個以上の画像は省略されています。
公開番号
2025142624
公報種別
公開特許公報(A)
公開日
2025-10-01
出願番号
2024042084
出願日
2024-03-18
発明の名称
電力変換装置
出願人
三菱電機モビリティ株式会社
代理人
弁理士法人ぱるも特許事務所
主分類
H02M
7/48 20070101AFI20250924BHJP(電力の発電,変換,配電)
要約
【課題】制御基板の耐振性向上が可能であり、且つ小型化が可能な電力変換装置を提供する。
【解決手段】
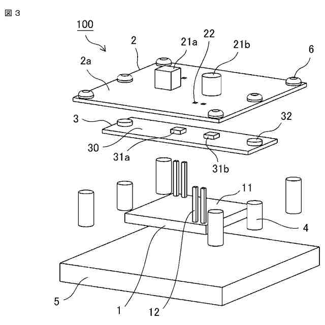
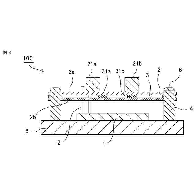
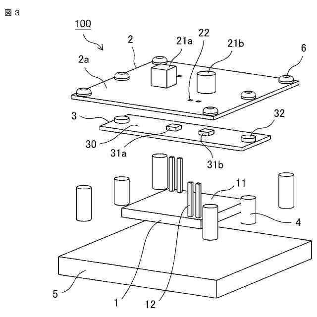
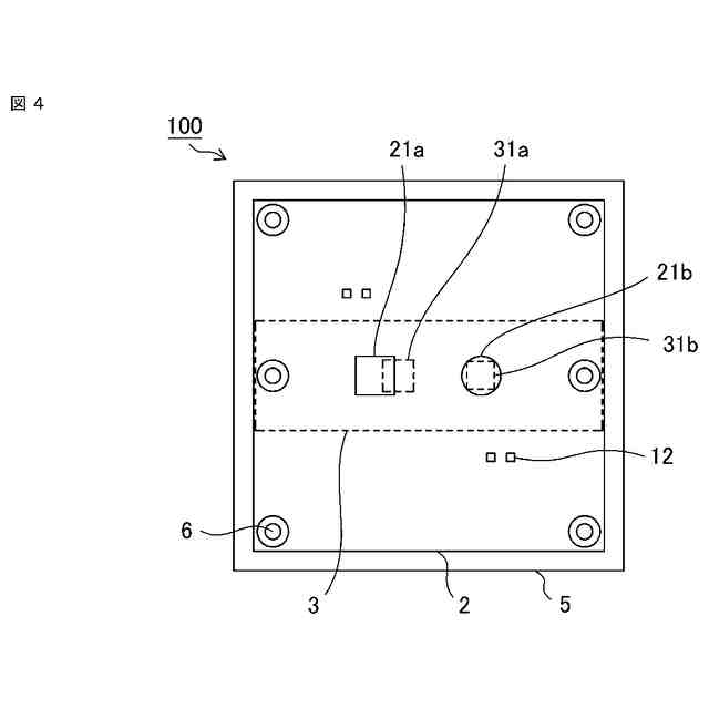
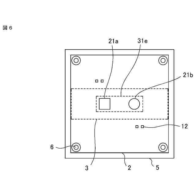
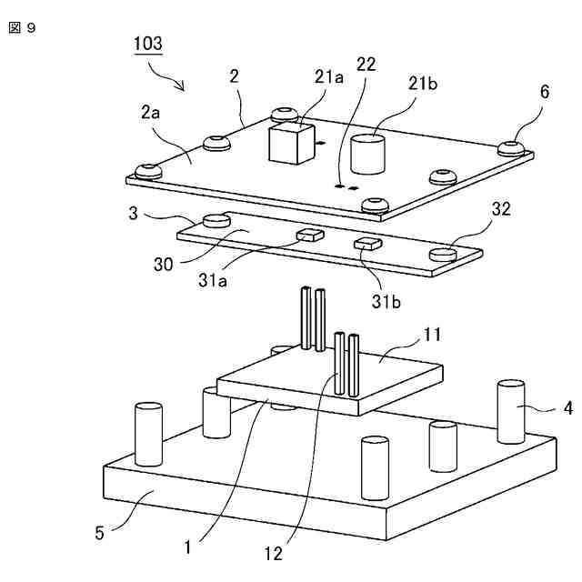
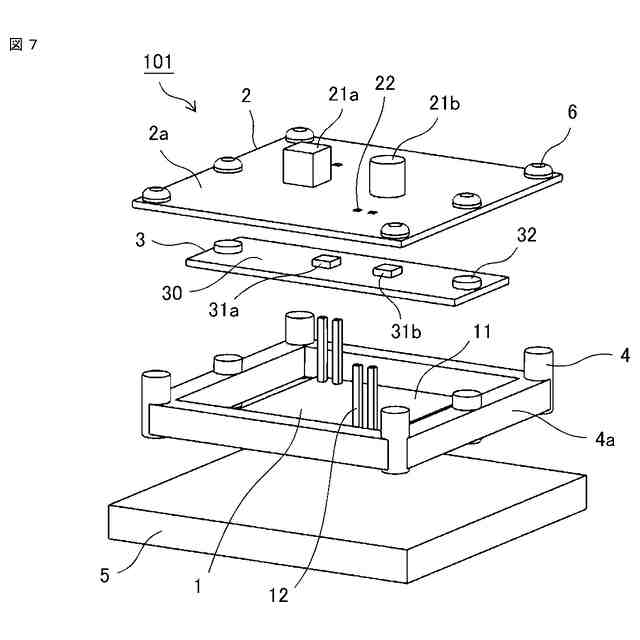
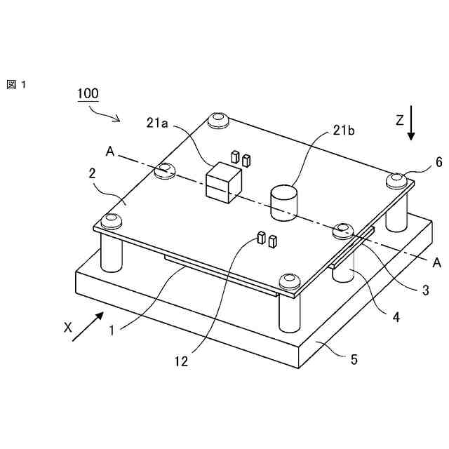
電力変換装置100において、制御基板2を支持する支持板3の基板支持部31は、制御基板2の部品実装面2aの法線方向に見て、特定電子部品21の少なくとも一部と重なるように配置されている。これにより、特定電子部品21の振動を効果的に低減させることができ、特定電子部品21の破損を防止することができる。また、支持板3が絶縁体であるため、制御基板2、電子部品、及び半導体モジュール1の接続端子12等との絶縁距離が不要であり、配置の自由度が高く、面積の確保が容易である。これにより、制御基板2の剛性及び耐振性を向上させることができ、電力変換装置100の小型化が図られる。
【選択図】図3
特許請求の範囲
【請求項1】
半導体スイッチング素子を有する半導体モジュールと、
前記半導体モジュールの動作を制御する電子回路が配置された制御基板と、
前記制御基板の一方の面に実装された電子部品と、
前記制御基板の他方の面に対向して配置された絶縁体の支持板と、を備え、
前記支持板は、前記制御基板の前記他方の面の側に突出し前記他方の面を支持する基板支持部を有し、
前記基板支持部は、前記制御基板の前記一方の面の法線方向に見て、前記電子部品の少なくとも一部と重なるように配置されていることを特徴とする電力変換装置。
続きを表示(約 920 文字)
【請求項2】
前記制御基板と前記基板支持部との間に接着剤が配置されていることを特徴とする請求項1記載の電力変換装置。
【請求項3】
前記制御基板と前記基板支持部との間に粘弾性体が配置されていることを特徴とする請求項1記載の電力変換装置。
【請求項4】
前記基板支持部は、前記制御基板と前記支持板との間に配置された粘弾性体であることを特徴とする請求項1記載の電力変換装置。
【請求項5】
前記半導体モジュールは、前記制御基板の前記一方の面の法線方向に延出している接続端子を有し、
前記制御基板は、前記接続端子が挿入されたスルーホールを有し、
前記支持板は、前記制御基板の前記一方の面の法線方向に見て前記スルーホールと重なる位置に、前記接続端子が貫通した誘い込み孔を有することを特徴とする請求項1から請求項4のいずれか一項に記載の電力変換装置。
【請求項6】
前記支持板の振動における固有値の1次モードの周波数は、前記制御基板の振動における固有値の1次モードの周波数よりも高いことを特徴とする請求項1から請求項4のいずれか一項に記載の電力変換装置。
【請求項7】
前記制御基板の前記一方の面に、複数の特定の前記電子部品が間隔をあけて配置されており、前記複数の特定の電子部品は、大きさまたは重量が予め設定された値以上のものであり、
前記支持板には、前記制御基板の前記一方の面の法線方向に見て、前記複数の特定の電子部品の各々と重なる複数の前記基板支持部が配置されていることを特徴とする請求項1から請求項4のいずれか一項に記載の電力変換装置。
【請求項8】
前記制御基板の前記一方の面に、複数の特定の前記電子部品が間隔をあけて配置されており、前記複数の特定の電子部品は、大きさまたは重量が予め設定された値以上のものであり、
前記支持板には、前記制御基板の前記一方の面の法線方向に見て、前記複数の特定の電子部品と重なる前記基板支持部が配置されていることを特徴とする請求項1から請求項4のいずれか一項に記載の電力変換装置。
発明の詳細な説明
【技術分野】
【0001】
本開示は、電力変換装置に関するものである。
続きを表示(約 1,800 文字)
【背景技術】
【0002】
環境性能に優れた電気自動車(BEV)、ハイブリット自動車(HEV)及びプラグインハイブリット自動車(PHEV)等の自動車には、動力源に電動機が用いられている。これらの車両にはインバータを含む電力変換装置が搭載され、バッテリから供給される直流電流を交流電流に変換し、電動機(三相交流モータ)を駆動させている。
【0003】
インバータは、直流電流を交流電流に変換する電力変換用の半導体スイッチング素子を搭載した半導体モジュール、半導体モジュールの駆動回路、それらを制御する制御回路、及び電流平滑化用の平滑コンデンサ等を備えている。近年、電動機の高出力化に伴い電力変換装置の高出力化が求められ、半導体モジュールのサイズは大型化する傾向にあり、車両への搭載性の観点から電力変換装置の小型化が重要な課題となっている。
【0004】
また、電力変換装置は、電動機またはトランスミッションに搭載あるいは一体化される傾向にあり、車両運転時には路面からの振動だけでなく、エンジン、電動機、及びトランスミッションの動作による振動も受けるため、高い耐振性が求められる。特に、制御基板上に実装されているトランス、電解コンデンサ等の比較的大きい電子部品は、筐体及び制御基板にて増幅した振動による破損が発生しやすく、制御基板の耐振性向上が課題となっている。
【0005】
電力変換装置の小型化または耐振性向上に関する先行例として、特許文献1には、駆動回路と制御回路が配置された回路基板を、バスバアセンブリ等の支持構造を介して高剛性のカバーに固定した電力変換装置が開示されている。また、特許文献2には、電子部品が実装された電子基板とこれを支持する端子台とを、共振時の電子基板の振動モードが電子部品における断線の発生を抑止可能な振動モードとなるように締結した電力変換装置が開示されている。また、特許文献3には、インバータモジュールの上面に設けられたCPU基板の下面とパワー系金属基板との間に、振動吸収用の弾性樹脂接着剤層が設けられたインバータ装置が開示されている。
【先行技術文献】
【特許文献】
【0006】
特許第5506749号公報
特許第6657457号公報
特許第5412098号公報
【発明の概要】
【発明が解決しようとする課題】
【0007】
特許文献1では、回路基板の下部に支持構造としてのバスバアセンブリが配置されているが、支持構造が導電体である場合、周囲との絶縁距離が必要であるため配置の自由度が低く、耐振性向上と小型化との両立が難しい。すなわち、剛性を確保するために支持構造の面積を大きくすると、周辺との絶縁距離を確保するために電力変換装置が大型化し、周辺との絶縁距離を確保するために支持構造の面積を小さくすると、剛性が低下し高い耐振性が得られない。また、車両の振動の負荷に耐え得る機械的強度を得るために多数の支持点を設けると、回路基板及び電力変換装置が大型化するという課題がある。
【0008】
特許文献2では、電子部品の断線が発生する振動モードを事前に特定する必要があり、そのための労力を要する。また、振動モードは当接箇所の寸法のばらつきによって変化するため、断線の発生を抑止可能な振動モードは、問題となる振動モードに対し周波数を十分に離す必要がある。このため、電子基板と端子台との締結ピッチを狭くして締結箇所を増やす必要があり、電子基板及び電力変換装置が大型化するという課題がある。
【0009】
また、特許文献3では、CPU基板とパワー系金属基板との間の距離が大きくなると接着剤の量が多くなり、硬化時間を要するため工作性が低下するという課題がある。また、接着剤により分解作業が煩雑となり、リビルド性が低下する。さらに、CPU基板の裏面側の電子部品に接着剤が接触した場合、温度変化時にCPU基板と接着剤の線膨張係数の差により電子部品に熱応力が掛かり、電子部品が破損する恐れがある。
【0010】
本開示は、上記のような課題を解決するための技術を開示するものであり、制御基板の耐振性向上が可能であり、且つ小型化が可能な電力変換装置を提供することを目的とする。
【課題を解決するための手段】
(【0011】以降は省略されています)
この特許をJ-PlatPat(特許庁公式サイト)で参照する
関連特許
個人
バッテリ内蔵直流電源
20日前
株式会社FUJI
制御盤
10日前
オムロン株式会社
電源回路
14日前
西部電機株式会社
充電装置
2日前
西部電機株式会社
充電装置
2日前
日本精機株式会社
サージ保護回路
2日前
オムロン株式会社
電源回路
14日前
オムロン株式会社
電源回路
14日前
トヨタ自動車株式会社
回転子
6日前
個人
連続ガウス加速器形磁力増幅装置
2日前
大豊工業株式会社
モータ
20日前
ミサワホーム株式会社
居住設備
10日前
東京応化工業株式会社
発電装置
14日前
カヤバ株式会社
筒型リニアモータ
1日前
株式会社リコー
拡張アンテナ装置
13日前
東京瓦斯株式会社
通信装置
1日前
株式会社ミツバ
ブラシレスモータ
1日前
ユタカ電業株式会社
ケーブルダクト
10日前
ニチコン株式会社
AC入力検出回路
6日前
トヨタ自動車株式会社
ロータ
8日前
日産自動車株式会社
ステータ
7日前
株式会社ダイヘン
電力システム
2日前
株式会社デンソー
電力変換装置
6日前
株式会社ダイヘン
電力変換装置
2日前
東京瓦斯株式会社
給電システム
1日前
株式会社ミツバ
巻線装置
13日前
株式会社正興電機製作所
地絡確認装置
13日前
株式会社大林組
可搬式充電設備
7日前
NTN株式会社
モータユニット
10日前
株式会社アイシン
回転電機
2日前
株式会社アイシン
回転電機
6日前
株式会社アイシン
駆動装置
8日前
大和ハウス工業株式会社
システム
1日前
カヤバ株式会社
アクチュエータユニット
20日前
志幸技研工業株式会社
ケーブル布設工法
20日前
株式会社アイシン
回転電機
2日前
続きを見る
他の特許を見る