TOP
|
特許
|
意匠
|
商標
特許ウォッチ
Twitter
他の特許を見る
公開番号
2025141452
公報種別
公開特許公報(A)
公開日
2025-09-29
出願番号
2024041393
出願日
2024-03-15
発明の名称
熱交換器及び冷凍サイクル装置
出願人
日本キヤリア株式会社
代理人
弁理士法人東京国際特許事務所
主分類
F28F
9/02 20060101AFI20250919BHJP(熱交換一般)
要約
【課題】ボルトとナットを使用しないでする積層型ヘッダの複数の板状体のろう付けで、複数の板状体間からの冷媒漏れを抑制することができる熱交換器及び冷凍サイクル装置を提供することである。
【解決手段】実施形態に係る熱交換器は、複数の板状体を積層して成る積層型ヘッダを備える。当該記積層型ヘッダは、複数の板状体の側面に、複数の板状体のうち一端の板状体から他端の板状体までに複数の板状体の積層方向に凹部が延設されて成る。また、当該積層型ヘッダは、凹部に、複数の板状体と同材質であって、複数の板状体どうしに面圧がかかるように複数の板状体を固定するための固定用部品が嵌め込まれて成る。
【選択図】 図3
特許請求の範囲
【請求項1】
複数の板状体を積層して成る積層型ヘッダを備え、
前記積層型ヘッダは、
前記複数の板状体の側面に、前記複数の板状体のうち一端の板状体から他端の板状体までに前記複数の板状体の積層方向に凹部が延設されて成り、
前記凹部に、前記複数の板状体と同材質であって、前記複数の板状体どうしに面圧がかかるように前記複数の板状体を固定するための固定用部品が嵌め込まれて成る、
熱交換器。
続きを表示(約 460 文字)
【請求項2】
前記固定用部品が、前記複数の板状体のうち両端に位置する端部板状体の外側面にそれぞれ接する2個の対向板と、前記2個の対向板を繋ぎ前記凹部に係合する連結板とを備えるH字形状部品である、
請求項1に記載の熱交換器。
【請求項3】
前記固定用部品が、前記複数の板状体の前記凹部に嵌め込まれた状態で前記複数の板状体の側面を覆う形状を備える、
請求項1に記載の熱交換器。
【請求項4】
前記固定用部品には耐食加工が施されている、
請求項3に記載の熱交換器。
【請求項5】
前記凹部が、前記複数の板状体の、対向する2側面のうち1側面に設けられる第1の凹部と他の1側面に設けられる第2の凹部であり、
前記第1の凹部と前記第2の凹部とは、前記複数の板状体の長手方向の位置がずれている、
請求項1に記載の熱交換器。
【請求項6】
請求項1乃至4のいずれか1項に記載の前記熱交換器、
を備える冷凍サイクル装置。
発明の詳細な説明
【技術分野】
【0001】
本発明の実施形態は、熱交換器及び冷凍サイクル装置に関する。
続きを表示(約 1,300 文字)
【背景技術】
【0002】
従来、熱交換器の各伝熱管に対して流体を分配して供給する分配器(積層型ヘッダ)が知られている。この分配器は、1つの入口流路に対して複数の出口流路に分岐する分岐流路を形成する複数の板状体を積層することによって、熱交換器の各伝熱管に流体を分配して供給するものである(例えば、特許文献1参照)。
【0003】
積層型ヘッダを構成する複数の板状体は、加熱炉でろう付けされている。加熱炉でろう付けする際は、ろう付け前の複数の板状体同士の仮組みが重要となる。仮組みがないと、加熱炉内で複数の板状体がばらばらに脱落してしまい、クリアランスが大きいと接合面にろう材フィレットが形成されずに冷媒漏れの原因となる。そのため、例えば、積層型ヘッダにおいてろう付け前の複数の板状体同士の仮組みのため、ボルト(複数の板状体のうち一端の板状体から他端の板状体まで積層方向に延びる貫通孔に軸を備えるボルト)とナットが用いられる方法がある。
【先行技術文献】
【特許文献】
【0004】
国際公開第2021/130834号
【発明の概要】
【発明が解決しようとする課題】
【0005】
ボルトとナットを用いた固定方法では、ボルトの材質により異種金属接触することでガルバニック腐食が起きる可能性がある。また、部品点数が多くなることで作業工数が増加し、量産向きではない。
【0006】
本発明が解決しようとする課題は、ボルトとナットを使用しないでする積層型ヘッダの複数の板状体のろう付けで、複数の板状体間からの冷媒漏れを抑制することができる熱交換器及び冷凍サイクル装置を提供することである。
【課題を解決するための手段】
【0007】
実施形態に係る熱交換器は、複数の板状体を積層して成る積層型ヘッダを備える。当該記積層型ヘッダは、複数の板状体の側面に、複数の板状体のうち一端の板状体から他端の板状体までに複数の板状体の積層方向に凹部が延設されて成る。また、当該積層型ヘッダは、凹部に、複数の板状体と同材質であって、複数の板状体どうしに面圧がかかるように複数の板状体を固定するための固定用部品が嵌め込まれて成る。
【図面の簡単な説明】
【0008】
実施形態に係る冷凍サイクル装置の概略構成図。
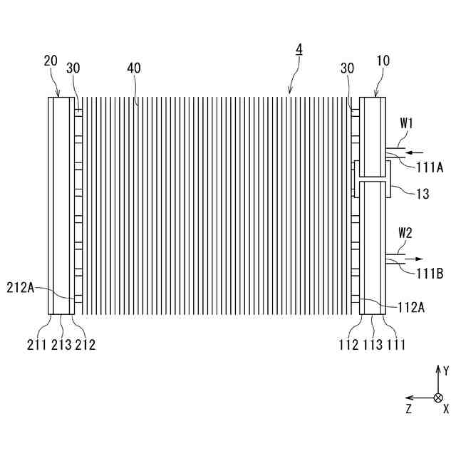
実施形態に係る熱交換器の構成を示す概略図。
実施形態に係る熱交換器の第1ヘッダの第1例を示す外観図。
実施形態に係る熱交換器の第1ヘッダの第2例を示す外観図。
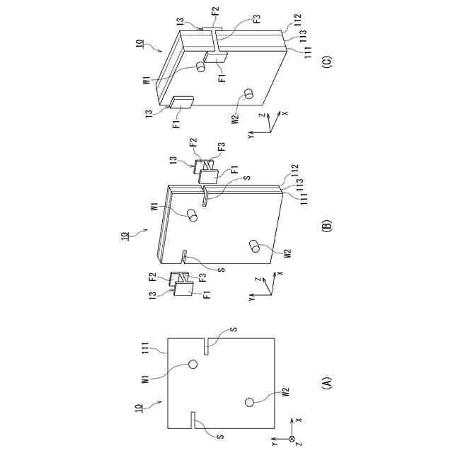
実施形態に係る熱交換器の第1ヘッダの一例を示す分解斜視図。
実施形態に係る熱交換器の第2ヘッダの一例を示す分解斜視図。
【発明を実施するための形態】
【0009】
以下、図面を参照しながら、熱交換器及び冷凍サイクル装置の実施形態について詳細に説明する。
【0010】
図1は、実施形態に係る冷凍サイクル装置の概略構成図である。
(【0011】以降は省略されています)
この特許をJ-PlatPat(特許庁公式サイト)で参照する
関連特許
個人
排熱回収装置
4か月前
個人
冷却装置の蒸発器
1か月前
個人
放射冷却装置
1か月前
個人
熱交換装置
7か月前
個人
熱交換装置
2か月前
ホーコス株式会社
熱交換ユニット
10か月前
三恵技研工業株式会社
熱交換器
8か月前
三恵技研工業株式会社
熱交換器
8か月前
アンリツ株式会社
検査装置
7か月前
株式会社パイオラックス
熱交換器
10か月前
アンリツ株式会社
検査装置
7か月前
日産自動車株式会社
熱交換器
9か月前
株式会社ティラド
ラジエータ
10か月前
新光電気工業株式会社
蓄熱装置
3か月前
株式会社アイシン
水噴射冷却システム
10か月前
株式会社デンソー
熱交換器
6か月前
中外炉工業株式会社
クーリングチューブ
3日前
株式会社デンソー
熱交換器
5か月前
日新電機株式会社
化学蓄熱反応器
11か月前
株式会社ティラド
複合型熱交換器
14日前
サンデン株式会社
熱交換器
8か月前
株式会社デンソー
熱交換器
6か月前
サンデン株式会社
熱交換器
8か月前
株式会社アイシン
熱交換器
6か月前
株式会社アイシン
熱交換器
22日前
サンデン株式会社
熱交換器
10か月前
株式会社デンソー
熱交換器
7か月前
サンデン株式会社
熱交換器
10か月前
サンデン株式会社
熱交換器
10か月前
栗田工業株式会社
冷却塔システム
10か月前
ZACROS株式会社
熱交換装置
8か月前
栗田工業株式会社
冷却塔システム
5か月前
古河電気工業株式会社
ヒートパイプ
10か月前
TPR株式会社
熱電発電機能付き熱交換器
9か月前
株式会社デンソー
熱交換装置
1か月前
中部抵抗器株式会社
密閉構造体用冷却装置
11か月前
続きを見る
他の特許を見る