TOP
|
特許
|
意匠
|
商標
特許ウォッチ
Twitter
他の特許を見る
10個以上の画像は省略されています。
公開番号
2025141263
公報種別
公開特許公報(A)
公開日
2025-09-29
出願番号
2024041126
出願日
2024-03-15
発明の名称
鋼管の継手構造、及び鋼管杭
出願人
株式会社三誠
代理人
個人
,
個人
,
個人
主分類
E02D
5/24 20060101AFI20250919BHJP(水工;基礎;土砂の移送)
要約
【課題】連結筒部同士の連結作業を容易化する。
【解決手段】
キー部材20は、各連結穴114、124、126、134の内部に位置するキー中間部21a、キー中間部21aよりも内径側のキー内径端部21b、及び外径側のキー外径端部21cを備えたキー本体21と、キー内径端部21bにおいて出没自在に支持され、キー内径端部21bが各連結穴内に位置している間はキー本体21の径方向移動を許容し、キー内径端部21bが下側連結筒部122、134の内側空所に移動すると突出状態になってキー本体21の外径方向への移動を規制する内径側ストッパー22と、キー外径端部21cに対して着脱自在に固定され、固定状態ではキー本体21の内径方向への移動を規制し、且つ取り外し状態ではキー本体21の内径方向への移動を許容する外径側ストッパー23と、を備えている。
【選択図】図1
特許請求の範囲
【請求項1】
端部に外側連結筒部を備えた第1鋼管と、端部に内側連結筒部を備えた第2鋼管と、前記外側連結筒部内に前記内側連結筒部を挿入した状態で両連結筒部間を連結するキー部材と、を備えた鋼管の継手構造であって、
前記外側連結筒部は、複数の外筒側連結穴を備え、
前記内側連結筒部は、前記各外筒側連結穴と連通可能な複数の内筒側連結穴を備え、
前記キー部材は、
連通状態にある前記各連結穴内に挿通完了された時に、前記各連結穴の内部に位置するキー中間部、前記キー中間部よりも内径側に位置するキー内径端部、及び前記キー中間部よりも外径側に位置するキー外径端部を備えたキー本体と、
前記キー内径端部により出没自在に支持され、前記キー内径端部が前記各連結穴内に位置している間は前記キー本体の径方向移動を許容する退避状態にあり、前記キー内径端部が前記各連結穴内から径方向へ離脱して前記内側連結筒部の内側空所に移動すると突出状態になって前記キー本体の外径方向への移動を規制する内径側ストッパーと、を備えたことを特徴とする鋼管の継手構造。
続きを表示(約 1,000 文字)
【請求項2】
前記キー内径端部には、軸方向に沿って延びる貫通孔が設けられ、
前記内径側ストッパーは、前記貫通孔内に挿通される軸部と、前記軸部の一端に設けられて前記貫通孔に挿通されない形状を有した頭部と、を備え、
前記軸部の他端部は、前記キー内径端部が前記各連結穴内に位置している間は前記貫通孔内に退避して該キー部材の径方向移動を許容し、前記キー内径端部が前記内側連結筒部の前記内側空所に移動すると前記キー内径端部の外周面よりも他端側へ突出して前記キー本体の外径方向への移動を規制することを特徴とする請求項1に記載の鋼管の継手構造。
【請求項3】
前記キー内径端部の外周面には有底の収容凹所が設けられ、
前記内径側ストッパーは、前記収容凹所内に出没自在に収容される係止ピンと、前記係止ピンを前記収容凹所の開口部から突出させる方向へ付勢するバネと、を備え、
前記係止ピンは、前記キー内径端部が前記各連結穴内に位置している間は前記収容凹所内に退避して前記キー部材の径方向移動を許容し、前記キー内径端部が前記内側連結筒部の内側空所に移動すると、前記バネによって前記収容凹所の開口部から突出して前記キー本体の外径方向への移動を規制することを特徴とする請求項1に記載の鋼管の継手構造。
【請求項4】
前記キー外径端部に対して着脱自在に固定され、固定状態では前記キー本体の内径方向への移動を規制し、取り外し状態では前記キー本体の内径方向への移動を許容する外径側ストッパーを備えたことを特徴とする請求項1に記載の鋼管の継手構造。
【請求項5】
前記キー外径端部の外周面には、雌ネジが設けられ、
前記外径側ストッパーは、前記雌ネジに対して着脱自在に固定される雄ネジによって構成されていることを特徴とする請求項4に記載の鋼管杭の継手構造。
【請求項6】
前記キー本体は、円柱形状の鋼材によって構成された主部と、前記主部の外周面から外側に突出させた回り止め突部と、を備え、
前記各連結穴は、前記主部が挿入される連結穴主部と、前記回り止め突部が挿入される回り止め凹部と、を備えることを特徴とする請求項1に記載の鋼管の継手構造。
【請求項7】
請求項1乃至6の何れか1項に記載の鋼管の継手構造を備えた複数の鋼管によって構築されたことを特徴とする鋼管杭。
発明の詳細な説明
【技術分野】
【0001】
本発明は、鋼管の継手構造、及び鋼管杭に関する。
続きを表示(約 3,700 文字)
【背景技術】
【0002】
鋼管杭や鋼管柱では、運搬や作業に適した長さの鋼管を軸方向に沿って複数本連結することにより、長尺な鋼管杭や鋼管柱を構築することが行われている。鋼管杭や鋼管柱の構築時には、例えば一方の鋼管の連結筒部を他方の鋼管の連結筒部に挿入した状態で連結筒部同士を連結している。
連結筒部同士の連結には、例えば連結筒部同士を溶接したり、或いは各連結筒部に設けた連結穴同士を連通させてから連通状態の各連結穴に楔となるキー部材を挿通することが行われている。
連結筒部同士の溶接では、連結筒部同士を強固に結合できるものの作業に手間を要し、雨天時には作業を実施できないという不便がある。さらに、連結筒部同士の連結状態を解く場合には、溶接部の切断作業を行う必要があり、作業性が悪いという問題がある。
一方、キー部材を用いた連結作業は、溶接作業と比較して簡便であり、雨天時であっても実施できる。また、キー部材を取り外すことにより、連結筒部同士の連結状態を解くことができる。
【0003】
特許文献1には、一端に鉤爪を設けたネジ軸とネジ軸の他端に締め込まれるナットの組をキー部材として使用する構成が開示されている。
当該キー部材を使用する場合には、各筒部に設けた各連結穴を、ネジ軸の太さよりも十分に大きくする必要がある。その理由は、ネジ軸の一端に設けた鉤爪を通過させるための空間を確保するためである。
各連結穴とネジ軸の隙間が大きいとネジ軸が不安定になってしまうことから、特許文献1の構成では、ネジ軸に金属製円筒形状のブッシュを取り付けて各連結穴とネジ軸の隙間を埋めている。
【0004】
特許文献1のキー部材によって連結筒部同士を連結する場合には、ネジ軸の鋼管内部への落下を防止するため、予めネジ軸の他端部にブッシュとナットを取り付けている。そして、ネジ軸を鉤爪側から各連結穴に挿入し、鉤爪が各連結穴を超えて連結筒部の内側空所内まで移動した状態でナットを締め込んでいる。ブッシュは、ナットの締め込みに伴ってネジ軸に沿って移動し、連結穴に嵌め込まれる。
【先行技術文献】
【特許文献】
【0005】
特開2003-64669号公報
【発明の概要】
【発明が解決しようとする課題】
【0006】
特許文献1のキー部材では、鉤爪が連結筒部の内側空所内まで移動した状態でブッシュとナットを連結筒部の外径側に位置させているため、ネジ軸を長くする必要がある。これに伴い、各連結筒部の連結時においてナットの締め込み量が多くなり、連結作業に手間が掛かるという課題がある。
本発明は、このような事情に鑑みてなされたものであり、その目的は、連結筒部同士の連結作業を容易化することにある。
【課題を解決するための手段】
【0007】
上記課題を解決するために、本発明は、端部に外側連結筒部を備えた第1鋼管と、端部に内側連結筒部を備えた第2鋼管と、前記外側連結筒部内に前記内側連結筒部を挿入した状態で両連結筒部間を連結するキー部材と、を備えた鋼管の継手構造であって、前記外側連結筒部は、複数の外筒側連結穴を備え、前記内側連結筒部は、前記各外筒側連結穴と連通可能な複数の内筒側連結穴を備え、前記キー部材は、連通状態にある前記各連結穴内に挿通完了された時に、前記各連結穴の内部に位置するキー中間部、前記キー中間部よりも内径側に位置するキー内径端部、及び前記キー中間部よりも外径側に位置するキー外径端部を備えたキー本体と、前記キー内径端部により出没自在に支持され、前記キー内径端部が前記各連結穴内に位置している間は前記キー本体の径方向移動を許容する退避状態にあり、前記キー内径端部が前記各連結穴内から径方向へ離脱して前記内側連結筒部の内側空所に移動すると突出状態になって前記キー本体の外径方向への移動を規制する内径側ストッパーと、を備えたことを特徴とする。
【発明の効果】
【0008】
本発明によれば、連結筒部同士の連結作業を容易化することができる。
【図面の簡単な説明】
【0009】
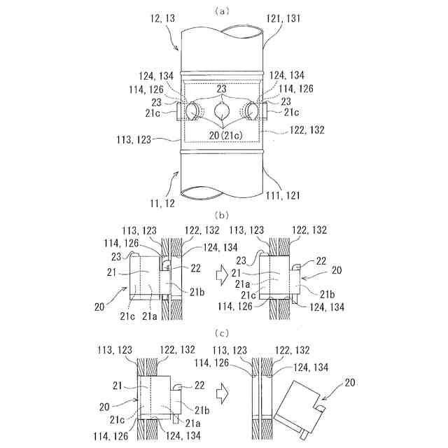
(a)は下杭を示す図、(b)は中間杭を示す図、(c)は上杭を示す図、(d)はキー部材を前側から見た斜視図、(e)はキー部材を後側から見た斜視図である。
(a)は連結筒部同士の連結状態を示す図、(b)は連結作業時におけるキー部材の動きを説明する図、(c)は撤去作業時におけるキー部材の動きを説明する図である。
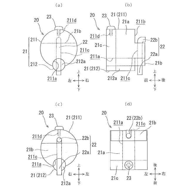
(a)はキー部材の正面図、(b)はキー部材の右側面図、(c)はキー部材の背面図、(d)はキー部材の平面図である。
上側連結筒部に下側連結筒部を挿入し、且つ上側連結穴と下側連結穴とを連通させた状態を示す図である。
連通状態の各連結穴に対するキー部材の挿入方向を示す図である。
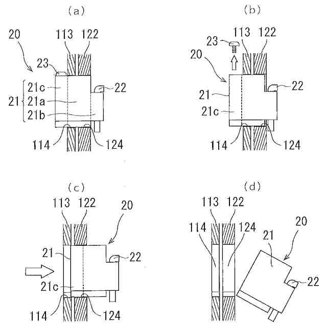
キー部材による連結筒部同士の連結作業を説明する図であり、(a)はキー内径端部を上側連結穴に近づけた状態を示す図、(b)はキー内径端部を上側連結穴に挿入した状態を示す図、(c)はキー内径端部を下側連結穴に移動させた状態を示す図、(d)はキー内径端部を下側連結筒部の内側空所まで移動させた状態を示す図である。
連結筒部同士の分離時におけるキー部材の取り外しを説明する図であり、(a)はキー部材によって連結筒部同士が連結されている状態を示す図、(b)は外径側ストッパーをキー本体から取り外した状態を示す図、(c)はキー外径端部を下側連結穴まで移動させた状態を示す図、(d)はキー部材を下側連結筒部の内側空所に落とし込んだ状態を示す図である。
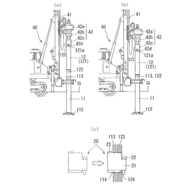
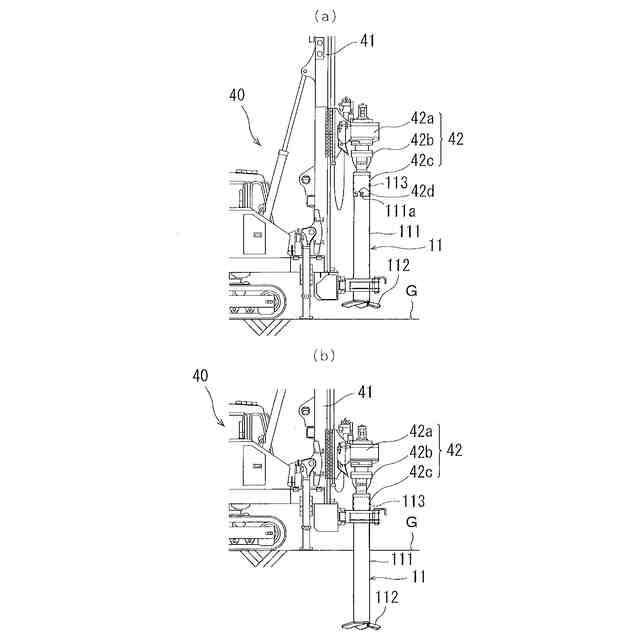
鋼管杭の構築手順を説明する図であり、(a)は下杭を杭打ち機に取り付けた状態を示す図、(b)は下杭の下側半分を地中に埋設した状態を示す図である。
鋼管杭の構築手順を説明する図であり、(a)は杭打ち機に取り付けた中間杭を下杭の真上に移動させた状態を示す図、(b)は中間杭の下側連結筒部を下杭の上側連結筒部に挿入した状態を示す図、(c)は各連結穴に対するキー部材の挿入を示す図である。
鋼管杭の構築手順を説明する図であり、(a)は中間杭の下側半分を地中に埋設した状態を示す図、(b)は杭打ち機に取り付けた上杭を中間杭の真上に移動させた状態を示す図である。
鋼管杭の構築手順を説明する図であり、(a)は鋼管杭を地中に埋設した状態を示す図、(b)は上杭に杭頭取付部を設けた第1変形例の鋼管杭を地中に埋設した状態を示す図、(c)は第1変形例において上杭の杭頭取付部に杭頭部材を取り付けた状態を示す図である。
鋼管杭の撤去手順を説明する図であり、(a)は上杭の上杭主部を杭打ち機に取り付けた状態を示す図、(b)は上杭、中間杭、及び下杭を逆方向に回転させて中間杭の上側半分を地上に露出させた状態を示す図である。
鋼管杭の撤去手順を説明する図であり、(a)はキー部材を上杭の下側連結筒部の内側空所に落とし込んだ状態を示す図、(b)は中間杭と分離した上杭を引き上げた状態を示す図である。
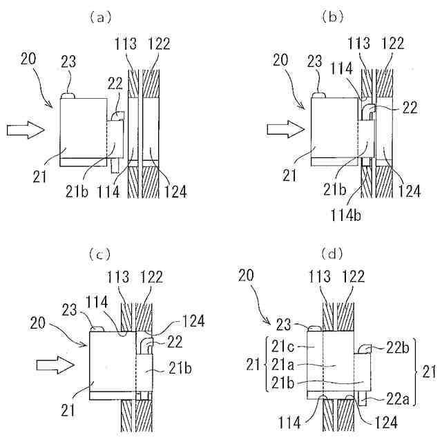
(a)は第2変形例に係るキー部材の正面図、(b)は第2変形例に係るキー部材の右側面図、(c)は第2変形例に係るキー部材の背面図、(d)は第2変形例に係るキー部材の平面図、(e)は第2変形例に係る上側連結穴、及び下側連結穴を示す図である。
第3変形例に係る上側連結筒部、及び下側連結筒部を示す図である。
(a)は第4変形例に係るキー部材の横断面図、(b)は第4変形例に係るキー部材の縦断面図、(c)は第5変形例に係るキー部材の横断面図である。
第6変形例に係る杭主部、及び下側連結筒部と、上側連結筒部、及びキー部材とを説明する図である。
【発明を実施するための形態】
【0010】
<鋼管の継手構造の概要>
最初に鋼管の継手構造の概要について説明する。但し、この実施形態に記載される構成要素、種類、組み合わせ、形状、その相対配置などは特定的な記載がない限り、この発明の範囲をそれのみに限定する主旨ではなく単なる説明例に過ぎない。また、以下の実施形態では鋼管杭1(図11(a)を参照)を例に挙げて説明するが、鋼管柱についても同様に実施できる。
図1(a)は下杭11を示す図、図1(b)は中間杭12を示す図、図1(c)は上杭13を示す図、図1(d)はキー部材20を前側から見た斜視図、図1(e)はキー部材20を後側から見た斜視図である。図2(a)は連結筒部同士の連結状態を示す図、図2(b)は連結作業時におけるキー部材20の動きを説明する図、図2(c)は撤去作業時におけるキー部材20の動きを説明する図である。
(【0011】以降は省略されています)
この特許をJ-PlatPat(特許庁公式サイト)で参照する
関連特許
株式会社三誠
鋼管の継手構造、及び鋼管杭
3日前
特許機器株式会社
流体浮揚装置
3日前
個人
大都市防災設備
1か月前
個人
鋼管
14日前
FKS株式会社
擁壁
3日前
株式会社クボタ
作業車
1日前
株式会社クボタ
作業車
1日前
株式会社奥村組
ケーソン工法
6日前
個人
擁壁用ブロックおよび擁壁
今日
株式会社武井工業所
積みブロック
23日前
株式会社大林組
建物の構造
今日
株式会社奥村組
ケーソン刃口金物
6日前
株式会社大林組
袋体付き排水パイプ
13日前
株式会社大林組
袋体付き排水パイプ
13日前
株式会社熊谷組
密度計測方法
1日前
大和ハウス工業株式会社
杭抜き先端具
7日前
ヤンマーホールディングス株式会社
作業機械
1か月前
ヤマト発動機株式会社
浮遊型消波装置
3日前
日立建機株式会社
作業機械
21日前
日立建機株式会社
作業機械
3日前
住友金属鉱山株式会社
タンク設置用基礎
1か月前
ゼニヤ海洋サービス株式会社
通船ゲート
13日前
有限会社冨永総業
キャンプ用ペグ抜きハンマー
1か月前
株式会社地盤改良堀田
基礎杭の設置方法
1か月前
株式会社フジタ
掘削機
22日前
鹿島建設株式会社
接続方法および接続構造
13日前
株式会社山幸総建
シートパイルの土砂除去具
1か月前
有限会社 櫂設計事務所
掘削・撹拌具
29日前
JFEスチール株式会社
鋼管矢板の継手構造
15日前
株式会社フジタ
建築物とその施工方法
13日前
JFEスチール株式会社
鋼管矢板の継手構造
15日前
JFEスチール株式会社
鋼管矢板の継手構造
3日前
株式会社日立建機ティエラ
建設機械
1か月前
株式会社大林組
建物の構築方法及び建物
13日前
株式会社武井工業所
積みブロック用基礎ブロック
23日前
アロン化成株式会社
排水管通気設備
1か月前
続きを見る
他の特許を見る