TOP
|
特許
|
意匠
|
商標
特許ウォッチ
Twitter
他の特許を見る
公開番号
2025140847
公報種別
公開特許公報(A)
公開日
2025-09-29
出願番号
2024040448
出願日
2024-03-14
発明の名称
流体浮揚装置
出願人
特許機器株式会社
,
株式会社三誠AIR断震システム
代理人
個人
,
個人
,
個人
,
個人
,
個人
,
個人
主分類
F16F
15/023 20060101AFI20250919BHJP(機械要素または単位;機械または装置の効果的機能を生じ維持するための一般的手段)
要約
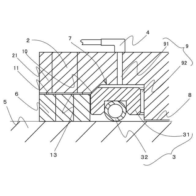
【課題】上述のような技術背景をもとに考案されたものであり、流体についてのシール性能が向上し、摩擦を低減しながら安定した浮揚・滑走することができる浮上型免震装置を提供する。
【解決手段】基体から浮揚し、構造体を支持する浮揚体と、シールリング体と、流体供給部とを備え、浮揚体が、基体と接触する接触部と、シールリング体を収容する収容部と、基体との間に流体層を形成する流体層形成部と、流体供給部から流体層形成部へ流体を供給する流体供給路と、流体を排出する排出路とを備えた流体浮揚装置を用いる。
【選択図】図1
特許請求の範囲
【請求項1】
基体から浮揚し、構造体を支持する浮揚体と、シールリング体と、流体供給部とを備えた流体浮揚装置であって、
前記浮揚体は、
前記基体と接触する接触部と、前記シールリング体を収容する収容部と、前記基体との間に流体層を形成する流体層形成部と、前記流体供給部から前記流体層形成部へ流体を供給する流体供給路と、前記流体を排出する排出路とを備え、
前記流体供給路は、
前記流体供給路から供給された流体によって、前記収容部に収容された前記シールリング体を収容位置から突出位置へと移動するように構成され、
前記排出路は、前記流体が所定以上に供給されたときに、前記流体を排出するように前記流体供給路と連通し、
前記シールリング体は、前記突出位置へ移動したときに、前記基体と前記浮揚体との隙間から前記流体層の流体が外部へ流出することを阻害する、
流体浮揚装置。
続きを表示(約 490 文字)
【請求項2】
前記シールリング体は、前記流体層に供給された流体によって前記シールリング体の流体による前記基体への押圧力を調節するように構成された請求項1に記載の流体浮揚装置。
【請求項3】
前記シールリング体が前記収容部に収容されたときに、前記シールリング体が前記排出路から流体が流出するのを阻害し、前記シールリング体が前記突出位置へ移動するときに、流体が前記排出路から排出可能となる請求項1に記載の流体浮揚装置。
【請求項4】
前記シールリング体は、
リング状の構造を維持する剛性部と、
前記剛性部よりも基体側に設けられ、前記基体と接触、または前記基体との隙間を所定とすることで、前記流体の封止若しくは流出抑制をする、変形可能部と
を備えた、請求項1に記載の流体浮揚装置。
【請求項5】
前記シールリング体は、流体の供給初期において、前記シールリング体と前記収容部の内側面とが当接して、流体が前記流体供給路から前記排出路へ排出されるのを阻害する流体阻害部を形成する請求項3に記載の流体浮揚装置。
発明の詳細な説明
【技術分野】
【0001】
保護する対象を圧力流体で浮揚しながら振動を遮断し、かつ供給された圧力流体の漏洩を防ぐシール機構を有した流体浮揚装置に関する。
続きを表示(約 2,800 文字)
【背景技術】
【0002】
例えば、美術館や博物館等においては地震による収蔵品の被害を防ぐために振動抑制装置の一種である免震装置を用いている。この免震装置の例としては、地盤と建物の間や、その建物内部の床等の基礎と、収蔵品が載置される載置台等の搭載台との間に構成されるものであって、建物や搭載台との間に設けられて圧力流体の圧力で浮上して、建物や搭載台を摺動可能に支持して振動を遮断するものが挙げられる。浮上容器は複数個使用されて、搭載物の偏荷重にも浮上容器の圧力を変えることで対応可能であるが、空気ばねのように完全に膜でシールした構造では水平方向に変位できる変形量が小さすぎて地震には対応できない。
【0003】
そこで浮上容器のシール膜の端部を床面との間で摺動可能にした機構がいろいろと考案されている(特許文献2、3、4、および非特許文献5、6)が、膜状のものが浮上高さ分の隙間をシールしようとすると膜は浮上板に固定点を必要とし、膜は必然的に浮上高さの何倍かの長さを必要として、受圧面積が大きくなり押し下げ力が大きいため、膜が接触すると大きな摺動抵抗が発生して振動を伝達する。さらに膜の固定部品の厚みも必要となって気柱高さを極小化できない。摺動抵抗は水平方向の振動遮断性能に影響するために膜の接触面を離間させるように流体を漏らす構造がとられている(非特許文献5)。
【0004】
シール材を使用しない浮上容器も研究(特許文献1、および非特許文献1-4)されているが、やはり流体空気の使用量が大きくなることを回避する技術が必要となる。一方で地震の主成分は10Hz以下の周波数帯域に存在しているため、浮上容器の流体容積/有効受圧面積(=気中高さ)が大きいと鉛直方向の支持剛性が下がって鉛直の振動を増幅したり、ロッキング振動を誘発するなど不安定になることが考えられる。そのために気柱高さを極小化する技術が求められている。
【0005】
圧力流体を用いないタイプの免震機構もいろいろと考案され実用されているが、これらは機械的な摺動部を有し、また1方向の免震機構をX-Y方向に直交させて2段に積み上げるような水平免震機構は鉛直方向の増幅要素も含み、好ましい性能とは言えない。
流体空気浮上型免震機構において、シール部に膜を使う従来の方法では、膜の摺動抵抗の低減とシール性能の向上がトレードオフの関係にあり、調整が難しい。また膜を固定する固定部が存在するために一定以上浮上容器の流体空気容積あるいは気柱高さ(容積/有効面積)を小さくできない。そのため鉛直剛性を大きく取れない。
【0006】
また、免震装置については、流体圧によって、環状シーリング体を支持体の底部から突出させることにより、建物への地震動の伝搬を妨げ得る建物も開示されている(特許文献5)。この環状シーリング体は、地震時の検知信号により開閉弁が開かれて、圧力流体の圧力によりシーリング体を基礎側の滑り板に押し付けるように構成されている。しかし、このような支持体では、基礎との絶縁のために流体圧作用室へ流入する流体の量の調整が難しく、シーリング体と滑り板との間から流体が外部へ流出するために、支持体の姿勢維持が難しい。
【先行技術文献】
【特許文献】
【0007】
特開2017―187083号公報
特開2015―59390号公報
特開2011-202769号公報
実用新案登録3119675号公報
特開平05―256046号公報
【非特許文献】
【0008】
安田正志、佐藤栄児、山田学、梶原浩一、早津昌樹、“負剛性リンク機構と空気浮揚機構を直列に用いた3次元免震装置の開発”、日本機械学会論文集、Vol.83、 No.851(2017)、DOI:10.1299/transjsme.17-00057
安田正志、佐藤栄児、山田学、梶原浩一、早津昌樹、空気浮揚による水平無周期 3次元免震システムの開発、日本機械学会論文集、Vol.84、 No.861(2018)、DOI: 10.1299/transjsme.17-00509
山田 学、梶原浩一、佐藤栄児、早津昌樹、嘉瀬英夫、安田正志、“空気浮揚と負剛性リンク及びエアダンパによる3次元免震装置の開発”、Dynamics and Design Conference 2018 講演論文集
山田 学、梶原浩一、佐藤栄児、早津昌樹、嘉瀬英夫、安田正志、“空気浮揚3次元免震システムにおける要素挙動の実験的検証”、Dynamics and Design Conference 2019 講演論文集
Minagawa K、 Fujita S、 Tanaka G、 Shimosaka H、 Floating Type Isolation System Using Earthquake Early Warning、 The 15th WCEE、 Lisboa、 2012
http://www.airdanshin.jp/
【発明の概要】
【発明が解決しようとする課題】
【0009】
本発明は、上述のような技術背景をもとに考案されたものであり、流体についてのシール性能が向上し、摩擦を低減しながら安定した浮揚・滑走をすることができる浮上型免震装置を提供することを目的とする。
【課題を解決するための手段】
【0010】
本発明は、基体から浮揚し、構造体を支持する浮揚体と、シールリング体と、流体供給部とを備えた流体浮揚装置であって、前記浮揚体は、前記基体と接触する接触部と、前記シールリング体を収容する収容部と、前記基体との間に流体層を形成する流体層形成部と、前記流体供給部から前記流体層形成部へ流体を供給する流体供給路と、前記流体を排出する排出路とを備え、前記流体供給路は、前記流体供給路から供給された流体によって、前記収容部に収容された前記シールリング体を収容位置から突出位置へと移動するように構成され、前記排出路は、前記流体が所定以上に供給されたときに、前記流体を排出するように前記流体供給路と連通し、前記シールリング体は、前記突出位置へ移動したときに、前記基体と前記浮揚体との隙間から前記流体層の流体が外部へ流出することを阻害する、流体浮揚装置である。本発明の流体浮揚装置を用いることにより、シールリング体が流体の流出を抑制し、過剰に供給された流体を排出路から排出できるので安定した姿勢を維持することができる。
(【0011】以降は省略されています)
この特許をJ-PlatPat(特許庁公式サイト)で参照する
関連特許
他の特許を見る