TOP
|
特許
|
意匠
|
商標
特許ウォッチ
Twitter
他の特許を見る
公開番号
2025141057
公報種別
公開特許公報(A)
公開日
2025-09-29
出願番号
2024040798
出願日
2024-03-15
発明の名称
水素発生装置
出願人
株式会社小糸製作所
代理人
弁理士法人信栄事務所
主分類
C01B
3/04 20060101AFI20250919BHJP(無機化学)
要約
【課題】新規の手法を用いた水素発生装置を提供する。
【解決手段】光源と、反射鏡と、反応管と、を含む反応装置を備える、ISプロセスを用いた水素発生装置であって、前記反応装置は、硫酸、三酸化硫黄およびヨウ化水素からなる群より選択される少なくとも一種である反応ガスの熱分解反応を実施する装置であり、前記反応管の内部には、前記光源から出射される光によって前記反応ガスを加熱する反応領域が設定されており、前記反射鏡は、前記光源から出射される光を前記反応領域に集光させる反射面を有し、前記反応管に導入された前記反応ガスを前記反応領域において熱分解する。
【選択図】図2
特許請求の範囲
【請求項1】
光源と、反射鏡と、反応管と、を含む反応装置を備える、ISプロセスを用いた水素発生装置であって、
前記反応装置は、硫酸、三酸化硫黄およびヨウ化水素からなる群より選択される少なくとも一種である反応ガスの熱分解反応を実施する装置であり、
前記反応管の内部には、前記光源から出射される光によって前記反応ガスを加熱する反応領域が設定されており、
前記反射鏡は、前記光源から出射される光を前記反応領域に集光させる反射面を有し、
前記反応管に導入された前記反応ガスを前記反応領域において熱分解する、水素発生装置。
続きを表示(約 360 文字)
【請求項2】
前記反射面は回転楕円面であり、前記反射面の一方の焦点に前記光源が配置され、前記反射面の他方の焦点に前記反応領域が位置している、請求項1に記載の水素発生装置。
【請求項3】
前記反応装置として、硫酸または三酸化硫黄の熱分解を実施する第一反応装置を少なくとも備え、
前記第一反応装置が備える前記光源である第一光源は、波長3.8μm以上4.2μm以下および6.8μm以上7.2μm以下の少なくとも一方にピークを有する光を出射する、
請求項1または請求項2に記載の水素発生装置。
【請求項4】
前記反応管の一端に、前記反応ガスを遮断し、前記反応ガスの熱分解により生成したガスを透過するガス分離器が設けられている、請求項1または請求項2に記載の水素発生装置。
発明の詳細な説明
【技術分野】
【0001】
本発明は、水素発生装置に関する。
続きを表示(約 1,600 文字)
【背景技術】
【0002】
近年、環境に配慮した新エネルギーとして水素が注目されており、種々の水素生成方法について検討がなされている。特に、再生可能エネルギーを利用し、水を原料として水素を生成する方法は、カーボンニュートラルの実現に向けて注目されている。特許文献1は、水の電気分解に利用できる触媒について開示している。
【先行技術文献】
【特許文献】
【0003】
国際公開第2019/240200号
【発明の概要】
【発明が解決しようとする課題】
【0004】
水の電気分解では電極材料にプラチナやイリジウムなどの高価な金属を使用することが課題となっており、多くの検討がなされているものの十分な改善には至っていない。そこで、再生可能エネルギーを利用して水から水素を生成する方法として、電気分解とは異なる新たな手法の提案が望まれる。
【0005】
本発明は、新規の手法を用いた水素発生装置を提供することを目的とする。
【課題を解決するための手段】
【0006】
本発明の一実施形態に係る水素発生装置は、
光源と、反射鏡と、反応管と、を含む反応装置を備える、ISプロセスを用いた水素発生装置であって、
前記反応装置は、硫酸、三酸化硫黄およびヨウ化水素からなる群より選択される少なくとも一種である反応ガスの熱分解反応を実施する装置であり、
前記反応管の内部には、前記光源から出射される光によって前記反応ガスを加熱する反応領域が設定されており、
前記反射鏡は、前記光源から出射される光を前記反応領域に集光させる反射面を有し、
前記反応管に導入された前記反応ガスを前記反応領域において熱分解する。
【発明の効果】
【0007】
本発明によれば、新規の手法を用いた水素発生装置が提供される。
【図面の簡単な説明】
【0008】
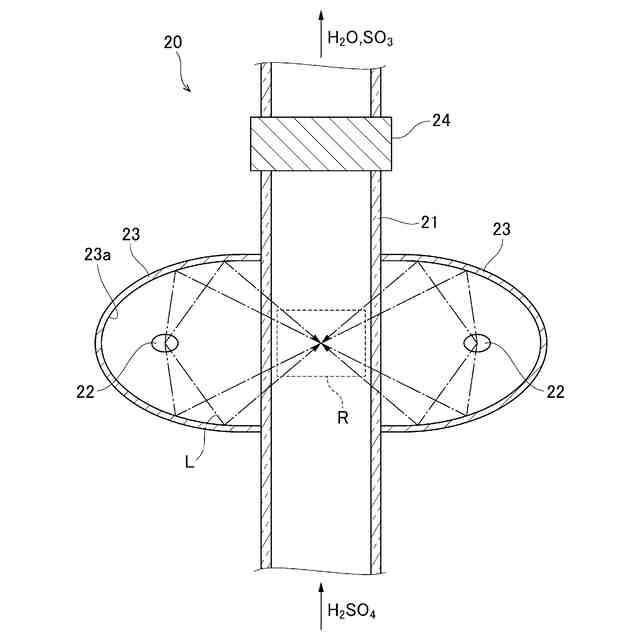
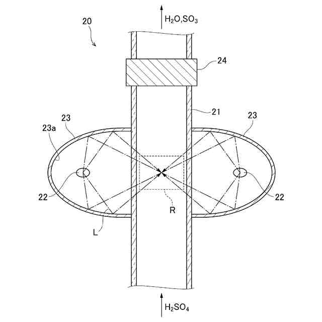
本発明の一実施形態に係る水素発生装置の構成を示す概略図である。
反応装置における加熱機構を説明するための断面図である。
【発明を実施するための形態】
【0009】
以下、図面を参照しつつ本発明の具体的な実施形態について説明するが、本発明はこれらの実施形態に限定されない。図面に示される各部材の寸法等は説明のために適宜変形して描かれており、実際の形態と異なりうる。
【0010】
本発明の水素発生装置は、ISプロセス用の水素発生装置である。ISプロセスとは水の化学的熱分解を行うための手法の一つである。水の直接熱分解は約4000℃の超高温を必要とするが、ISプロセスでは下記(1)から(4)の化学反応を組み合わせることにより、比較的低温の反応温度で水を水素と酸素に熱分解することができる。式(1)の反応はブンゼン反応と呼ばれ、室温でも進行する。式(2)~(4)の反応はいずれも外部からの熱エネルギーの供給を要する熱分解反応であり、式(2)の反応は約450℃、式(3)の反応は約500℃、式(4)の反応は約900℃で進行する。水素と酸素を除く生成ガスを適宜他の反応装置の原料として循環させることで、系全体としては水を分解して水素と酸素を発生させることができる。
I
2
+SO
2
+2H
2
O → H
2
SO
4
+2HI (1)
2HI → H
2
+I
2
(2)
H
2
SO
4
→ SO
3
+H
2
O (3)
SO
3
→ SO
2
+0.5O
2
(4)
(【0011】以降は省略されています)
この特許をJ-PlatPat(特許庁公式サイト)で参照する
関連特許
個人
発酵槽装置
15日前
公立大学法人大阪
硫化物
23日前
株式会社小糸製作所
水分解装置
4日前
株式会社小糸製作所
水素発生装置
4日前
光宇應用材料股ふん有限公司
低炭素水素の製造方法
28日前
株式会社フクハラ
酸化カルシウム生成装置及び生成方法
25日前
太陽化学株式会社
多孔質シリカ、及びその製造方法
15日前
トヨタ自動車株式会社
光触媒を用いた水素ガス製造装置
23日前
トヨタ自動車株式会社
光触媒を用いた水素ガス製造装置
22日前
浅田化学工業株式会社
アルミナゲルおよびその製造方法
24日前
DOWAテクノロジー株式会社
水酸化リチウムの製造方法
1か月前
株式会社ジェイテクト
水素生成装置
14日前
トヨタ自動車株式会社
二酸化炭素の利用方法、及び利用システム
14日前
日本化学工業株式会社
コアシェル型負熱膨張材およびその製造方法
8日前
デゾン・ジャパン株式会社
酸素濃度調整システム
8日前
デンカ株式会社
窒化ホウ素粉末及び樹脂組成物
14日前
デンカ株式会社
窒化ホウ素粉末及び樹脂組成物
14日前
南海化学株式会社
塩基性塩化アルミニウム含有組成物
4日前
南海化学株式会社
塩基性塩化アルミニウム含有組成物
4日前
トヨタ自動車株式会社
ガス生成システム
23日前
日揮触媒化成株式会社
シリカ微粒子分散液およびその製造方法
今日
トヨタ自動車株式会社
シリコンクラスレートIIの製造方法
8日前
国立大学法人長岡技術科学大学
ハイブリッド粒子分散体及びその製造方法
22日前
JFEエンジニアリング株式会社
バイオガス中の二酸化炭素液化システム
25日前
積水化学工業株式会社
酸素発生剤
25日前
日揮触媒化成株式会社
研磨用シリカ系粒子分散液およびその製造方法
8日前
株式会社東芝
水素吸排出デバイス、および水素吸排出モジュール
4日前
日本化学工業株式会社
リン酸コバルトリチウムの製造方法
16日前
パナソニックIPマネジメント株式会社
水素生成装置
23日前
パナソニックIPマネジメント株式会社
水素生成装置
23日前
セトラスホールディングス株式会社
水酸化マグネシウムの製造方法
2日前
宇部マテリアルズ株式会社
炭酸カルシウムの製造方法
1か月前
日本国土開発株式会社
層状複水酸化物の製造装置
4日前
株式会社MARUWA
高分子成形体
14日前
学校法人 名城大学
単層カーボンナノチューブの製造方法
24日前
積水化学工業株式会社
ガス製造装置、ガス製造システム及びガス製造方法
25日前
続きを見る
他の特許を見る