TOP
|
特許
|
意匠
|
商標
特許ウォッチ
Twitter
他の特許を見る
公開番号
2025140990
公報種別
公開特許公報(A)
公開日
2025-09-29
出願番号
2024040672
出願日
2024-03-15
発明の名称
コンバータ、パワーコンディショナ及び蓄電システム
出願人
株式会社GSユアサ
代理人
個人
,
個人
,
個人
主分類
H02M
3/28 20060101AFI20250919BHJP(電力の発電,変換,配電)
要約
【課題】低耐圧のスイッチング素子を用いて、回路規模を大きくすることなく、高い入力電圧に対応できるコンバータを提供する。
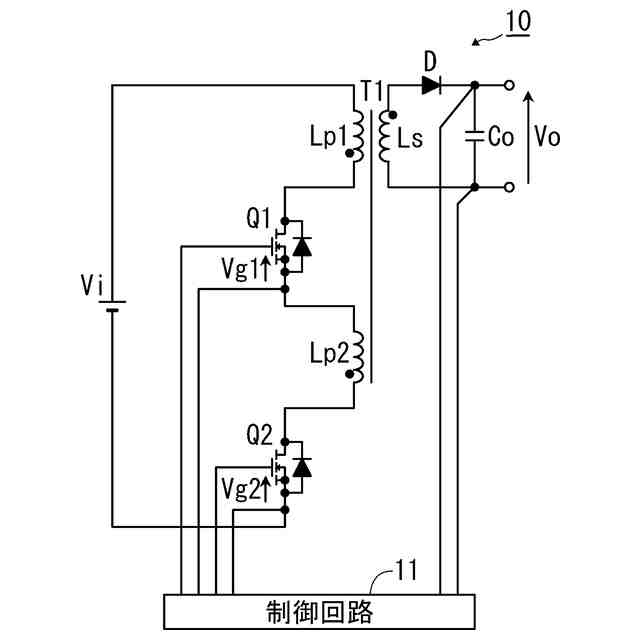
【解決手段】複数に分割された一次巻線Lp1、Lp2と、一次巻線Lp1、Lp2の分割数のスイッチング素子Q1、Q2と、を備える。コンバータ10は、分割された一次巻線Lp1、Lp2のそれぞれにスイッチング素子Q1、Q2が直列に接続される。コンバータ10は、スイッチング素子Q1、Q2をオンオフ制御することによって、トランスTの一次巻線Lpに入力電圧Viを断続的に印加させ、トランスTの二次巻線Lsに生じる誘起電圧を整流平滑して出力する。
【選択図】図1
特許請求の範囲
【請求項1】
スイッチング素子のオンオフによって、トランスの一次巻線に入力電圧を断続的に印加させ、前記トランスの二次巻線に生じる誘起電圧を整流平滑して出力するコンバータであって、
複数に分割された前記一次巻線と、
前記一次巻線の分割数に対応する数の前記スイッチング素子と、を備え、
分割された前記一次巻線のそれぞれに前記スイッチング素子が直列に接続されるコンバータ。
続きを表示(約 430 文字)
【請求項2】
同一のタイミングで前記一次巻線の分割数の前記スイッチング素子のオンオフを制御する制御回路を備える請求項1に記載のコンバータ。
【請求項3】
ドライブ回路を備え、
前記ドライブ回路は、ドライブトランスを用いて、前記制御回路で生成された基準信号から前記一次巻線の分割数の前記スイッチング素子をそれぞれドライブする制御信号を生成する請求項2に記載のコンバータ。
【請求項4】
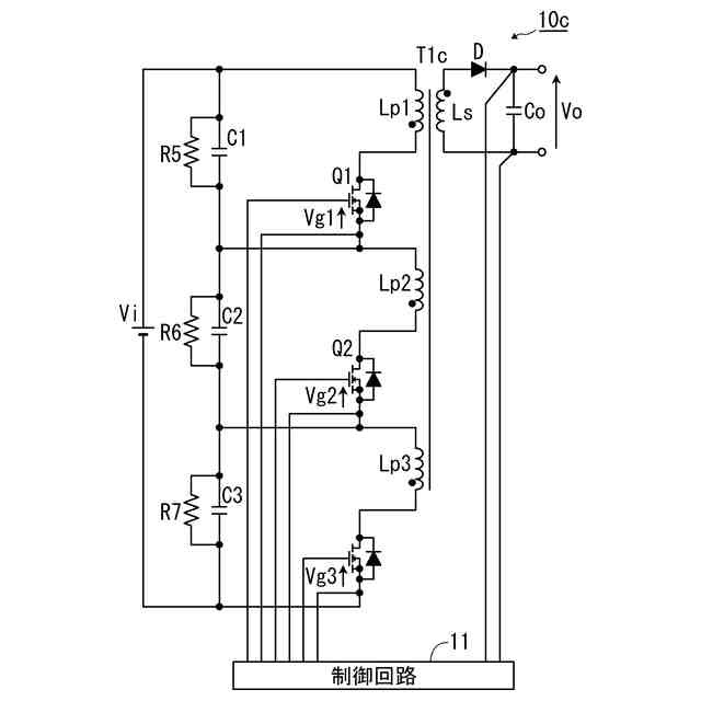
前記一次巻線と前記スイッチング素子の直列回路のそれぞれに並列に接続されたキャパシタを備える請求項1又は2に記載のコンバータ。
【請求項5】
前記キャパシタのそれぞれに並列に接続された抵抗を備える請求項4に記載のコンバータ。
【請求項6】
請求項1又は2に記載のコンバータを備えるパワーコンディショナ。
【請求項7】
蓄電素子と、請求項1又は2に記載のコンバータと、を備える蓄電システム。
発明の詳細な説明
【技術分野】
【0001】
本発明の一態様は、コンバータ、パワーコンディショナおよび蓄電システムに関する。
続きを表示(約 2,200 文字)
【背景技術】
【0002】
再生可能エネルギーの利用拡大や、エネルギーマネジメントの促進のために、蓄電システム(ESS)に対するニーズが高まっている。蓄電システムは、電力を蓄える蓄電池と、
パワーコンディショナと、を備える(例えば、特許文献1参照)。蓄電池は、充放電可能な二次電池が用いられる。パワーコンディショナは、電力変換装置であり、直流電力を変圧する変圧器と、直流電力と交流電力とを変換する変換器と、を備える。
【0003】
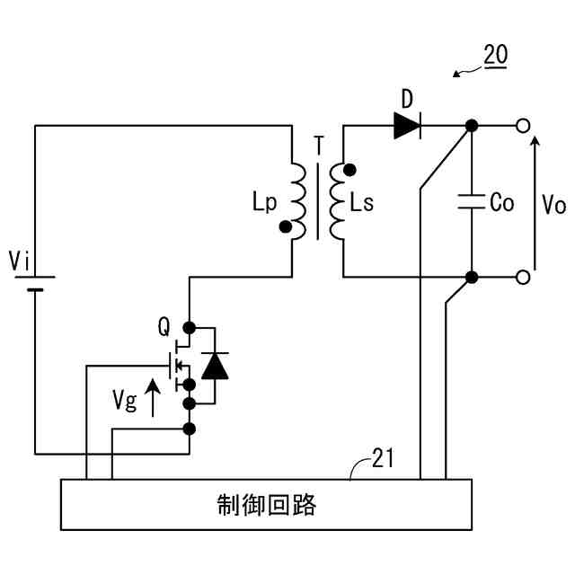
パワーコンディショナの変圧器は、絶縁型で構成する場合、図7に示すようなフライバック型のコンバータ20が用いられる。コンバータ20は、入力電圧Viに対してトランスTの一次巻線Lpとスイッチング素子Qとが直列に接続されている。スイッチング素子Qは、制御回路21で生成される制御信号Vgによってオンオフされる。スイッチング素子Qのオンオフにより、入力電圧Viは、トランスTの一次巻線Lpに断続的に印加される。トランスTは、スイッチング素子Qのオン1回当りで、E=1/2・Lp・i2のエネルギーを蓄え、スイッチング素子Qがオフすると蓄えたエネルギーを二次巻線Lsにフライバック電圧Vrとして出力する。トランスTの二次巻線Lsに発生するフライバック電圧Vrは、ダイオードDとキャパシタCoにて、整流平滑され、出力電圧Voが生成される。制御回路21は、出力電圧Voの検出値に基づいて生成した制御信号Vgによってスイッチング素子Qのオン時間を調整し、出力するエネルギー量を制御して出力電圧Voを調節する。制御回路21は、例えば、周波数fを一定として、スイッチング素子Qのオン時間を調節する。いわゆるPWM制御などを行う。
【先行技術文献】
【特許文献】
【0004】
特開2023-18328号公報
【発明の概要】
【発明が解決しようとする課題】
【0005】
コンバータ20において、スイッチング素子Qには、入力電圧Viに加えてフライバック電圧Vrが印加される。フライバック電圧Vrは、トランスTの巻数比や、スイッチング素子Qのオンdutyの設定などにより多少異なるが、最大で入力電圧Vi程度になる。すなわち、スイッチング素子Qは、入力電圧Viの2倍以上の耐圧が必要となる。
【0006】
スイッチング素子QとしてMOS-FETを用いる場合、様々な耐圧の製品があるが、比較的安価なのは、900V耐圧までであり、900V耐圧以上の製品は、極めて高価となる。入力電圧Viが500V超の高電圧である場合、スイッチング素子Qは、高価な製品を選択せざるを得ない。近年の蓄電システムの分野では、1000V超の高電圧を発生するため、蓄電システムで使用されるコンバータ20は、高価なものになってしまう欠点があった。スイッチング素子Qは、無制限に高耐圧品が存在するわけではないため、コンバータ20が対応可能な入力電圧Viには、上限があった。
【0007】
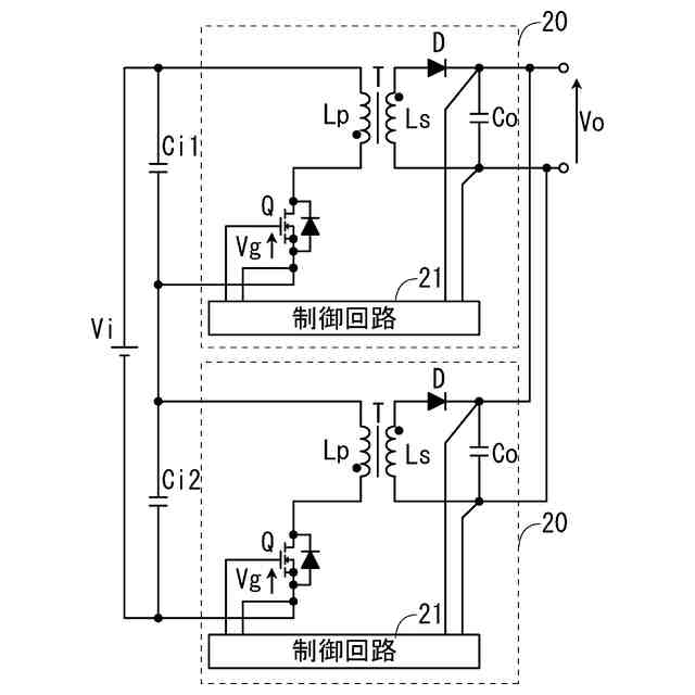
図8に示すように、コンバータ20を直列に接続(キャパシタCi1、Ci2に対しては、並列接続)することで、それぞれのスイッチング素子Qに印加される電圧は、低減できる。入力電圧ViをキャパシタCi1、Ci2の直列回路により1/2に分圧し、それぞれにコンバータ20は、並列に接続されている。並列に接続されたコンバータ20のそれぞれのスイッチング素子Qは、入力電圧Viと同程度の耐圧の製品で対応できる。
【0008】
しかしながら、キャパシタCi1、Ci2の容量バラツキ等により、分圧される電圧は、多少異なる。加えて、並列に接続されたコンバータ20のそれぞれの制御回路21は、出力電圧Voの検出値に基づいてPWM制御等を行うが、出力電圧Voの検出値と比較する基準電圧にバラツキがある。基準電圧のバラツキにより、並列に接続されたコンバータ20のそれぞれ出力電圧Voは、微妙に異なり、それぞれの出力電流がバランスしない。そのため、コンバータ20を並列に接続した構成は、それぞれの電流をバランスさせる図示しないバランス回路を付加せざるを得ない。バランス回路は、二次側が並列に接続されたコンバータ20のそれぞれの電位差も大きいことから、複雑な回路構成となる。従って、コンバータ20を並列に接続した構成は、複数個のコンバータ20と共に、複雑なバランス回路が必要になり、回路規模が大きく高価なものになってしまう。
【0009】
本発明の一態様は、低耐圧のスイッチング素子を用いて、回路規模を大きくすることなく、高い入力電圧に対応できるコンバータを提供する。
【課題を解決するための手段】
【0010】
本発明の一態様は、スイッチング素子をオンオフ制御することによって、トランスの一次巻線に入力電圧を断続的に印加させ、前記トランスの二次巻線に生じる誘起電圧を整流平滑して出力するコンバータである。本発明の一態様は、複数に分割された前記一次巻線と、前記一次巻線の分割数の前記スイッチング素子と、を備える。本発明の一態様は、分割された前記一次巻線のそれぞれに前記スイッチング素子が直列に接続される。
【発明の効果】
(【0011】以降は省略されています)
この特許をJ-PlatPat(特許庁公式サイト)で参照する
関連特許
個人
バッテリ内蔵直流電源
21日前
株式会社FUJI
制御盤
11日前
オムロン株式会社
電源回路
15日前
オムロン株式会社
電源回路
15日前
西部電機株式会社
充電装置
3日前
日本精機株式会社
サージ保護回路
3日前
オムロン株式会社
電源回路
15日前
西部電機株式会社
充電装置
3日前
トヨタ自動車株式会社
固定子
1日前
トヨタ自動車株式会社
回転子
7日前
トヨタ自動車株式会社
製造装置
1日前
東京応化工業株式会社
発電装置
15日前
ミサワホーム株式会社
居住設備
11日前
個人
連続ガウス加速器形磁力増幅装置
3日前
大豊工業株式会社
モータ
21日前
株式会社ミツバ
ブラシレスモータ
2日前
カヤバ株式会社
筒型リニアモータ
2日前
個人
太陽エネルギー収集システム
1日前
東京瓦斯株式会社
通信装置
2日前
株式会社リコー
拡張アンテナ装置
14日前
日産自動車株式会社
ステータ
8日前
ニチコン株式会社
AC入力検出回路
7日前
トヨタ自動車株式会社
ロータ
9日前
トヨタ自動車株式会社
被膜形成装置
1日前
ユタカ電業株式会社
ケーブルダクト
11日前
株式会社ダイヘン
電力変換装置
3日前
NTN株式会社
モータユニット
11日前
東京瓦斯株式会社
給電システム
2日前
株式会社デンソー
電力変換装置
7日前
ASTI株式会社
電力変換装置
1日前
株式会社大林組
可搬式充電設備
8日前
株式会社ダイヘン
電力システム
3日前
株式会社正興電機製作所
地絡確認装置
14日前
株式会社ミツバ
巻線装置
14日前
カヤバ株式会社
アクチュエータユニット
21日前
大和ハウス工業株式会社
システム
2日前
続きを見る
他の特許を見る