TOP
|
特許
|
意匠
|
商標
特許ウォッチ
Twitter
他の特許を見る
公開番号
2025140849
公報種別
公開特許公報(A)
公開日
2025-09-29
出願番号
2024040450
出願日
2024-03-14
発明の名称
ブロッキング検知装置およびブロッキング検知方法
出願人
リンテック株式会社
代理人
弁理士法人樹之下知的財産事務所
主分類
B65H
26/00 20060101AFI20250919BHJP(運搬;包装;貯蔵;薄板状または線条材料の取扱い)
要約
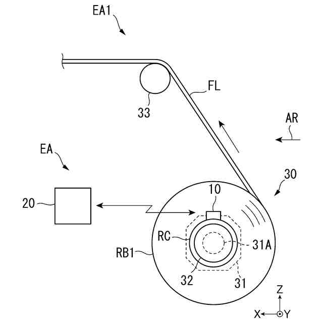
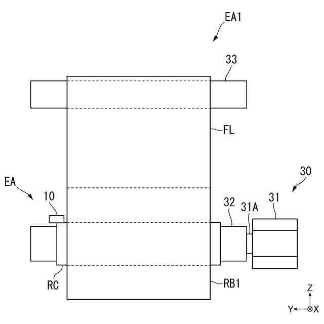
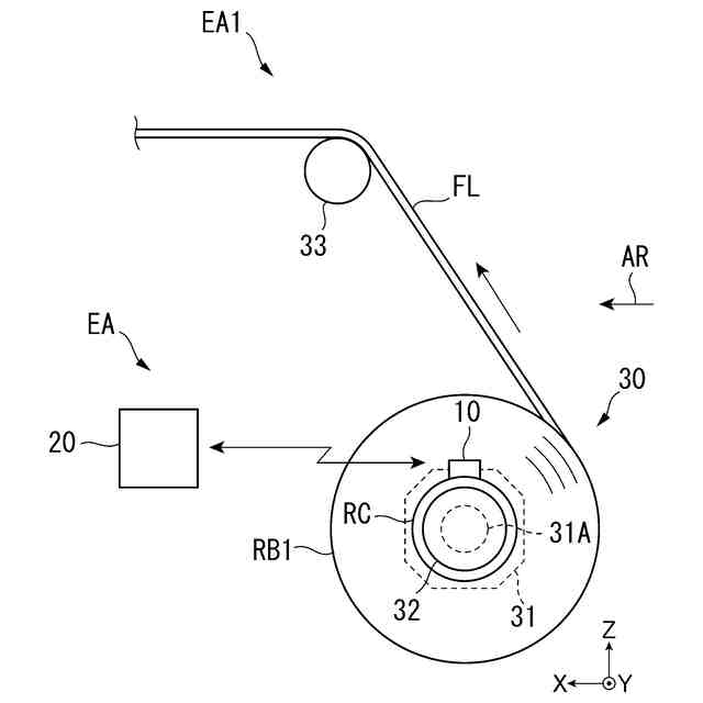
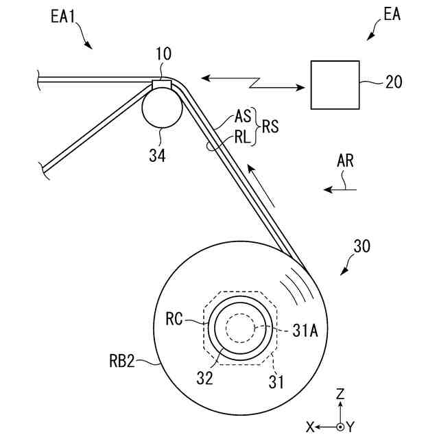
【課題】検知結果のバラツキを抑制できるブロッキング検知装置およびブロッキング検知方法を提供する。
【解決手段】ブロッキング検知装置EAは、支持体RB1に重ねられた長尺体FLが支持体RB1から剥離することで生じる物理現象を検出する検出手段10と、検出手段10の検出結果に基づいて、支持体RB1に長尺体FLが密着したブロッキングを検知する検知手段20とを備えている。
【選択図】図1
特許請求の範囲
【請求項1】
支持体に重ねられた長尺体が前記支持体から剥離することで生じる物理現象を検出する検出手段と、
前記検出手段の検出結果に基づいて、前記支持体に前記長尺体が密着したブロッキングを検知する検知手段とを備えていることを特徴とするブロッキング検知装置。
続きを表示(約 1,000 文字)
【請求項2】
前記支持体は、前記長尺体が巻き回された巻回物であり、
前記検出手段は、前記巻回物の挙動を検出し、
前記検知手段は、前記巻回物の挙動に基づいて、前記ブロッキングを検知することを特徴とする請求項1に記載のブロッキング検知装置。
【請求項3】
前記検出手段は、前記巻回物の加速度を検出し、
前記検知手段は、前記巻回物の加速度に基づいて、前記ブロッキングを検知することを特徴とする請求項2に記載のブロッキング検知装置。
【請求項4】
前記支持体は、前記長尺体が仮着する剥離シートであり、
前記検出手段は、前記剥離シートから前記長尺体を剥離する剥離部材の挙動を検出し、
前記検知手段は、前記剥離部材の挙動に基づいて、前記ブロッキングを検知することを特徴とする請求項1に記載のブロッキング検知装置。
【請求項5】
前記検出手段は、前記剥離部材の加速度を検出し、
前記検知手段は、前記剥離部材の加速度に基づいて、前記ブロッキングを検知することを特徴とする請求項4に記載のブロッキング検知装置。
【請求項6】
前記検出手段は、前記長尺体を繰り出す回動モータのトルクまたは回転数を検出し、
前記検知手段は、前記回動モータのトルクまたは回転数に基づいて、前記ブロッキングを検知することを特徴とする請求項1に記載のブロッキング検知装置。
【請求項7】
前記検出手段は、前記支持体から剥離した前記長尺体の振幅を検出し、
前記検知手段は、前記長尺体の振幅に基づいて、前記ブロッキングを検知することを特徴とする請求項1に記載のブロッキング検知装置。
【請求項8】
前記検出手段は、前記支持体から剥離した前記長尺体の帯電量を検出し、
前記検知手段は、前記長尺体の帯電量に基づいて、前記ブロッキングを検知することを特徴とする請求項1に記載のブロッキング検知装置。
【請求項9】
支持体に重ねられた長尺体が前記支持体から剥離することで生じる物理現象を検出する検出工程と、
前記検出工程の検出結果に基づいて、前記支持体に前記長尺体が密着したブロッキングを検知する検知工程とを実施することを特徴とするブロッキング検知方法。
発明の詳細な説明
【技術分野】
【0001】
本発明は、ブロッキング検知装置およびブロッキング検知方法に関する。
続きを表示(約 1,000 文字)
【背景技術】
【0002】
長尺体を支持する支持体に長尺体が密着したブロッキングを検知する方法が知られている(例えば、特許文献1参照)。
【先行技術文献】
【特許文献】
【0003】
特開2009-091544号公報
【発明の概要】
【発明が解決しようとする課題】
【0004】
特許文献1に記載されたブロッキング性の評価では、人がハードコートフィルム(長尺体)の表面状態を目で確認したり、長尺体の剥離音を聞き取ったりすることでブロッキングを検知するため、検知結果にバラツキが生じてしまう。
【0005】
本発明の目的は、検知結果のバラツキを抑制できるブロッキング検知装置およびブロッキング検知方法を提供することにある。
【課題を解決するための手段】
【0006】
本発明の一態様に係るブロッキング検知装置は、支持体に重ねられた長尺体が前記支持体から剥離することで生じる物理現象を検出する検出手段と、前記検出手段の検出結果に基づいて、前記支持体に前記長尺体が密着したブロッキングを検知する検知手段とを備えている。
【0007】
本発明の一態様に係るブロッキング検知装置において、前記支持体は、前記長尺体が巻き回された巻回物であり、前記検出手段は、前記巻回物の挙動を検出し、前記検知手段は、前記巻回物の挙動に基づいて、前記ブロッキングを検知してもよい。
【0008】
本発明の一態様に係るブロッキング検知装置において、前記検出手段は、前記巻回物の加速度を検出し、前記検知手段は、前記巻回物の加速度に基づいて、前記ブロッキングを検知してもよい。
【0009】
本発明の一態様に係るブロッキング検知装置において、前記支持体は、前記長尺体が仮着する剥離シートであり、前記検出手段は、前記剥離シートから前記長尺体を剥離する剥離部材の挙動を検出し、前記検知手段は、前記剥離部材の挙動に基づいて、前記ブロッキングを検知してもよい。
【0010】
本発明の一態様に係るブロッキング検知装置において、前記検出手段は、前記剥離部材の加速度を検出し、前記検知手段は、前記剥離部材の加速度に基づいて、前記ブロッキングを検知してもよい。
(【0011】以降は省略されています)
この特許をJ-PlatPat(特許庁公式サイト)で参照する
関連特許
個人
箱
11か月前
個人
ゴミ箱
11か月前
個人
収容箱
2か月前
個人
コンベア
4か月前
個人
ゴミ収集器
6か月前
個人
段ボール箱
6か月前
個人
容器
8か月前
個人
段ボール箱
6か月前
個人
土嚢運搬器具
7か月前
個人
楽ちんハンド
4か月前
個人
パウチ補助具
11か月前
個人
バンド
1か月前
個人
宅配システム
6か月前
個人
角筒状構造体
4か月前
個人
閉塞装置
9か月前
個人
廃棄物収容容器
1か月前
個人
包装容器
16日前
個人
お薬の締結装置
5か月前
個人
コード類収納具
7か月前
株式会社コロナ
梱包材
4か月前
個人
ゴミ処理機
8か月前
個人
貯蔵サイロ
6か月前
個人
蓋閉止構造
3か月前
株式会社和気
包装用箱
8か月前
個人
蓋閉止構造
3か月前
個人
積み重ね用補助具
2か月前
個人
把手付米袋
3か月前
三甲株式会社
蓋体
7か月前
株式会社KY7
封止装置
2か月前
三甲株式会社
容器
5か月前
三甲株式会社
容器
5か月前
個人
包装箱
9か月前
株式会社新弘
容器
2か月前
個人
コード折り畳み器具
3か月前
個人
輸送積荷用動吸振器
5か月前
株式会社イシダ
包装装置
11か月前
続きを見る
他の特許を見る