TOP
|
特許
|
意匠
|
商標
特許ウォッチ
Twitter
他の特許を見る
10個以上の画像は省略されています。
公開番号
2025140812
公報種別
公開特許公報(A)
公開日
2025-09-29
出願番号
2024040403
出願日
2024-03-14
発明の名称
蓄電素子ユニット、蓄電素子ユニット用の固定部材、及び蓄電素子ユニット付き建物
出願人
積水化学工業株式会社
代理人
個人
,
個人
,
個人
,
個人
主分類
H01M
50/244 20210101AFI20250919BHJP(基本的電気素子)
要約
【課題】蓄電素子ユニットを建物の壁部に強固に固定する。
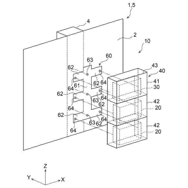
【解決手段】蓄電素子ユニット10は、建物1の壁部2に固定される。蓄電素子ユニット10は、蓄電素子モジュール20と、蓄電素子モジュール20を収容する筐体40と、筐体40を壁部2に固定する固定部材60と、を備える。固定部材60は、壁部2に対面して見たとき、筐体40の外縁43よりも内側に位置する。固定部材60は、壁部2の柱4に沿う第1方向に沿って延び、柱4に固定される主部61を含む。
【選択図】図4
特許請求の範囲
【請求項1】
建物の壁部に固定される蓄電素子ユニットであって、
蓄電素子モジュールと、
前記蓄電素子モジュールを収容する筐体と、
前記筐体を前記壁部に固定する固定部材と、を備え、
前記固定部材は、前記壁部に対面して見たとき、前記筐体の外縁よりも内側に位置し、
前記固定部材は、前記壁部の柱に沿う第1方向に沿って延び、前記柱に固定される主部を含む、蓄電素子ユニット。
続きを表示(約 1,000 文字)
【請求項2】
前記固定部材は、前記第1方向と交差する第2方向に沿って延び、前記筐体を支持する支持部を含む、請求項1に記載の蓄電素子ユニット。
【請求項3】
前記蓄電素子モジュールを制御する制御モジュールを備え、
前記筐体は、前記制御モジュールを収容する第1筐体と、前記第1方向において前記第1筐体と並び、前記蓄電素子モジュールを収容する第2筐体と、を含み、
前記主部は、前記第1筐体及び前記第2筐体に跨がって位置する、請求項1に記載の蓄電素子ユニット。
【請求項4】
前記蓄電素子モジュールを制御する制御モジュールを備え、
前記筐体は、前記壁部に対面して見たとき、前記第1方向に延びる細長形状を有し、
前記筐体は、前記第1方向において前記蓄電素子モジュールと並ぶように前記制御モジュールを収容する、請求項1に記載の蓄電素子ユニット。
【請求項5】
前記主部は、前記壁部に対面して見たとき、前記第2方向において前記筐体の中央部に位置し、
前記支持部は、前記主部から前記第2方向における両側にそれぞれ延びている、請求項2に記載の蓄電素子ユニット。
【請求項6】
前記主部は、第1の柱に固定される第1主部と、前記第1の柱とは異なる第2の柱に固定される第2主部と、を含み、
前記支持部は、前記第1方向における一側で前記第1主部から前記第2主部まで延びる第1支持部と、前記第1方向における他側で前記第1主部から前記第2主部まで延びる第2支持部と、を含む、請求項2に記載の蓄電素子ユニット。
【請求項7】
前記建物の床部に位置し、前記筐体を下方から支持する支持台を備える、請求項1に記載の蓄電素子ユニット。
【請求項8】
蓄電素子モジュールと、前記蓄電素子モジュールを収容する筐体と、を備える蓄電素子ユニットを、建物の壁部に固定するための蓄電素子ユニット用の固定部材であって、
前記壁部の柱に沿う第1方向に沿って延び、前記柱に固定される主部を備える、蓄電素子ユニット用の固定部材。
【請求項9】
壁部を含む建物と、
前記壁部に固定される、請求項1~7のいずれか一項に記載の蓄電素子ユニットと、を備える、蓄電素子ユニット付き建物。
発明の詳細な説明
【技術分野】
【0001】
本開示は、蓄電素子ユニット、蓄電素子ユニット用の固定部材、及び蓄電素子ユニット付き建物に関する。
続きを表示(約 1,400 文字)
【背景技術】
【0002】
蓄電素子モジュールと、蓄電素子モジュールを収容する筐体と、を含む蓄電素子ユニットが知られている。蓄電素子ユニットは、例えば特許文献1に開示されているように、固定金具(固定部材)を介して建物の壁部に固定される場合がある。
【先行技術文献】
【特許文献】
【0003】
特開2021-86693号公報
【発明の概要】
【発明が解決しようとする課題】
【0004】
本開示は、蓄電素子ユニットを建物の壁部に強固に固定できる蓄電素子ユニット、蓄電素子ユニット用の固定部材、及び蓄電素子ユニット付き建物を提供することを目的とする。
【課題を解決するための手段】
【0005】
本開示の一実施の形態による蓄電素子ユニットは、
建物の壁部に固定される蓄電素子ユニットであって、
蓄電素子モジュールと、
前記蓄電素子モジュールを収容する筐体と、
前記筐体を前記壁部に固定する固定部材と、を備え、
前記固定部材は、前記壁部に対面して見たとき、前記筐体の外縁よりも内側に位置し、
前記固定部材は、前記壁部の柱に沿う第1方向に沿って延び、前記柱に固定される主部を含む、蓄電素子ユニットである。
【0006】
本開示の一実施の形態による蓄電素子ユニット用の固定部材は、
蓄電素子モジュールと、前記蓄電素子モジュールを収容する筐体と、を備える蓄電素子ユニットを、建物の壁部に固定するための蓄電素子ユニット用の固定部材であって、
前記壁部の柱に沿う第1方向に沿って延び、前記柱に固定される主部を備える、蓄電素子ユニット用の固定部材である。
【0007】
本開示の一実施の形態による蓄電素子ユニット付き建物は、
壁部を含む建物と、
前記壁部に固定される、上述の蓄電素子ユニットと、を備える、蓄電素子ユニット付き建物である。
【発明の効果】
【0008】
本開示によれば、蓄電素子ユニットを建物の壁部に強固に固定できる。
【図面の簡単な説明】
【0009】
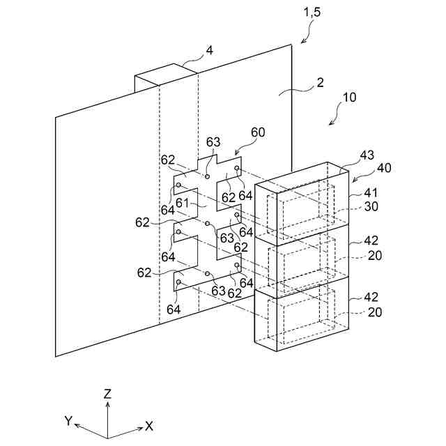
図1は、一実施の形態による蓄電素子ユニットの斜視図である。
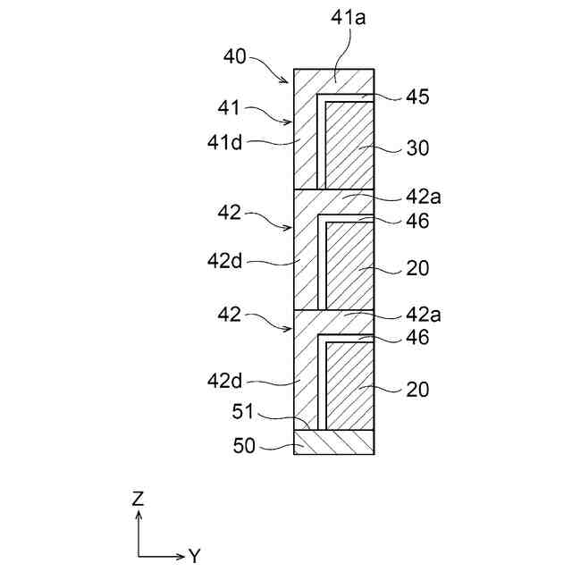
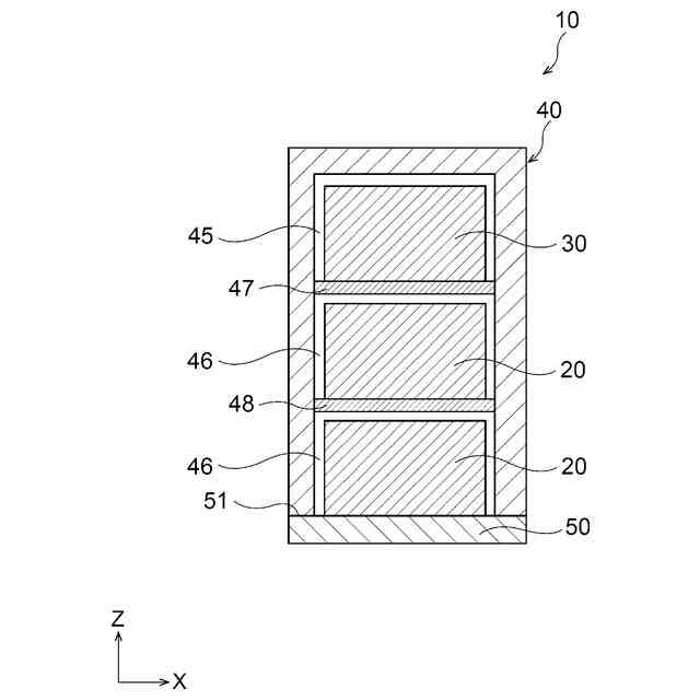
図2は、図1に示す蓄電素子ユニットの正面断面図である。
図3は、図1に示す蓄電素子ユニットの側面断面図である。
図4は、図1に示す蓄電素子ユニットの分解斜視図である。
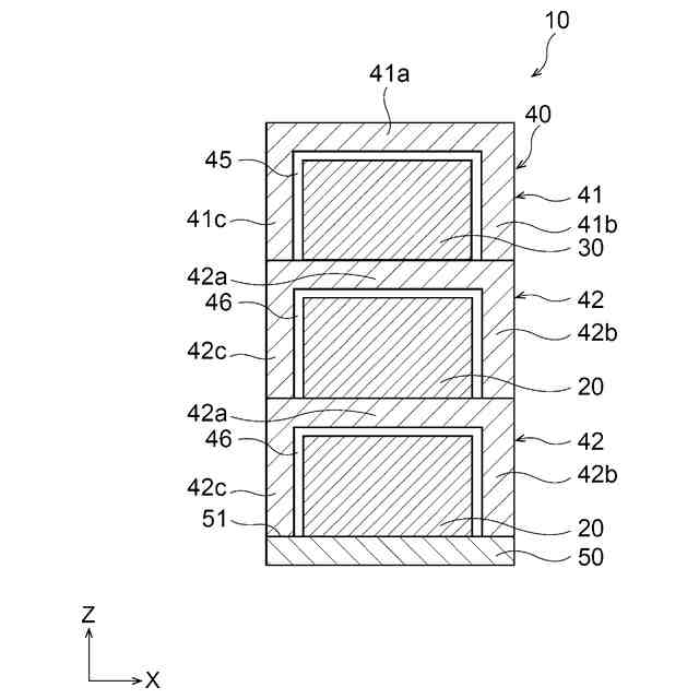
図5は、図4に示す固定部材の正面図である。
図6は、一変形例による蓄電素子ユニットの正面断面図である。
図7は、一変形例による固定部材の正面図である。
図8は、一変形例による固定部材の正面図である。
図9は、一変形例による固定部材の正面図である。
図10は、一変形例による固定部材の正面図である。
図11は、一変形例による固定部材の正面図である。
図12は、一変形例による固定部材の正面図である。
図13は、一変形例による固定部材の正面図である。
【発明を実施するための形態】
【0010】
本開示の一実施の形態は、以下の[1]~[9]に関する。
(【0011】以降は省略されています)
この特許をJ-PlatPat(特許庁公式サイト)で参照する
関連特許
積水化学工業株式会社
複層管
8日前
積水化学工業株式会社
樹脂管
1日前
積水化学工業株式会社
解析方法
1日前
積水化学工業株式会社
配管構造
1日前
積水化学工業株式会社
積層構造体
1日前
積水化学工業株式会社
耐火処理構造
2日前
積水化学工業株式会社
耐火処理構造
2日前
積水化学工業株式会社
遺伝子導入方法
9日前
積水化学工業株式会社
両面粘着テープ
1日前
積水化学工業株式会社
両面粘着テープ
1日前
積水化学工業株式会社
螺旋管の製管装置
4日前
積水化学工業株式会社
更生管の製管方法
2日前
積水化学工業株式会社
螺旋管の製管装置
4日前
積水化学工業株式会社
熱伝導性樹脂組成物
8日前
積水化学工業株式会社
樹脂組成物、放熱部材
1日前
積水化学工業株式会社
床の施工方法及び建築物
1日前
積水化学工業株式会社
継手構造および接続構造
1日前
積水化学工業株式会社
集合継手及び排水システム
1日前
積水化学工業株式会社
生産管理システムおよび方法
2日前
積水化学工業株式会社
生産管理システムおよび方法
2日前
積水化学工業株式会社
膜付き基材の製造方法及び粉体
4日前
積水化学工業株式会社
継手、配管構造、配管の施工方法
2日前
積水化学工業株式会社
集合継手及び集合継手の製造方法
1日前
積水化学工業株式会社
メタサーフェスシート及び窓構造
4日前
積水化学工業株式会社
プログラム及び情報処理システム
4日前
積水化学工業株式会社
マスターバッチ、及びその製造方法
1日前
積水化学工業株式会社
接着性樹脂組成物、及び、仮固定材
4日前
積水化学工業株式会社
区画貫通処理構造及び区画貫通処理材
9日前
積水化学工業株式会社
区画貫通処理構造及び区画貫通処理材
9日前
積水化学工業株式会社
区画貫通処理構造及び区画貫通処理材
9日前
積水化学工業株式会社
防火区画貫通処理部材及び防火区画材
1日前
積水化学工業株式会社
鉄道用枕木、及び鉄道用枕木の製造方法
2日前
積水化学工業株式会社
防火区画貫通処理シート及び防火区画材
1日前
積水化学工業株式会社
樹脂材料、硬化物及び多層プリント配線板
2日前
積水化学工業株式会社
樹脂材料、硬化物及び多層プリント配線板
2日前
積水化学工業株式会社
支持部材、蓄電設備及び蓄電設備付き建物
12日前
続きを見る
他の特許を見る