TOP
|
特許
|
意匠
|
商標
特許ウォッチ
Twitter
他の特許を見る
10個以上の画像は省略されています。
公開番号
2025141544
公報種別
公開特許公報(A)
公開日
2025-09-29
出願番号
2024041537
出願日
2024-03-15
発明の名称
支持部材、蓄電設備及び蓄電設備付き建物
出願人
積水化学工業株式会社
代理人
個人
,
個人
,
個人
主分類
H01M
50/244 20210101AFI20250919BHJP(基本的電気素子)
要約
【課題】蓄電素子ユニットを設置場所に安定して設置する。
【解決手段】
支持部材10は、床部2を含む設置場所Pに蓄電素子ユニット50を設置するための支持部材10である。支持部材10は、床部2上に配置され、且つ床部2に取り付けられる底板部11と、底板部11から立ち上がった側板部16と、を含む。側板部16は、蓄電素子ユニット50に取り付けられる。
【選択図】図1
特許請求の範囲
【請求項1】
床部を含む設置場所に蓄電素子ユニットを設置するための支持部材であって、
前記床部上に配置され、且つ前記床部に取り付けられる底板部と、
前記底板部から立ち上がった側板部と、を備え、
前記側板部は、前記蓄電素子ユニットに取り付けられる、支持部材。
続きを表示(約 850 文字)
【請求項2】
前記底板部は、第1面及び第2面を含み、前記第1面において前記蓄電素子ユニットに接続し、前記第2面において前記床部に接続し、
前記第1面及び前記第2面の間に空隙が形成される、請求項1に記載の支持部材。
【請求項3】
前記底板部は、第1面及び第2面を含み、前記第1面において前記蓄電素子ユニットに接続し、前記第2面において前記床部に接続し、
下面視における前記第2面の面積は、下面視における前記底板部の面積よりも小さい、請求項1に記載の支持部材。
【請求項4】
前記底板部及び前記側板部の少なくとも一方には、前記蓄電素子ユニットに電気的に接続される配線が通過可能な配線通過穴が設けられる、請求項1に記載の支持部材。
【請求項5】
前記蓄電素子ユニットは、蓄電素子モジュールを収容する筐体と、前記筐体に取り付けられて前記筐体の一部分を覆う化粧パネルと、を含み、
前記支持部材は、前記筐体を支持する第1部分と、前記化粧パネルを支持する第2部分と、を含む、請求項1に記載の支持部材。
【請求項6】
前記第2部分は、前記第1部分に着脱可能である、請求項5に記載の支持部材。
【請求項7】
前記底板部の側縁部と前記側板部の側縁部とを接続する接続部材をさらに備える、請求項1に記載の支持部材。
【請求項8】
前記底板部は、前記蓄電素子ユニットを下方から支持する、請求項1に記載の支持部材。
【請求項9】
前記設置場所は、前記床部から立ち上がった壁部を含み、
前記側板部は、前記壁部と前記蓄電素子ユニットの間に配置される、請求項1に記載の支持部材。
【請求項10】
請求項1~9のいずれか一項に記載の支持部材と、
前記支持部材に取り付けられた蓄電素子ユニットと、を備える、蓄電設備。
(【請求項11】以降は省略されています)
発明の詳細な説明
【技術分野】
【0001】
本開示は、支持部材、蓄電設備及び蓄電設備付き建物に関する。
続きを表示(約 1,300 文字)
【背景技術】
【0002】
特許文献1に開示されているように、蓄電素子ユニットが知られている。蓄電素子ユニットは、壁部に取り付けられる。
【先行技術文献】
【特許文献】
【0003】
特開2021-150274号公報
【発明の概要】
【発明が解決しようとする課題】
【0004】
蓄電素子ユニットの設置場所によっては、壁部において十分な強度を確保できず、蓄電素子ユニットを設置場所に安定して設置することができない。本開示は、蓄電素子ユニットを設置場所に安定して設置することを目的とする。
【課題を解決するための手段】
【0005】
本発明の一実施の形態による支持部材は、
床部を含む設置場所に蓄電素子ユニットを設置するための支持部材であって、
前記床部上に配置され、且つ前記床部に取り付けられる底板部と、
前記底板部から立ち上がった側板部と、を備え、
前記側板部は、前記蓄電素子ユニットに取り付けられる。
【発明の効果】
【0006】
本発明によれば、蓄電素子ユニットを設置場所に安定して設置できる。
【図面の簡単な説明】
【0007】
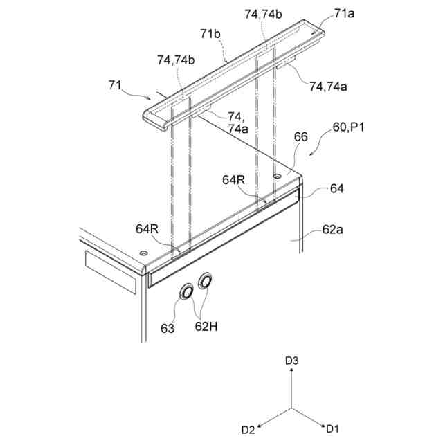
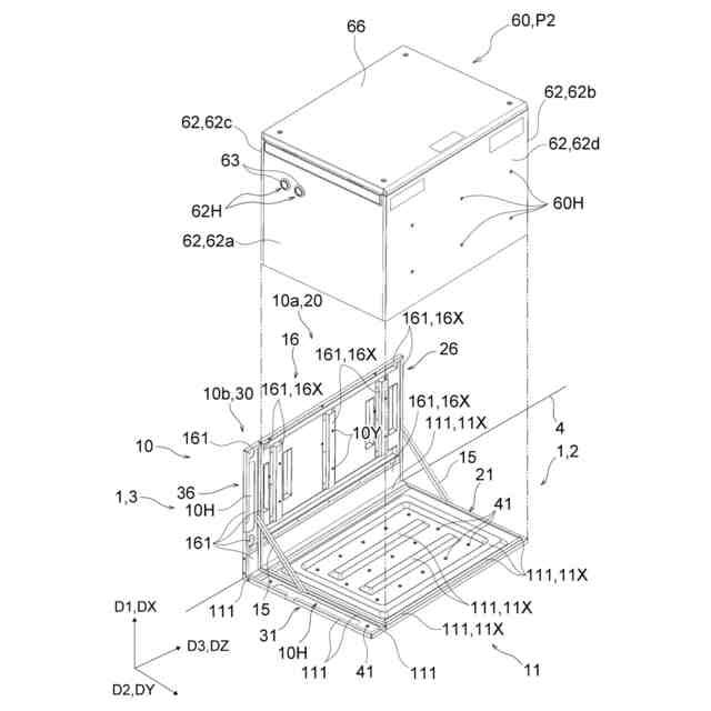
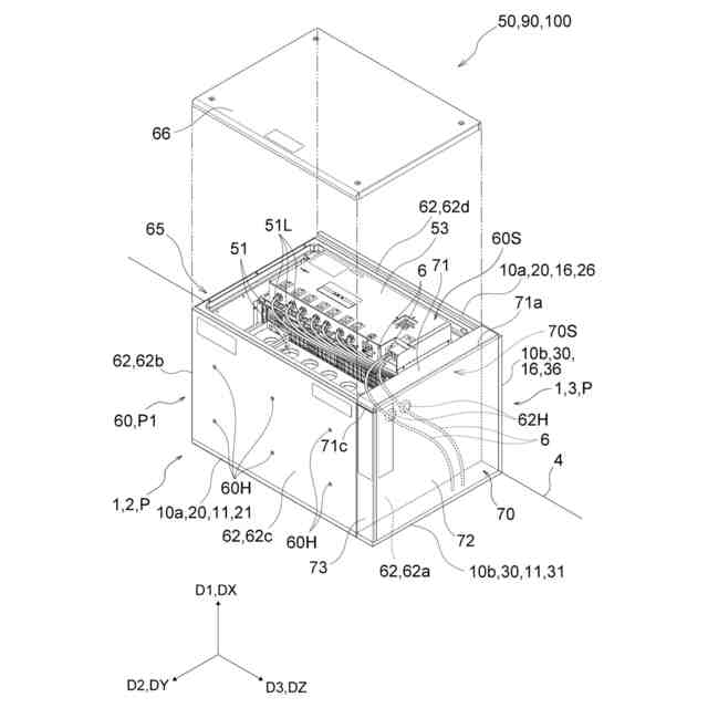
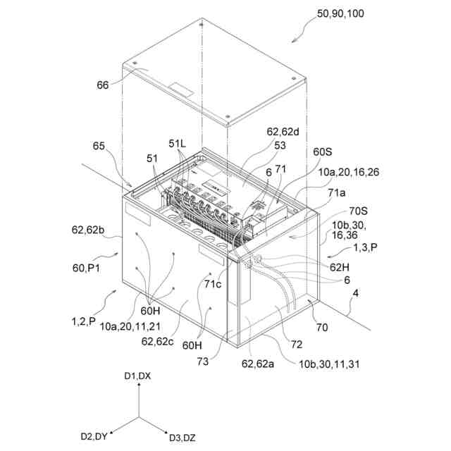
図1は、一実施の形態を説明するための図であって、蓄電設備付き建物の斜視図である。
図2は、図1の蓄電設備について、筐体を第1位置にて設置する場合の筐体本体及び支持部材を主に示す斜視図である。
図3は、図1の蓄電設備について、筐体を第2位置にて設置する場合の筐体及び支持部材を主に示す斜視図である。
図4は、筐体を第1位置にて設置する場合の第4側壁部及び支持部材を示す図である。
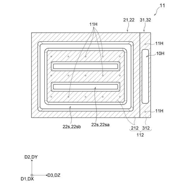
図5は、支持部材の底板部を示す図である。
図6は、支持部材の側板部を示す図である。
図7は、図5のVII-VII線による断面図である。
図8は、底板部の第2面を示す図である。
図9は、第1位置に設置される筐体に取り付けられる化粧パネルを部分的に示す斜視図である。
図10は、第1位置に設置される筐体に取り付けられる化粧パネルを部分的に示す斜視図である。
【発明を実施するための形態】
【0008】
本発明の一実施の形態は、以下の[1]~[13]に関する。
【0009】
[1] 床部を含む設置場所に蓄電素子ユニットを設置するための支持部材であって、
前記床部上に配置され、且つ前記床部に取り付けられる底板部と、
前記底板部から立ち上がった側板部と、を備え、
前記側板部は、前記蓄電素子ユニットに取り付けられる、支持部材。
【0010】
[2] 前記底板部は、第1面及び前記第1面よりも下方に位置する第2面を含み、前記第1面において前記蓄電素子ユニットに接続し、前記第2面において前記床部に接続する、[1]の支持部材。
(【0011】以降は省略されています)
この特許をJ-PlatPat(特許庁公式サイト)で参照する
関連特許
積水化学工業株式会社
複層管
5日前
積水化学工業株式会社
段ボール
13日前
積水化学工業株式会社
遺伝子導入方法
6日前
積水化学工業株式会社
螺旋管の製管装置
1日前
積水化学工業株式会社
螺旋管の製管装置
1日前
積水化学工業株式会社
ジオポリマー組成物
19日前
積水化学工業株式会社
熱伝導性樹脂組成物
5日前
積水化学工業株式会社
膜付き基材の製造方法及び粉体
1日前
積水化学工業株式会社
プログラム及び情報処理システム
1日前
積水化学工業株式会社
メタサーフェスシート及び窓構造
1日前
積水化学工業株式会社
接着性樹脂組成物、及び、仮固定材
1日前
積水化学工業株式会社
区画貫通処理構造及び区画貫通処理材
6日前
積水化学工業株式会社
区画貫通処理構造及び区画貫通処理材
6日前
積水化学工業株式会社
区画貫通処理構造及び区画貫通処理材
6日前
積水化学工業株式会社
支持部材、蓄電設備及び蓄電設備付き建物
9日前
積水化学工業株式会社
螺旋管製管用スペーサおよび螺旋管製管方法
19日前
積水化学工業株式会社
情報処理システム、情報処理方法及びプログラム
1日前
積水化学工業株式会社
情報処理システム、情報処理方法及びプログラム
1日前
積水化学工業株式会社
センサ一体型電磁誘導ケーブル及び電磁誘導システム
9日前
積水化学工業株式会社
管継手
19日前
積水化学工業株式会社
樹脂材料、積層フィルム、硬化物及び多層プリント配線板
13日前
積水化学工業株式会社
粘着テープ
5日前
積水化学工業株式会社
情報処理システム、情報処理方法、プログラム及び情報処理装置
1日前
積水化学工業株式会社
排水部材及び雨樋
27日前
積水化学工業株式会社
樹脂管の接続装置
27日前
積水化学工業株式会社
硬化性樹脂シート、車両及び車両部品、並びに車両及び車両部品の製造方法
27日前
積水化学工業株式会社
樹脂シート、車両及び車両部品並びに車両の製造方法及び車両部品の製造方法
今日
積水化学工業株式会社
還元剤およびガスの製造方法
13日前
積水化学工業株式会社
蓄電素子ユニットの設置方法、蓄電素子ユニット及び蓄電素子ユニット組合体
12日前
積水化学工業株式会社
蓄電素子ユニット、蓄電素子ユニット用の固定部材、及び蓄電素子ユニット付き建物
9日前
積水化学工業株式会社
ドレン部材、雨樋配管構造、及び建物
9日前
積水化学工業株式会社
合わせガラス用中間膜及び合わせガラス
5日前
積水化学工業株式会社
有機物質の製造方法及び有機物質製造装置
9日前
積水化学工業株式会社
ドレン部材及び雨樋配管構造、建物、屋根
9日前
積水化学工業株式会社
インクジェット用及びエアキャビティ形成用硬化性組成物、電子部品、及び電子部品の製造方法
1日前
積水化学工業株式会社
情報処理システム、情報処理方法及びプログラム
1日前
続きを見る
他の特許を見る