TOP
|
特許
|
意匠
|
商標
特許ウォッチ
Twitter
他の特許を見る
10個以上の画像は省略されています。
公開番号
2025148180
公報種別
公開特許公報(A)
公開日
2025-10-07
出願番号
2024048808
出願日
2024-03-25
発明の名称
情報処理システム、情報処理方法及びプログラム
出願人
積水化学工業株式会社
代理人
弁理士法人IPX
主分類
G16H
10/00 20180101AFI20250930BHJP(特定の用途分野に特に適合した情報通信技術)
要約
【課題】より高いセキュリティを有して診断情報を管理可能な情報処理システム等を提供する。
【解決手段】本発明の一態様によれば、情報処理システムが提供される。この情報処理システムは、少なくとも1つのプロセッサを備え、プロセッサはプログラムを読み出すことで次の各ステップを実行するように構成される。取得ステップでは、被験者への診断の結果を示す診断情報と、識別コードとを取得する。診断情報にも識別コードにも、被験者個人を特定可能な情報は含まれず、識別コードは、被験者を識別するためのコードである。管理ステップでは、診断情報を識別コードに関連付けて管理する。
【選択図】図7
特許請求の範囲
【請求項1】
情報処理システムであって、
少なくとも1つのプロセッサを備え、前記プロセッサはプログラムを読み出すことで次の各ステップを実行するように構成され、
取得ステップでは、被験者への診断の結果を示す診断情報と、識別コードとを取得し、ここで
前記診断情報にも前記識別コードにも、前記被験者個人を特定可能な情報は含まれず、
前記識別コードは、前記被験者を識別するためのコードであり、
管理ステップでは、前記診断情報を前記識別コードに関連付けて管理する、システム。
続きを表示(約 1,200 文字)
【請求項2】
請求項1に記載の情報処理システムにおいて、
前記識別コードは、参照情報を用いることで前記被験者を特定可能なコードであり、
前記参照情報は、前記識別コードとは異なる記憶媒体において管理されている、システム。
【請求項3】
請求項1に記載の情報処理システムにおいて、
前記識別コードは、
前記診断が行われた場所又は前記診断に用いられた設備を示す第1のコードと、
前記第1のコードに従属する、前記被験者を識別するための第2のコードとを含む、システム。
【請求項4】
請求項3に記載の情報処理システムにおいて、
前記識別コードは、前記第1のコードと前記第2のコードとを結合した態様を含む、システム。
【請求項5】
請求項4に記載の情報処理システムにおいて、
さらに第1の受付ステップでは、前記第2のコードを、従属先の第1のコードと別の第1のコードにさらに結合させるための指示を受け付け、
前記管理ステップでは、前記指示に基づいて発行された新たな識別コードを管理する、システム。
【請求項6】
請求項5に記載の情報処理システムにおいて、
前記管理ステップでは、前記第2のコードが前記別の第1のコードにさらに結合した場合にも、前記第2のコードと前記従属先の第1のコードとを含む元の識別コードを管理する、システム。
【請求項7】
請求項1に記載の情報処理システムにおいて、
前記識別コードは、所定のルールに基づく文字列によって規定される、システム。
【請求項8】
請求項1に記載の情報処理システムにおいて、
前記診断情報は、前記被験者の認知機能に関する情報を含む、システム。
【請求項9】
請求項1に記載の情報処理システムにおいて、
さらに
第2の受付ステップでは、ユーザによる、所望の診断情報へのアクセス要求を受け付け、ここで前記アクセス要求は、前記所望の診断情報に関連付けられた識別コードを含み、
第1の提示ステップでは、前記アクセス要求に応じて、前記ユーザに対して前記所望の診断情報を提示する、システム。
【請求項10】
請求項1に記載の情報処理システムにおいて、
さらに
第3の受付ステップでは、ユーザによる、前記診断情報又はこれを閲覧可能なサイトへのアクセス要求を受け付け、
送信ステップでは、前記アクセス要求を受け付けた場合に、前記ユーザに対してパスワードの入力要求を送信し、
第2の提示ステップでは、前記パスワードが認証される場合に、前記ユーザに対して前記診断情報又は前記サイトを提示する、システム。
(【請求項11】以降は省略されています)
発明の詳細な説明
【技術分野】
【0001】
本発明は、情報処理システム、情報処理方法及びプログラムに関する。
続きを表示(約 1,800 文字)
【背景技術】
【0002】
特許文献1には、症例を診断するとき参照となる必要な情報を効率的に収集することが可能な画像診断支援システムが開示されている。かかるシステムは、データベース、検索手段、及び出力手段を有する。データベースは、被検者が受けた検査の種別、各検査の順番、及び検査手技を含む第1情報と、検査により取得される医用画像を含む第2情報と、検査の検査結果を基に被検者が受けた治療の内容を含む第3情報とを対応付けて被検者毎の診療情報として記憶する。検索手段は、一の被検者の患者情報を受けて、一の被検者の診断情報から抽出された第1情報と他の被検者の診療情報の中から抽出された第1情報との一部又は全部が一致する他の被検者の第1情報に対応付けられた第2情報と第3情報とを抽出する。出力手段は抽出された前記第2情報と第3情報とを出力する。
【先行技術文献】
【特許文献】
【0003】
特開2019-079271号公報
【発明の概要】
【発明が解決しようとする課題】
【0004】
しかしながら、公知技術に係る機能には未だ改善の余地がある。例えば、特許文献1に開示されるような医用画像を取り扱うものに限らず、とりわけ、診断情報に対応する個人情報保護を目的として、より高いセキュリティ技術の実現が望まれている。
【0005】
本発明では上記事情に鑑み、より高いセキュリティを有して診断情報を管理可能な情報処理システム等を提供することとした。
【課題を解決するための手段】
【0006】
本発明の一態様によれば、情報処理システムが提供される。この情報処理システムは、少なくとも1つのプロセッサを備え、プロセッサはプログラムを読み出すことで次の各ステップを実行するように構成される。取得ステップでは、被験者への診断の結果を示す診断情報と、識別コードとを取得する。診断情報にも識別コードにも、被験者個人を特定可能な情報は含まれず、識別コードは、被験者を識別するためのコードである。管理ステップでは、診断情報を識別コードに関連付けて管理する。
【0007】
かかる態様によれば、より高いセキュリティを有して診断情報を管理することができる。
【図面の簡単な説明】
【0008】
一実施形態に係る情報処理システム1を表す構成図である。
サーバ装置2のハードウェア構成を示すブロック図である。
端末3のハードウェア構成を示すブロック図である。
一実施形態に係るサーバ装置2の機能構成を示すブロック図である。
情報処理システム1によって実行される処理の概要を示すフローチャートである。
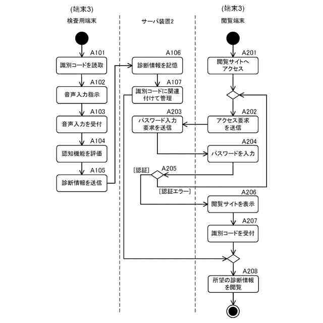
情報処理システム1によって実行される処理の具体例を示すアクティビティ図である。
識別コードCdの一例を示す概要図である。
識別コードCdの再結合に関する一例を示す概要図である。
参照情報IF0の一例を示す概要図である。
診断情報IF2の閲覧サイトの画面例であり、特に図10Aには、ログイン画面5が示され、図10Bには、閲覧画面6が示されている。
端末3(例えば、図6における検査用端末)の表示部34に表示される音声入力の指示画面7の一例を示している。
端末3の表示部34に表示される録音画面8の一例を示している。
端末3の表示部34に表示される評価結果表示画面9の一例を示している。
【発明を実施するための形態】
【0009】
以下、図面を用いて本発明の実施形態について説明する。以下に示す実施形態中で示した各種特徴事項は、互いに組み合わせ可能である。
【0010】
ところで、一実施形態に登場するソフトウェアを実現するためのプログラムは、コンピュータが読み取り可能な非一時的な記録媒体(Non-Transitory Computer-Readable Medium)として提供されてもよいし、外部のサーバからダウンロード可能に提供されてもよいし、外部のコンピュータで当該プログラムを起動させてクライアント端末でその機能を実現(いわゆるクラウドコンピューティング)するように提供されてもよい。
(【0011】以降は省略されています)
この特許をJ-PlatPat(特許庁公式サイト)で参照する
関連特許
積水化学工業株式会社
耐火処理構造
1日前
積水化学工業株式会社
耐火処理構造
1日前
積水化学工業株式会社
更生管の製管方法
1日前
積水化学工業株式会社
生産管理システムおよび方法
1日前
積水化学工業株式会社
生産管理システムおよび方法
1日前
積水化学工業株式会社
プログラム及び情報処理システム
3日前
積水化学工業株式会社
継手、配管構造、配管の施工方法
1日前
積水化学工業株式会社
接着性樹脂組成物、及び、仮固定材
3日前
積水化学工業株式会社
鉄道用枕木、及び鉄道用枕木の製造方法
1日前
積水化学工業株式会社
樹脂材料、硬化物及び多層プリント配線板
1日前
積水化学工業株式会社
樹脂材料、硬化物及び多層プリント配線板
1日前
積水化学工業株式会社
フラットデッキ、防火区画構造及びフラットデッキの製造方法
1日前
積水化学工業株式会社
ポリオール組成物、難燃性ウレタン樹脂組成物、及びポリウレタン発泡体
1日前
積水化学工業株式会社
ポリオール組成物、不燃性ウレタン樹脂組成物、及びポリウレタン発泡体
1日前
積水化学工業株式会社
ポリオール組成物、難燃性ウレタン樹脂組成物、及びポリウレタン発泡体
1日前
積水化学工業株式会社
ポリオール液剤、ウレタン組成物、ポリウレタンフォーム及び金属フレーム
1日前
積水化学工業株式会社
樹脂シート、車両及び車両部品並びに車両の製造方法及び車両部品の製造方法
2日前
積水化学工業株式会社
ポリオレフィン系樹脂発泡体、CMP研磨用発泡体及びCMP研磨用フォームテープ
1日前
個人
支援システム
4か月前
個人
医療のAI化
29日前
個人
管理装置
4か月前
個人
対話システム
4か月前
個人
通知ぬいぐるみAIシステム
1か月前
個人
情報システムおよび方法
6か月前
株式会社タカゾノ
薬剤秤量装置
2か月前
株式会社タカゾノ
薬剤秤量装置
2か月前
株式会社タカゾノ
薬剤秤量装置
4か月前
株式会社タカゾノ
薬剤秤量装置
2か月前
株式会社タカゾノ
薬剤秤量装置
2か月前
株式会社タカゾノ
薬剤秤量装置
2か月前
株式会社リコー
投薬管理システム
1か月前
TOTO株式会社
健康管理システム
1日前
個人
診療の管理装置及び診療システム
2か月前
ゾーン株式会社
コンピュータシステム
5か月前
株式会社M-INT
情報処理システム
5か月前
株式会社サンクスネット
情報提供システム
4か月前
続きを見る
他の特許を見る