TOP
|
特許
|
意匠
|
商標
特許ウォッチ
Twitter
他の特許を見る
10個以上の画像は省略されています。
公開番号
2025137622
公報種別
公開特許公報(A)
公開日
2025-09-19
出願番号
2025117242,2024074359
出願日
2025-07-11,2019-09-26
発明の名称
管継手
出願人
積水化学工業株式会社
代理人
個人
,
個人
,
個人
,
個人
主分類
F16L
21/00 20060101AFI20250911BHJP(機械要素または単位;機械または装置の効果的機能を生じ維持するための一般的手段)
要約
【課題】内部を流れる液体が樹脂継手部と金属継手部との接続部分から外部に漏れるのを抑制した管継手を提供する。
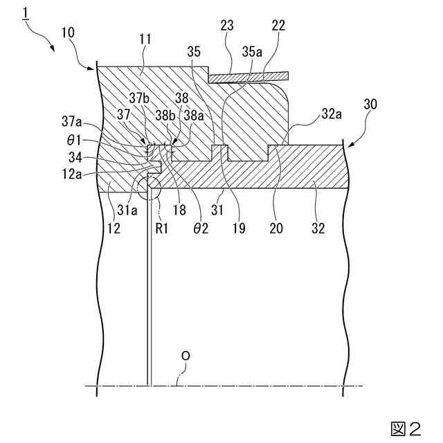
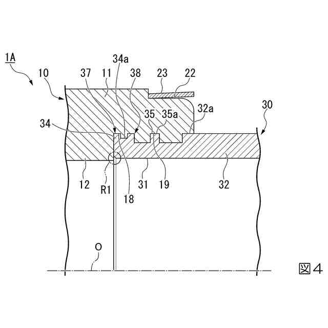
【解決手段】管継手1は、樹脂管が溶融接続される溶融接続部を有する樹脂継手部10と、第1端部に金属管がネジ嵌合により接続されるネジ部が形成され、第2端部の外側の表面が樹脂継手部に覆われた金属継手部30と、を備え、金属継手部の第2端部の外周面には、環状突起34が形成され、環状突起における金属継手部の軸線O方向の少なくとも一方の端部には、外周面が平坦である封止角部37,38が形成されている。
【選択図】図2
特許請求の範囲
【請求項1】
樹脂管が溶融接続される溶融接続部を有する樹脂継手部と、
第1端部に金属管がネジ嵌合により接続されるネジ部が形成され、第2端部の外側の表面が前記樹脂継手部に覆われた金属継手部と、
を備え、
前記金属継手部の前記第2端部の外周面には、環状突起が形成され、
前記環状突起における前記金属継手部の軸線方向の少なくとも一方の端部には、外周面が平坦である封止角部が形成されている管継手。
続きを表示(約 570 文字)
【請求項2】
前記環状突起の前記軸線方向の両端部には、前記封止角部がそれぞれ形成されている請求項1に記載の管継手。
【請求項3】
前記金属継手部の前記軸線方向の前記第2端部側の端、及び前記環状突起の前記軸線方向の前記第2端部側の端の位置は、互いに同等である請求項1又は2に記載の管継手。
【請求項4】
前記封止角部は、前記環状突起における前記軸線方向の前記第1端部側の端部に形成され、
前記環状突起における前記軸線方向の前記第2端部側の外周面は、前記第2端部側に向かうに従い漸次、外径が小さくなる請求項1から3のいずれか一項に記載の管継手。
【請求項5】
前記封止角部よりも前記軸線方向の前記第1端部側に配置され、前記樹脂継手部に対して前記金属継手部が前記軸線周りに回転するのを規制する規制部を備える請求項1から4のいずれか一項に記載の管継手。
【請求項6】
樹脂管が溶融接続される溶融接続部を有する樹脂継手部と、
第1端部に金属管がネジ嵌合により接続されるネジ部が形成され、第2端部の外側の表面が前記樹脂継手部に覆われた金属継手部と、
を備え、
前記金属継手部の前記第2端部には、外周面が平坦である封止角部が形成されている管継手。
発明の詳細な説明
【技術分野】
【0001】
本発明は、管継手に関する。
続きを表示(約 1,900 文字)
【背景技術】
【0002】
従来、樹脂管と金属管とを接続する管継手として、例えば特許文献1に開示された管継手が知られている。
管継手は、樹脂管が溶融接続される樹脂継手部と、金属管がネジ嵌合により接続される金属継手部とが、互いに接続されて構成されている。
【先行技術文献】
【特許文献】
【0003】
特開2000-291854号公報
【発明の概要】
【発明が解決しようとする課題】
【0004】
管継手内には、排水等の液体が流れる。樹脂継手部と金属継手部との接続部分の封止が充分でないと、管継手の内部を流れる液体が、樹脂継手部と金属継手部との接続部分から管継手の外部に漏れる虞がある。
【0005】
本発明は、このような問題点に鑑みてなされたものであって、内部を流れる液体が樹脂継手部と金属継手部との接続部分から外部に漏れるのを抑制した管継手を提供することを目的とする。
【課題を解決するための手段】
【0006】
前記課題を解決するために、この発明は以下の手段を提案している。
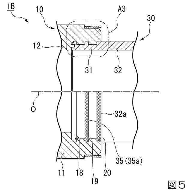
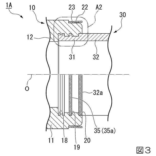
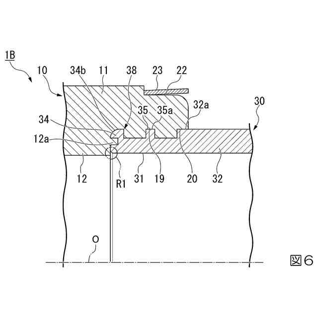
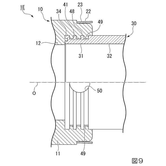
本発明の管継手は、樹脂管が溶融接続される溶融接続部を有する樹脂継手部と、第1端部に金属管がネジ嵌合により接続されるネジ部が形成され、第2端部の外側の表面が前記樹脂継手部に覆われた金属継手部と、を備え、前記金属継手部の前記第2端部の外周面には、環状突起が形成され、前記環状突起における前記金属継手部の軸線方向の少なくとも一方の端部には、外周面が平坦である封止角部が形成されていることを特徴としている。
ここで言う封止角部は、軸線を含む断面において、環状突起の側面の一部である第1表面、及び環状突起の外周面の一部である第2表面を含む。封止角部の第1表面及び第2表面は、それぞれ樹脂継手部により覆われている。また、ここで言う平坦とは、算術平均粗さRaが500μm以下であることを意味する。この算術平均粗さRaは、300μm以下であることがより好ましく、100μm以下であることがさらに好ましい。
【0007】
仮に、管継手内における樹脂継手部と金属継手部との接続部分から液体が漏れた場合には、液体は、第1表面と樹脂継手部との間、及び第2表面と樹脂継手部との間に形成される流路を通って、管継手の外部に向かって流れる。第1表面と樹脂継手部との間と第2表面と樹脂継手部との間とで、液体が流れる向きが大きく変化するため、液体が、第1表面と樹脂継手部との間及び第2表面と樹脂継手部との間の一方から他方に向かって流れる際の圧力損失が大きくなる。このため、液体が、第1表面と樹脂継手部との間及び第2表面と樹脂継手部との間の一方から他方に向かって流れ難くなる。
従って、管継手内を流れる液体が、樹脂継手部と金属継手部との接続部分から管継手の外部に漏れるのを抑制することができる。
【0008】
また、前記管継手において、前記環状突起の前記軸線方向の両端部には、前記封止角部がそれぞれ形成されていてもよい。
この発明によれば、環状突起の軸線方向の両端部に形成された封止角部で液体の漏れを抑制できるため、液体の漏れをより確実に抑制することができる。
【0009】
また、前記管継手において、前記金属継手部の前記軸線方向の前記第2端部側の端、及び前記環状突起の前記軸線方向の前記第2端部側の端の位置は、互いに同等であってもよい。
この発明によれば、例えば金属継手部の軸線方向の第2端部側の端に、管継手内における樹脂継手部と金属継手部との接続部分が位置する。従って、樹脂継手部と金属継手部との接続部分に近い位置、すなわち、管継手内から液体が漏れる虞のある流路の上流側の部分で、、封止角部により液体が漏れるのを抑制することができる。
【0010】
また、前記管継手において、前記封止角部は、前記環状突起における前記軸線方向の前記第1端部側の端部に形成され、前記環状突起における前記軸線方向の前記第2端部側の外周面は、前記第2端部側に向かうに従い漸次、外径が小さくなってもよい。
この発明によれば、例えば管継手をインサート成形により製造する場合に、金型内に配置した金属継手部の環状突起における第2端部側の部分の径方向外側に、樹脂継手部を形成する樹脂が回り込みやすくすることができる。そして、環状突起における第1端部側に形成された封止角部により、管継手内を流れる液体が、樹脂継手部と金属継手部との接続部分から管継手の外部に漏れるのを抑制することができる。
(【0011】以降は省略されています)
この特許をJ-PlatPat(特許庁公式サイト)で参照する
関連特許
積水化学工業株式会社
遺伝子導入方法
1日前
積水化学工業株式会社
区画貫通処理構造及び区画貫通処理材
1日前
積水化学工業株式会社
区画貫通処理構造及び区画貫通処理材
1日前
積水化学工業株式会社
区画貫通処理構造及び区画貫通処理材
1日前
積水化学工業株式会社
有機物質の製造方法及び有機物質製造装置
4日前
積水化学工業株式会社
蓄電素子ユニット組合体、蓄電素子ユニット組合体の設置方法、蓄電素子ユニット組合体付き建物、及び蓄電素子ユニット組合体付き建物の製造方法
1日前
個人
鍋虫ねじ
1か月前
個人
回転伝達機構
1か月前
個人
紛体用仕切弁
1か月前
個人
差動歯車用歯形
3か月前
個人
ジョイント
14日前
株式会社不二工機
電磁弁
3か月前
個人
地震の揺れ回避装置
2か月前
株式会社不二工機
電磁弁
4か月前
個人
ナット
15日前
個人
吐出量監視装置
1か月前
カヤバ株式会社
ダンパ
3か月前
カヤバ株式会社
ダンパ
3か月前
カヤバ株式会社
緩衝器
2か月前
柿沼金属精機株式会社
分岐管
1か月前
カヤバ株式会社
緩衝器
2か月前
株式会社フジキン
ボールバルブ
3か月前
個人
固着具と固着具の固定方法
4か月前
株式会社ノーリツ
分配弁
4か月前
株式会社奥村組
制振機構
4日前
個人
固着具と固着具の固定方法
4か月前
株式会社ノーリツ
分配弁
4か月前
株式会社ノーリツ
分配弁
4か月前
株式会社奥村組
制振機構
4日前
アズビル株式会社
回転弁
8日前
株式会社タカギ
水栓装置
1か月前
個人
固着具と固着具の固定方法
4か月前
株式会社不二工機
電磁弁
1か月前
株式会社不二越
転がり軸受
1か月前
井関農機株式会社
作業車両
3か月前
個人
ワンウェイベアリング
2か月前
続きを見る
他の特許を見る