TOP
|
特許
|
意匠
|
商標
特許ウォッチ
Twitter
他の特許を見る
公開番号
2025144198
公報種別
公開特許公報(A)
公開日
2025-10-02
出願番号
2024043865
出願日
2024-03-19
発明の名称
蓄電素子ユニット組合体、蓄電素子ユニット組合体の設置方法、蓄電素子ユニット組合体付き建物、及び蓄電素子ユニット組合体付き建物の製造方法
出願人
積水化学工業株式会社
代理人
個人
,
個人
,
個人
主分類
H01M
50/251 20210101AFI20250925BHJP(基本的電気素子)
要約
【課題】複数の蓄電素子ユニットを建物内部に安定して固定する。
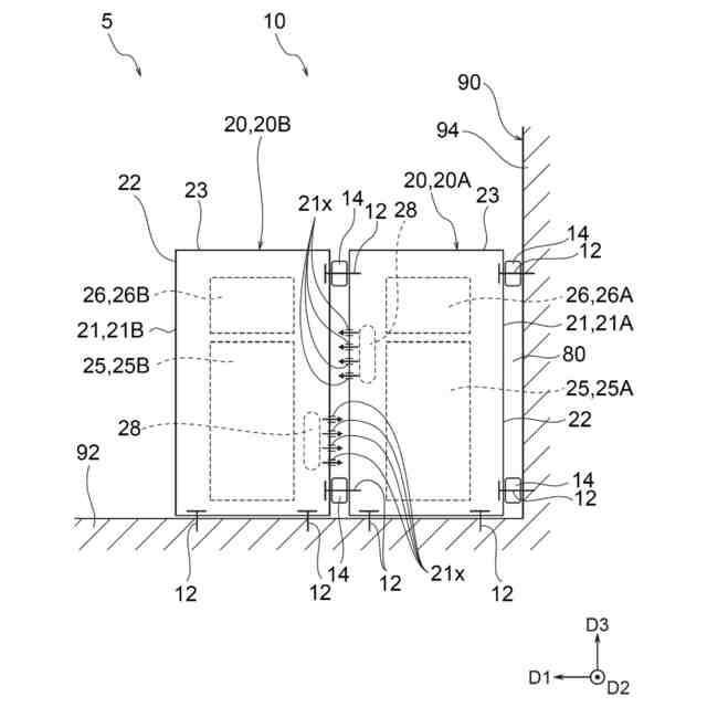
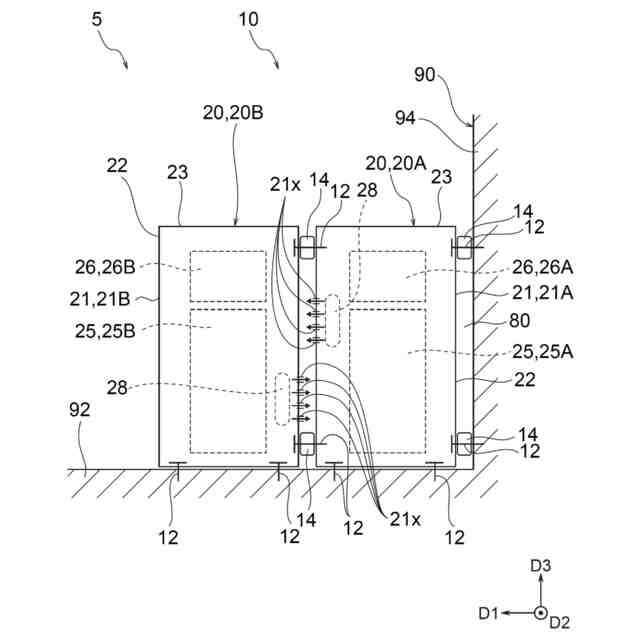
【解決手段】蓄電素子ユニット組合体付き建物は、第1蓄電素子ユニット及び第2蓄電素子ユニットを含む。第1蓄電素子ユニットは、建物の内部に固定にされる。第2蓄電素子ユニットは、建物の内部に配置される。第2蓄電素子ユニット20Bは、第1蓄電素子ユニットに、直接又はスペーサを介して、固定される。
【選択図】図3
特許請求の範囲
【請求項1】
建物の内部に、直接又はスペーサを介して、固定される第1蓄電素子ユニットと、
前記建物の内部に配置され、前記第1蓄電素子ユニットに、直接又はスペーサを介して、固定される第2蓄電素子ユニットと、を備える、蓄電素子ユニット組合体。
続きを表示(約 970 文字)
【請求項2】
前記第1蓄電素子ユニットは、前記建物に固定される第1筐体と、前記第1筐体に収容された第1蓄電素子モジュールと、前記第1筐体に収容されて前記第1蓄電素子モジュールと電気的に接続した第1制御モジュールと、を含み、
前記第2蓄電素子ユニットは、前記第1蓄電素子ユニットに固定される第2筐体と、前記第2筐体に収容された第2蓄電素子モジュールと、前記第2筐体に収容されて前記第2蓄電素子モジュールと電気的に接続した第2制御モジュールと、を含む、請求項1に記載の蓄電素子ユニット組合体。
【請求項3】
前記第2蓄電素子ユニットは、前記第1蓄電素子ユニットの上方に位置する、請求項1に記載の蓄電素子ユニット組合体。
【請求項4】
前記第1蓄電素子ユニットは、前記建物の壁部に対面して配置され、前記壁部及び前記第2蓄電素子ユニットの間に位置する、請求項1に記載の蓄電素子ユニット組合体。
【請求項5】
前記第1蓄電素子ユニットは、前記建物の壁部に対面して配置され、
前記第2蓄電素子ユニットは、前記壁部に沿って前記第1蓄電素子ユニットの側方に配置される、請求項1に記載の蓄電素子ユニット組合体。
【請求項6】
前記第1蓄電素子ユニット及び前記第2蓄電素子ユニットの間に空隙が設けられている、請求項1~5のいずれか一項に記載の蓄電素子ユニット組合体。
【請求項7】
前記第1蓄電素子ユニット及び前記建物の間に空隙が設けられている、請求項1~5のいずれか一項に記載の蓄電素子ユニット組合体。
【請求項8】
前記第1蓄電素子ユニット及び前記第2蓄電素子ユニットの少なくとも一方は、前記空隙に向けて送風する送風機を含む、請求項6に記載の蓄電素子ユニット組合体。
【請求項9】
前記第2蓄電素子ユニットの容量は、前記第1蓄電素子ユニットの容量と同じである、請求項1~5のいずれか一項に記載の蓄電素子ユニット組合体。
【請求項10】
前記第2蓄電素子ユニットは、前記第1蓄電素子ユニットと同一の構成を有する、請求項1~5のいずれか一項に記載の蓄電素子ユニット組合体。
(【請求項11】以降は省略されています)
発明の詳細な説明
【技術分野】
【0001】
本発明は、蓄電素子ユニット組合体、蓄電素子ユニット組合体の設置方法、蓄電素子ユニット組合体付き建物、及び蓄電素子ユニット組合体付き建物の製造方法に関する。
続きを表示(約 1,200 文字)
【背景技術】
【0002】
特許文献1に記載されているように、蓄電素子ユニットが知られている。蓄電素子ユニットは、蓄電素子モジュール及び制御モジュールを含む。制御モジュールは、蓄電素子モジュールと電気的に接続している。蓄電素子モジュールは二次電池として機能する。制御モジュールは、蓄電素子モジュールを制御する。
【0003】
近年、蓄電素子ユニットを建物の内部に設置することが検討されている。また、電気自動車等の普及により、蓄電素子ユニットの大容量化も要望されている。
【先行技術文献】
【特許文献】
【0004】
特開2017-5027号公報
【発明の概要】
【発明が解決しようとする課題】
【0005】
しかしながら、大容量の蓄電素子ユニットは、柱等の構造物を利用して、建物に固定する必要がある。したがって、大容量の蓄電素子ユニットの設置場所の選択の自由度は低く、大容量の蓄電素子ユニットを建物の内部に安定して固定することは容易でない。その一方で、設置対象となる建物の設置場所毎に、蓄電素子ユニットの外形状や容量を調節することは製造原価の観点から現実的でない。
【0006】
本発明は、以上の点を考慮してなされたものであり、複数の蓄電素子ユニットを建物内部に安定して固定することを目的とする。
【課題を解決するための手段】
【0007】
本発明の一実施の形態による蓄電素子ユニット組合体は、
建物の内部に、直接又はスペーサを介して、固定される第1蓄電素子ユニットと、
前記建物の内部に配置され、前記第1蓄電素子ユニットに、直接又はスペーサを介して、固定される第2蓄電素子ユニットと、を含む。
【0008】
本発明の一実施の形態による蓄電素子ユニット組合体付き建物は、
本発明の一実施の形態による蓄電素子ユニット組合体と、
前記蓄電素子ユニット組合体が内部に固定された前記建物と、を含む。
【0009】
本発明の一実施の形態による蓄電素子ユニット組合体の設置方法は、
第1蓄電素子ユニットを設置する第1設置工程と、
第2蓄電素子ユニットを設置する第2設置工程と、を含み、
前記第1設置工程において、建物の内部において、前記第1蓄電素子ユニットを前記建物に、直接又はスペーサを介して、固定し、
前記第2設置工程において、前記建物の内部において、前記建物に固定された前記第1蓄電素子ユニットに、直接又はスペーサを介して、前記第2蓄電素子ユニットを固定する。
【0010】
本発明の一実施の形態による蓄電素子ユニット組合体付き建物の製造方法は、
本発明の一実施の形態による蓄電素子ユニット組合体の設置方法により、前記蓄電素子ユニット組合体を前記建物に設置する工程を備える。
【発明の効果】
(【0011】以降は省略されています)
この特許をJ-PlatPat(特許庁公式サイト)で参照する
関連特許
積水化学工業株式会社
複層管
2日前
積水化学工業株式会社
遺伝子導入方法
3日前
積水化学工業株式会社
熱伝導性樹脂組成物
2日前
積水化学工業株式会社
区画貫通処理構造及び区画貫通処理材
3日前
積水化学工業株式会社
区画貫通処理構造及び区画貫通処理材
3日前
積水化学工業株式会社
区画貫通処理構造及び区画貫通処理材
3日前
積水化学工業株式会社
支持部材、蓄電設備及び蓄電設備付き建物
6日前
積水化学工業株式会社
センサ一体型電磁誘導ケーブル及び電磁誘導システム
6日前
積水化学工業株式会社
粘着テープ
2日前
積水化学工業株式会社
蓄電素子ユニットの設置方法、蓄電素子ユニット及び蓄電素子ユニット組合体
9日前
積水化学工業株式会社
蓄電素子ユニット、蓄電素子ユニット用の固定部材、及び蓄電素子ユニット付き建物
6日前
積水化学工業株式会社
ドレン部材、雨樋配管構造、及び建物
6日前
積水化学工業株式会社
合わせガラス用中間膜及び合わせガラス
2日前
積水化学工業株式会社
有機物質の製造方法及び有機物質製造装置
6日前
積水化学工業株式会社
ドレン部材及び雨樋配管構造、建物、屋根
6日前
積水化学工業株式会社
発泡剤添加装置、吹付用発泡機、発泡剤添加方法及び発泡体製造方法
2日前
積水化学工業株式会社
ポリオール組成物、発泡性ポリウレタン組成物及びポリウレタンフォーム
2日前
積水化学工業株式会社
蓄電素子ユニット組合体、蓄電素子ユニット組合体の設置方法、蓄電素子ユニット組合体付き建物、及び蓄電素子ユニット組合体付き建物の製造方法
3日前
個人
安全なNAS電池
1か月前
東レ株式会社
多孔質炭素シート
25日前
日本発條株式会社
積層体
6日前
個人
防雪防塵カバー
6日前
ローム株式会社
半導体装置
4日前
ローム株式会社
半導体装置
4日前
エイブリック株式会社
半導体装置
27日前
エイブリック株式会社
半導体装置
27日前
ローム株式会社
半導体装置
25日前
キヤノン株式会社
電子機器
25日前
ローム株式会社
半導体装置
4日前
ローム株式会社
半導体装置
2日前
株式会社ティラド
面接触型熱交換器
17日前
株式会社GSユアサ
蓄電装置
2日前
個人
半導体パッケージ用ガラス基板
5日前
株式会社GSユアサ
蓄電装置
6日前
ニチコン株式会社
コンデンサ
18日前
東レ株式会社
ガス拡散層の製造方法
25日前
続きを見る
他の特許を見る