TOP
|
特許
|
意匠
|
商標
特許ウォッチ
Twitter
他の特許を見る
10個以上の画像は省略されています。
公開番号
2025144373
公報種別
公開特許公報(A)
公開日
2025-10-02
出願番号
2024044119
出願日
2024-03-19
発明の名称
区画貫通処理構造及び区画貫通処理材
出願人
積水化学工業株式会社
代理人
個人
,
個人
主分類
E04B
1/94 20060101AFI20250925BHJP(建築物)
要約
【課題】耐火性能のバラつきを低減し、かつ耐火性能を向上させることができる区画貫通処理構造及び区画貫通処理材を提供する。
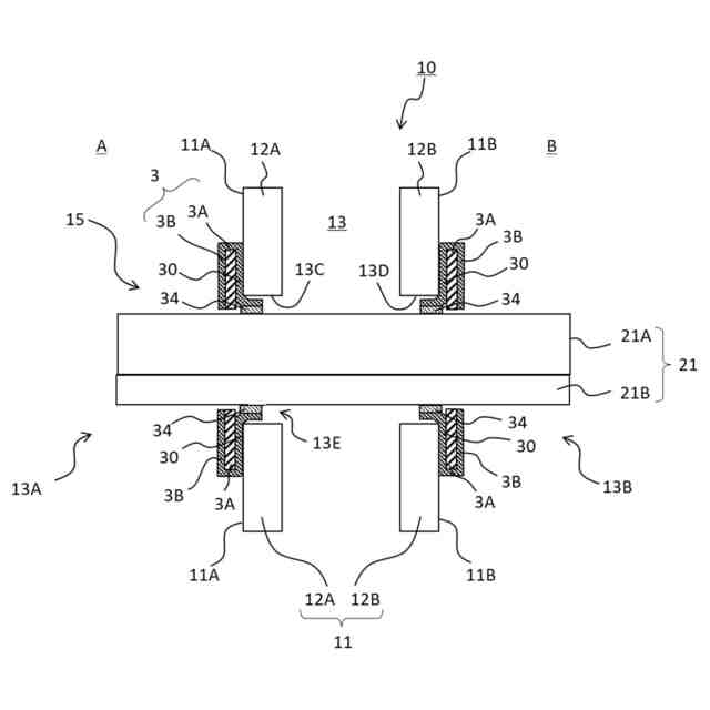
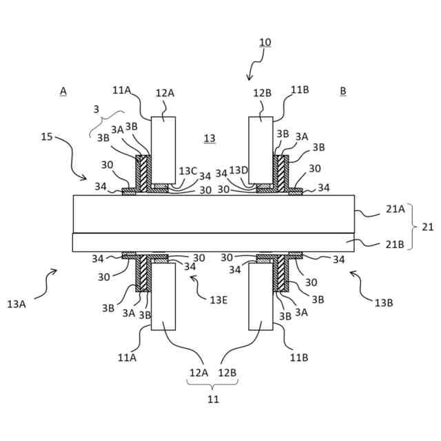
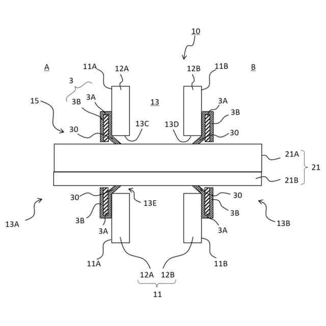
【解決手段】建築物の仕切り部11に形成され、かつ内部に長尺の挿通体21が挿通される区画貫通部15を耐火構造とする区画貫通処理構造10であって、挿通体21に沿って配置され、仕切り部11に設けられる区画貫通部15の開口13Cと挿通体21との間の間隙の少なくとも一部を塞ぐ多層構造のシート状部材3を備え、シート状部材3は、多層構造を構成する一部の層が他の層より延在する延在部30を有し、延在部30が挿通体21及び仕切り部11の少なくとも一方に接するように配置される、区画貫通処理構造。
【選択図】図1
特許請求の範囲
【請求項1】
建築物の仕切り部に形成され、かつ内部に長尺の挿通体が挿通される区画貫通部を耐火構造とする区画貫通処理構造であって、
前記挿通体に沿って配置され、前記仕切り部に設けられる前記区画貫通部の開口と前記挿通体との間の間隙の少なくとも一部を塞ぐ多層構造のシート状部材を備え、
前記シート状部材は、多層構造を構成する一部の層が他の層より延在する延在部を有し、
前記延在部が前記挿通体及び前記仕切り部の少なくとも一方に接するように配置される、区画貫通処理構造。
続きを表示(約 640 文字)
【請求項2】
前記シート状部材は、基材、粘着層、クッション層及び耐火材層からなる群から選ばれる少なくとも1種の層を有する、請求項1に記載の区画貫通処理構造。
【請求項3】
前記シート状部材が、前記基材及び前記耐火材層を有する、請求項2に記載の区画貫通処理構造。
【請求項4】
前記シート状部材は、前記延在部の一部に積層物を有する、請求項1に記載の区画貫通処理構造。
【請求項5】
前記積層物が前記挿通体及び前記仕切り部の少なくとも一方に接するように配置される、請求項4に記載の区画貫通処理構造。
【請求項6】
前記区画貫通部の内部に挿通体以外に、何も設けられない、請求項1に記載の区画貫通処理構造。
【請求項7】
前記区画貫通部の内部に挿通体以外に、前記延在部が配置されている、請求項1に記載の区画貫通処理構造。
【請求項8】
前記シート状部材は、切込みによる切片を有し、前記切片が前記挿通体に沿って配置される、請求項1に記載の区画貫通処理構造。
【請求項9】
前記シート状部材の延在部が、前記シート状部材のスリットと異なるパターンのスリットを有する、又はスリットを有さない、請求項1に記載の区画貫通処理構造。
【請求項10】
前記シート状部材が、前記仕切り部の両側に設けられる請求項1に記載の区画貫通処理構造。
(【請求項11】以降は省略されています)
発明の詳細な説明
【技術分野】
【0001】
本発明は、建築物などの仕切り部において形成される区画貫通処理構造及び区画貫通処理材に関する。
続きを表示(約 2,900 文字)
【背景技術】
【0002】
集合住宅、オフィスビル、学校等の建築物において、壁等の仕切り部には、ケーブル類、配管類などの長尺の挿通体を通すために、区画貫通部が設けられることがある。区画貫通部は、いずれかの区画で火災が発生した際に、他の区画への延焼を防止するために、防火措置を施した構造(耐火構造)にすることが求められている。仕切り部は、2枚の壁部からなり、壁部間が中空部となっている中空壁が一般的である。
【0003】
区画貫通部を耐火構造とする方法は、例えば、長尺の挿通体と貫通孔の間隙に、耐火パテなどの不定形充填材を充填する方法が知られている。不定形充填材を使用する場合、各壁部の貫通孔内部と、挿通体の間には、耐火材よりなる筒状部材などが合わせて配設されることもある(例えば、特許文献1、2参照)。
【先行技術文献】
【特許文献】
【0004】
特許第6150933号公報
特許第6348320号公報
【発明の概要】
【発明が解決しようとする課題】
【0005】
しかしながら、区画貫通部の防火処理に不定形充填材を使用した場合、作業者によるバラつきがあり、十分な耐火性能が得られないことがある。また、躯体内に耐火材及びその付属品等を設置する場合、それらがどの程度(量や厚み、長さ等)設置されているか明確でなかったり、規定通りに設置されているか判断できなかったりすることがある。そのため、規定通りに耐火材などが設置されているか否かを確認するためには、区画貫通処理構造を破壊して、内部構造を確認する必要がある。
【0006】
また、作業者によるバラつきを低減するため、あらかじめ決められた量、及び大きさの部材が一体化されたキットがあったが、部材点数が多い傾向があり、部材紛失や設置し忘れが生じやすく、また、キットごとの梱包のため、発生するゴミが多いという問題もある。
【0007】
また、内部にケーブル類及び配管類等の長尺の挿通体が挿通される区画貫通構造においては、区画貫通処理構造を施した後に挿通体を動かした場合には、内部に設置された耐火材などが設置されていた適切な位置からずれてしまうことがある。また、地震等の外力によっても、耐火材などが設置されていた適切な位置からずれてしまうことがある。また、耐火材が均一に膨張せずに偏って膨張すると設置されていた適切な位置からずれたり、脱落したりすることがある。このように、耐火材などが設置されていた適切な位置からずれてしまうことによって、区画貫通部の耐火構造として望まれる耐火性能を発揮することが困難となる。
【0008】
そこで、本発明は、耐火性能のバラつきを低減し、かつ耐火性能を向上させることができる区画貫通処理構造及び区画貫通処理材を提供することを課題とする。
【課題を解決するための手段】
【0009】
本発明は、上記課題を解決するためになされたものであり、本発明の要旨は、以下のとおりである。
[1]建築物の仕切り部に形成され、かつ内部に長尺の挿通体が挿通される区画貫通部を耐火構造とする区画貫通処理構造であって、前記挿通体に沿って配置され、前記仕切り部に設けられる前記区画貫通部の開口と前記挿通体との間の間隙の少なくとも一部を塞ぐ多層構造のシート状部材を備え、前記シート状部材は、多層構造を構成する一部の層が他の層より延在する延在部を有し、前記延在部が前記挿通体及び前記仕切り部の少なくとも一方に接するように配置される、区画貫通処理構造。
[2]前記シート状部材は、基材、粘着層、クッション層及び耐火材層からなる群から選ばれる少なくとも1種の層を有する、[1]に記載の区画貫通処理構造。
[3]前記シート状部材が、前記基材及び前記耐火材層を有する、[2]に記載の区画貫通処理構造。
[4]前記シート状部材は、前記延在部の一部に積層物を有する、[1]~[3]のいずれかに記載の区画貫通処理構造。
[5]前記積層物が前記挿通体及び前記仕切り部の少なくとも一方に接するように配置される、[4]に記載の区画貫通処理構造。
[6]前記区画貫通部の内部に挿通体以外に、何も設けられない、[1]~[5]のいずれかに記載の区画貫通処理構造。
[7]前記区画貫通部の内部に挿通体以外に、前記延在部が配置されている、[1]~[5]のいずれかに記載の区画貫通処理構造。
[8]前記シート状部材は、切込みによる切片を有し、前記切片が前記挿通体に沿って配置される、[1]~[7]のいずれかに記載の区画貫通処理構造。
[9]前記シート状部材の延在部が、前記シート状部材のスリットと異なるパターンのスリットを有する、又はスリットを有さない、[1]~[8]のいずれかに記載の区画貫通処理構造。
[10]前記シート状部材が、前記仕切り部の両側に設けられる[1]~[9]のいずれかに記載の区画貫通処理構造。
[11]前記シート状部材と前記挿通体との間の間隙の少なくとも一部を塞ぐ耐火充填材をさらに備える、[1]~[10]のいずれかに記載の区画貫通処理構造。
[12]前記シート状部材と前記挿通体との間の間隙の少なくとも一部を塞ぐカバー部材をさらに備える、[1]~[11]のいずれかに記載の区画貫通処理構造。
[13]前記シート状部材及び前記カバー部材の少なくともいずれかが、粘着層又は粘着性を有する耐火材層、外周側から巻かれた紐状部材又は粘着テープ、外側から設置された固定部材、及び、前記カバー部材に形成された切込みによる固定片の少なくともいずれかによって、前記挿通体及び前記仕切り部に固定される、[12]に記載の区画貫通処理構造。
[14]前記シート状部材が前記カバー部材で覆われ、前記シート状部材の端面及び表面の少なくともいずれかが外部から視認可能である、[12]又は[13]に記載の区画貫通処理構造。
[15]前記シート状部材と前記カバー部材との間に空隙がある、[12]~[14]のいずれかに記載の区画貫通処理構造。
[16]建築物の仕切り部に形成され、かつ内部に長尺の挿通体が挿通される区画貫通部を耐火構造とする区画貫通処理材であって、前記挿通体に沿って配置され、前記仕切り部に設けられる前記区画貫通部の開口と前記挿通体との間の間隙の少なくとも一部を塞ぐ多層構造のシート状部材を備え、前記シート状部材は、多層構造を構成する層の一部の層が他の層より延在する延在部を有し、前記延在部が前記挿通体及び前記仕切り部の少なくとも一方に接するように配置される、区画貫通処理材。
【発明の効果】
【0010】
本発明によれば、耐火性能のバラつきを低減し、かつ耐火性能を向上させることができる区画貫通処理構造及び区画貫通処理材を提供することができる。
【図面の簡単な説明】
(【0011】以降は省略されています)
この特許をJ-PlatPat(特許庁公式サイト)で参照する
関連特許
積水化学工業株式会社
継手
1か月前
積水化学工業株式会社
複層管
11日前
積水化学工業株式会社
樹脂管
4日前
積水化学工業株式会社
集合継手
今日
積水化学工業株式会社
解析方法
4日前
積水化学工業株式会社
段ボール
19日前
積水化学工業株式会社
配管構造
4日前
積水化学工業株式会社
積層構造体
4日前
積水化学工業株式会社
耐火処理構造
5日前
積水化学工業株式会社
耐火処理構造
5日前
積水化学工業株式会社
遺伝子導入方法
12日前
積水化学工業株式会社
両面粘着テープ
4日前
積水化学工業株式会社
両面粘着テープ
4日前
積水化学工業株式会社
螺旋管の製管装置
7日前
積水化学工業株式会社
更生管の製管方法
5日前
積水化学工業株式会社
螺旋管の製管装置
7日前
積水化学工業株式会社
仮固定粘着テープ
1か月前
積水化学工業株式会社
防食用粘着テープ
今日
積水化学工業株式会社
熱伝導性樹脂組成物
11日前
積水化学工業株式会社
ジオポリマー組成物
25日前
積水化学工業株式会社
樹脂組成物、放熱部材
4日前
積水化学工業株式会社
床の施工方法及び建築物
4日前
積水化学工業株式会社
継手構造および接続構造
4日前
積水化学工業株式会社
複層管、および配管構造
1か月前
積水化学工業株式会社
集合継手及び排水システム
4日前
積水化学工業株式会社
生産管理システムおよび方法
5日前
積水化学工業株式会社
生産管理システムおよび方法
5日前
積水化学工業株式会社
膜付き基材の製造方法及び粉体
7日前
積水化学工業株式会社
集合継手及び集合継手の製造方法
4日前
積水化学工業株式会社
継手、配管構造、配管の施工方法
5日前
積水化学工業株式会社
プログラム及び情報処理システム
7日前
積水化学工業株式会社
メタサーフェスシート及び窓構造
7日前
積水化学工業株式会社
接着性樹脂組成物、及び、仮固定材
7日前
積水化学工業株式会社
粒体、地盤改良材及び地盤改良方法
今日
積水化学工業株式会社
マスターバッチ、及びその製造方法
4日前
積水化学工業株式会社
区画貫通処理構造及び区画貫通処理材
12日前
続きを見る
他の特許を見る